TOP
|
特許
|
意匠
|
商標
特許ウォッチ
Twitter
他の特許を見る
10個以上の画像は省略されています。
公開番号
2025140979
公報種別
公開特許公報(A)
公開日
2025-09-29
出願番号
2024040656
出願日
2024-03-15
発明の名称
虚像表示装置及び光学ユニット
出願人
セイコーエプソン株式会社
代理人
個人
,
個人
主分類
G02B
27/02 20060101AFI20250919BHJP(光学)
要約
【課題】一度に深度方向の複数位置に虚像を表示させること。
【解決手段】虚像表示装置100A,100Bは、第1画像PP1と第2画像PP2とに対応する映像光MLを、空間的に細分化して空間的に交互に射出し又は時間的に交互に射出する表示器11と、表示器11に対向して配置され、第1画像PP1に対応する映像光MLを第1円偏光C1とし、第2画像PP2に対応する映像光MLを第2円偏光C2とする偏光変換装置23と、第1偏光方向D1の直線偏光に対応する第1円偏光C1に対して正のパワーを持ち、第2偏光方向D2の直線偏光に対応する第2円偏光C2に対して負のパワーを持つ偏光回折レンズ24と、正のパワーを持ち、偏光回折レンズ24を経た映像光MLによる虚像を形成する結像レンズ25とを備える。
【選択図】図2
特許請求の範囲
【請求項1】
第1画像と第2画像とに対応する映像光を、空間的に細分化して空間的に交互に射出し又は時間的に交互に射出する表示器と、
前記表示器の光射出側に配置され、第1円偏光に対して正のパワーを持ち第2円偏光に対して負のパワーを持つ偏光回折レンズと、正のパワーを持つ結像レンズとを有する虚像光学系と、
を備え、
前記虚像光学系は、前記第1画像に対応する映像光を前記第1円偏光として前記偏光回折レンズに入射させ、前記2画像に対応する映像光を前記第2円偏光として前記偏光回折レンズに入射させることにより、前記第1画像及び前記第2画像の虚像を異なる位置に形成する、
虚像表示装置。
続きを表示(約 1,400 文字)
【請求項2】
前記表示器は、前記第1画像を構成する多数の要素と前記第2画像を構成する多数の要素とを空間的に交互に形成することによって前記映像光を射出し、
前記虚像光学系は、前記表示器からの順で、偏光変換装置と、前記偏光回折レンズと、前記結像レンズとを有し、
前記偏光変換装置は、前記表示器からの順で、前記第1画像を構成する多数の要素と前記第2画像を構成する多数の要素とに対応して偏光方向が互いに直交する第1偏光方向と第2偏光方向とにそれぞれ設定された多数の偏光素子を2次元的に配列してなる偏光板と、前記第1偏光方向の直線偏光を前記第1円偏光とし前記第2偏光方向の直線偏光を前記第2円偏光とする1/4波長板とを有する、
請求項1に記載の虚像表示装置。
【請求項3】
前記偏光板において、前記第1偏光方向の偏光素子と、前記第2偏光方向の偏光素子とが、チェックパターン状に交互に配列されている、
請求項2に記載の虚像表示装置。
【請求項4】
前記偏光板において、前記第1偏光方向の偏光素子と、前記第2偏光方向の偏光素子とが、ストライプパターン状に交互に配列されている、
請求項2に記載の虚像表示装置。
【請求項5】
前記表示器は、前記第1画像と前記第2画像とを時間的に交互に形成することによって前記映像光を射出し、
前記虚像光学系は、前記表示器からの順で、偏光変換装置と、前記偏光回折レンズと、前記結像レンズとを有し、
前記偏光変換装置は、前記表示器からの順で、偏光方向が第1偏光方向に設定された偏光板と、時分割でオン・オフ動作し、オン状態で前記第1偏光方向の直線偏光を前記第1偏光方向と交差する第2偏光方向の直線偏光にする可変波長板と、1/4波長板とを有する、
請求項1に記載の虚像表示装置。
【請求項6】
前記表示器は、前記第1画像と前記第2画像とを時間的に交互に形成することによって、前記映像光を第1偏光方向の直線偏光として射出し、
前記虚像光学系は、前記表示器からの順で、前記偏光回折レンズと、偏光変換装置と、前記結像レンズとを有し、
前記偏光変換装置は、前記偏光回折レンズからの順で、前記偏光回折レンズを経た前記第2円偏光を直線偏光に戻す1/4波長板と、時分割でオン・オフ動作し、オン状態で前記第1偏光方向の直線偏光を前記第1偏光方向と交差する第2偏光方向の直線偏光にする可変波長板と、偏光板とを有する、
請求項1に記載の虚像表示装置。
【請求項7】
前記偏光回折レンズの前記負のパワーと、前記結像レンズの前記正のパワーとを合成したパワーは、正の値である、
請求項1に記載の虚像表示装置。
【請求項8】
前記偏光回折レンズは、前記表示器からの前記映像光のうち前記第1円偏光である左円偏光を前記第2円偏光である右円偏光にする、
請求項1に記載の虚像表示装置。
【請求項9】
前記偏光回折レンズは、前記表示器からの前記映像光のうち前記第1円偏光である右円偏光を前記第2円偏光である左円偏光にする、
請求項1に記載の虚像表示装置。
【請求項10】
前記結像レンズからの前記映像光を瞳位置に向けて反射する透過型ミラーをさらに備える、
請求項1に記載の虚像表示装置。
(【請求項11】以降は省略されています)
発明の詳細な説明
【技術分野】
【0001】
本発明は、虚像の観察を可能にする虚像表示装置及び光学ユニットに関し、特に異なる焦点にある映像を同時に見せる虚像表示装置等に関する。
続きを表示(約 2,100 文字)
【背景技術】
【0002】
頭部装着型表示装置として、虚像位置を深度方向に移動させるため、表示装置および通電状態により焦点距離が変化する複数枚の光学素子を持ち、少なくともどちらかを光軸方向に移動させる駆動機構を持つものが公知となっている(特許文献1参照)。
【先行技術文献】
【特許文献】
【0003】
特開2023-135728号公報
【発明の概要】
【発明が解決しようとする課題】
【0004】
上記特許文献1に記載の頭部装着型表示装置では、深度方向の異なる位置に虚像を表示させることができるが、駆動機構によってある特定の位置と別の位置とに虚像を移動させるだけであり、一度に深度方向の複数位置に虚像を表示させることはできない。つまり、ユーザーが注視する位置が変わるたびに虚像の位置を調整する必要がある。
【課題を解決するための手段】
【0005】
本発明の一側面における虚像表示装置及び光学ユニットは、第1画像と第2画像とに対応する映像光を、空間的に細分化して空間的に交互に射出し又は時間的に交互に射出する表示器と、前記表示器の光射出側に配置され、第1円偏光に対して正のパワーを持ち第2円偏光に対して負のパワーを持つ偏光回折レンズと、正のパワーを持つ結像レンズとを有する虚像光学系とを備え、前記虚像光学系は、前記第1画像に対応する映像光を前記第1円偏光として前記偏光回折レンズに入射させ、前記2画像に対応する映像光を前記第2円偏光として前記偏光回折レンズに入射させることにより、前記第1画像及び前記第2画像の虚像を異なる位置に形成する。
【図面の簡単な説明】
【0006】
第1実施形態の虚像表示装置の装着状態を説明する外観の正面図である。
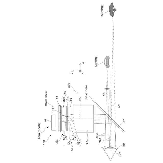
虚像表示装置の構造を説明する断面図である。
表示器及び偏向板を説明する図である。
偏光回折レンズの機能を説明する概念的な斜視図である。
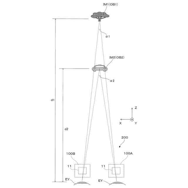
第1虚像表示装置によって形成される虚像を説明する概念図である。
第1虚像表示装置によって処理される画像を説明する概念図である。
第1虚像表示装置と第2虚像表示装置とによる輻輳角を説明する図である。
第2実施形態の虚像表示装置を説明する側方断面図である。
第3実施形態の虚像表示装置を説明する側方断面図である。
第4実施形態の虚像表示装置を説明する側方断面図である。
【発明を実施するための形態】
【0007】
〔第1実施形態〕
以下、図1~3等を参照して、本発明に係る虚像表示装置の第1実施形態について説明する。
【0008】
図1は、ヘッドマウントディスプレイ、すなわち頭部装着型表示装置200の装着状態を説明する正面図である。頭部装着型表示装置(以下、HMDとも称する。)200は、これを装着する観察者又は装着者USに虚像としての映像を認識させる。図1等において、X、Y、及びZは、直交座標系であり、+X方向は、HMD200を装着した観察者又は装着者USの両眼EYの並ぶ横方向に対応し、+Y方向は、装着者USにとっての両眼EYの並ぶ横方向に直交する上方向に相当し、+Z方向は、装着者USにとっての前方向又は正面方向に相当する。±Y方向は、鉛直軸又は鉛直方向に平行になっている。
【0009】
HMD200は、右眼用の第1虚像表示装置100Aと、左眼用の第2虚像表示装置100Bと、虚像表示装置100A,100Bを支持する一対のテンプル100Cと、情報端末であるユーザー端末90とを備える。第1虚像表示装置100Aは、上部に配置される第1表示駆動部102aと、眼前を覆う第1透過型ミラー103aとで構成される。第2虚像表示装置100Bは、上部に配置される第2表示駆動部102bと、眼前を覆う第2透過型ミラー103bとで構成される。第1虚像表示装置100Aと、第2虚像表示装置100Bとを組み合わせたHMD200は、広義の虚像表示装置でもある。一対のテンプル100Cは、装着者USの頭部に装着される装着部材又は支持装置106であり、外観上一体化されている表示駆動部102a,102bを介して一対の透過型ミラー103a,103bの上端側を支持している。一対の表示駆動部102a,102bを組み合わせたものを駆動装置102と呼ぶ。
【0010】
図2は、第1表示駆動部102aに組み込まれた結像系等の構造を説明する側面図である。第1表示駆動部102aは、表示器11と、偏光変換装置23と、偏光回折レンズ24と、結像レンズ25と、表示制御装置88とを備える。第1表示駆動部102aのうち、偏光変換装置23と、偏光回折レンズ24と、結像レンズ25とを組み合わせたものを虚像光学系20aと呼ぶ。虚像光学系20aと第1透過型ミラー103aとを組み合わせたものを結像光学系20bと呼ぶ。
(【0011】以降は省略されています)
この特許をJ-PlatPat(特許庁公式サイト)で参照する
関連特許
キヤノン株式会社
映像表示装置
12日前
インターマン株式会社
立体映像表示装置
12日前
個人
透過型及び反射型顕微鏡
12日前
東レ株式会社
プラスチック光ファイバ
22日前
キヤノン株式会社
画像表示装置
20日前
キヤノン株式会社
レンズ装置および撮像装置
今日
レーザーテック株式会社
検査装置及び検査方法
2日前
キヤノン株式会社
表示装置
5日前
株式会社小糸製作所
画像投影装置
12日前
日東電工株式会社
光学積層体
13日前
キヤノン株式会社
光学系及び撮像装置
6日前
株式会社小糸製作所
画像生成装置
21日前
東レ株式会社
先端に凸面を有する光ファイバ
12日前
株式会社小糸製作所
画像投影装置
13日前
KDDI株式会社
光増幅器
12日前
KDDI株式会社
光増幅器
12日前
セイコーエプソン株式会社
虚像表示装置
2日前
住友化学株式会社
複合偏光板及び画像表示装置
今日
株式会社フォトニックラティス
透過型光学顕微鏡
6日前
株式会社キーエンス
観察装置
22日前
レーザーテック株式会社
波長変換装置及び波長変換方法
6日前
遠視界科技股分有限公司
高視野角拡大装置
14日前
TOPPANホールディングス株式会社
調光シート
14日前
キヤノン株式会社
映像表示装置
2日前
TOPPANホールディングス株式会社
調光シート
14日前
日本碍子株式会社
導波素子の製造方法
5日前
大日本印刷株式会社
レンズアレイ及び表示装置
22日前
富士フイルム株式会社
レンズ装置
2日前
日東電工株式会社
偏光フィルム
20日前
国立大学法人徳島大学
マイクロ光共振器、及び光周波数コム発生装置
12日前
株式会社ニコン
光学系、光学機器及び光学系の製造方法
13日前
国立大学法人徳島大学
マイクロ光共振器、及び光周波数コム発生装置
12日前
国立大学法人徳島大学
マイクロ光共振器、及び光周波数コム発生装置
12日前
国立大学法人徳島大学
マイクロ光共振器、及び光周波数コム発生装置
12日前
株式会社ニコン
光学系、光学機器及び光学系の製造方法
13日前
住友化学株式会社
粘着剤付き偏光板及び表示装置
22日前
続きを見る
他の特許を見る