TOP
|
特許
|
意匠
|
商標
特許ウォッチ
Twitter
他の特許を見る
10個以上の画像は省略されています。
公開番号
2025141120
公報種別
公開特許公報(A)
公開日
2025-09-29
出願番号
2024040894
出願日
2024-03-15
発明の名称
スクリーンの製造方法
出願人
セイコーエプソン株式会社
代理人
個人
,
個人
,
個人
主分類
G03B
21/60 20140101AFI20250919BHJP(写真;映画;光波以外の波を使用する類似技術;電子写真;ホログラフイ)
要約
【課題】光拡散性に優れるスクリーンの製造方法を提供する。
【解決手段】本発明のスクリーンの製造方法は、硬化後に透光性を有する光硬化型または熱硬化型の液状樹脂と、凹凸形成面を有する成形型と、を用意する工程と、成形型の凹凸形成面上に液状樹脂を配置する工程と、凹凸形成面上に液状樹脂が配置された状態の成形型を密閉容器に収容し、密閉容器内を減圧雰囲気とする工程と、密閉容器内を減圧雰囲気とした後、液状樹脂の内部に気泡が含有されている状態で光または熱を加えて液状樹脂を硬化させ、気泡を含有した固体状樹脂からなる透光性樹脂部を形成する工程と、を備える。
【選択図】図3
特許請求の範囲
【請求項1】
透光性樹脂部と基材とを備えるスクリーンの製造方法であって、
硬化後に透光性を有する光硬化型または熱硬化型の液状樹脂と、凹凸形成面を有する成形型と、を用意する工程と、
前記成形型の前記凹凸形成面上に前記液状樹脂を配置する工程と、
前記凹凸形成面上に前記液状樹脂が配置された状態の前記成形型を密閉容器に収容し、前記密閉容器内を減圧雰囲気とする工程と、
前記密閉容器内を減圧雰囲気とした後、前記液状樹脂の内部に気泡が含有されている状態で光または熱を加えて前記液状樹脂を硬化させ、前記気泡を含有した固体状樹脂からなる前記透光性樹脂部を形成する工程と、
を備える、スクリーンの製造方法。
続きを表示(約 1,200 文字)
【請求項2】
前記成形型が前記基材であり、
前記液状樹脂を硬化させた後、前記固体状樹脂から前記成形型を離型しない、請求項1に記載のスクリーンの製造方法。
【請求項3】
前記成形型が金型であり、
前記液状樹脂を硬化させた後、前記固体状樹脂から前記成形型を離型する工程と、
前記透光性樹脂部に前記基材を接合する工程と、
をさらに備える、請求項1に記載のスクリーンの製造方法。
【請求項4】
前記液状樹脂が熱硬化型の液状樹脂であり、
金属部材を用意する工程と、
前記成形型の前記凹凸形成面上に前記液状樹脂を配置した後、前記液状樹脂の表面に前記金属部材を当接させる工程と、
前記液状樹脂を硬化させた後、前記固体状樹脂から前記金属部材を取り外す工程と、
をさらに備え、
前記液状樹脂を硬化させる工程において、前記成形型および前記金属部材を当接させた前記液状樹脂に熱を加える、請求項3に記載のスクリーンの製造方法。
【請求項5】
前記凹凸形成面がフレネルレンズ形状を有する、請求項1から請求項4までのいずれか一項に記載のスクリーンの製造方法。
【請求項6】
前記透光性樹脂部を支持する支持部材を用意する工程と、
前記成形型の前記凹凸形成面上に前記液状樹脂が配置された状態で前記液状樹脂の表面に前記支持部材を当接させる工程と、
をさらに備える、請求項1から請求項4までのいずれか一項に記載のスクリーンの製造方法。
【請求項7】
前記支持部材は、前記凹凸形成面の凹凸の延在方向と交差する方向に延在する凹凸形成用パターンを有し、
前記液状樹脂に前記支持部材を当接させる工程において、前記液状樹脂に前記凹凸形成用パターンを当接させ、
前記液状樹脂を硬化させた後、前記固体状樹脂から前記支持部材を離型する工程をさらに備える、請求項6に記載のスクリーンの製造方法。
【請求項8】
前記液状樹脂が光硬化型の液状樹脂であり、
前記支持部材が透光性を有し、
前記液状樹脂を硬化させる工程において、前記支持部材を介して前記液状樹脂に光を照射し、前記液状樹脂を硬化させる、請求項6に記載のスクリーンの製造方法。
【請求項9】
前記基材と前記透光性樹脂部とが互いに当接する境界面に反射膜を成膜する工程をさらに備える、請求項1から請求項4までのいずれか一項に記載のスクリーンの製造方法。
【請求項10】
前記液状樹脂を硬化させる前に、前記液状樹脂に前記気泡を注入する工程をさらに備える、請求項1から請求項4までのいずれか一項に記載のスクリーンの製造方法。
(【請求項11】以降は省略されています)
発明の詳細な説明
【技術分野】
【0001】
本発明は、スクリーンの製造方法に関する。
続きを表示(約 2,600 文字)
【背景技術】
【0002】
投射装置から投射される投射光を反射し、観察側に画像を表示する反射型スクリーンが従来から知られている。この種の反射型スクリーンとして、円弧状の複数の反射面を同心円状に配列したフレネルレンズ部を有するスクリーンが提案されている。このスクリーンによれば、投射装置からスクリーンに対して斜めに入射した投射光をフレネルレンズ部の効果によって一定の方向、すなわち観察者が存在する方向に向けて反射させることができる。下記の特許文献1に、光拡散粒子を含む樹脂組成物からなるフレネルレンズ層と、反射層と、を備える反射型スクリーンが開示されている。
【先行技術文献】
【特許文献】
【0003】
特開2015-69150号公報
【発明の概要】
【発明が解決しようとする課題】
【0004】
特許文献1には、フレネルレンズ層の母材として、アクリル樹脂等の熱可塑性樹脂、または、メタクリル酸エステル類等の熱硬化性樹脂を用いる例が記載されている。また、フレネルレンズ層に含有させる透明性が高い光拡散粒子として、硫酸バリウム、ガラス等の無機材料微粒子、または、メラミン、アクリル等の有機材料微粒子を用いる例が記載されている。
【0005】
上記材料の組み合わせを考えると、特許文献1のフレネルレンズ層においては、フレネルレンズ層の母材と光拡散粒子との屈折率差が小さく、十分な光拡散効果が得られない、という課題がある。また、母材と光拡散粒子との屈折率差を大きくしようとすると、各材料の選定の自由度が小さくなり、良好な光拡散機能を有するスクリーンの製造が難しい、という課題がある。以上、反射型スクリーンの例を挙げて説明したが、上記の課題は透過型スクリーンにも共通の問題である。
【課題を解決するための手段】
【0006】
上記の課題を解決するために、本発明の一つの態様のスクリーンの製造方法は、透光性樹脂部と基材とを備えるスクリーンの製造方法であって、硬化後に透光性を有する光硬化型または熱硬化型の液状樹脂と、凹凸形成面を有する第1成形型と、を用意する工程と、前記第1成形型の前記凹凸形成面上に前記液状樹脂を配置する工程と、前記凹凸形成面上に前記液状樹脂が配置された状態の前記第1成形型を密閉容器に収容し、前記密閉容器内を減圧雰囲気とする工程と、前記密閉容器内を減圧雰囲気とした後、前記液状樹脂の内部に気泡が含有されている状態で光または熱を加えて前記液状樹脂を硬化させ、前記気泡を含有した固体状樹脂からなる前記透光性樹脂部を形成する工程と、を備える。
【図面の簡単な説明】
【0007】
第1実施形態の投射システムの概略構成図である。
第1実施形態のスクリーンの正面図である。
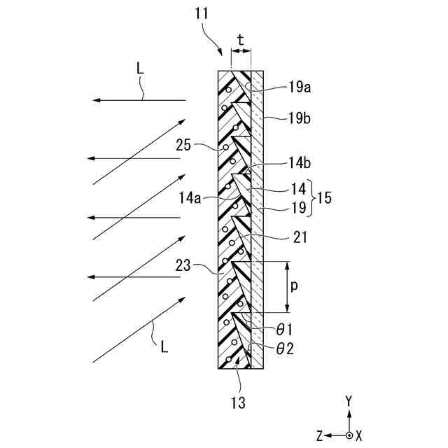
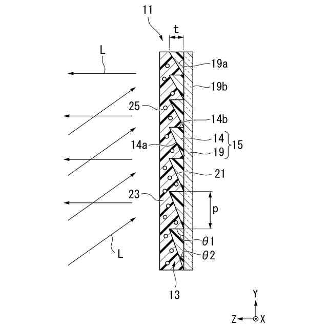
図2のIII-III線に沿うスクリーンの断面図である。
第1実施形態のスクリーンの製造方法における一工程を示す図である。
図4Aの次の工程を示す図である。
図4Bの次の工程を示す図である。
図4Cの次の工程を示す図である。
図4Dの次の工程を示す図である。
図4Eの次の工程を示す図である。
第2実施形態のスクリーンの製造方法における一工程を示す図である。
第3実施形態のスクリーンの製造方法における一工程を示す図である。
図6Aの次の工程を示す図である。
図6Bの次の工程を示す図である。
図6Cの工程を経た後のスクリーンを示す断面図である。
第4実施形態のスクリーンの製造方法における一工程を示す図である。
第5実施形態のスクリーンの製造方法における一工程を示す図である。
図8Aの次の工程を示す図である。
図8Bの次の工程を示す図である。
図8Cの次の工程を示す図である。
図8Dの次の工程を示す図である。
第6実施形態のスクリーンの製造方法における一工程を示す図である。
図9Aの次の工程を示す図である。
図9Bの次の工程を示す図である。
【発明を実施するための形態】
【0008】
[第1実施形態]
以下、本発明の第1実施形態について、図面を用いて説明する。
以下の各図面においては各構成要素を見やすくするため、構成要素によって寸法の縮尺を異ならせて示すことがある。
【0009】
図1は、本実施形態の投射システム10の概略構成図である。
図1に示すように、本実施形態の投射システム10は、反射型スクリーン11と、投射装置12と、を備える。以下、反射型スクリーン11を単にスクリーン11と称する。投射装置12は、スクリーン11に向けて投射光Lを投射する。スクリーン11は、投射装置12から投射される投射光Lを反射して観察側に画像を表示する。スクリーン11は、フレネルレンズ部13を備え、投射装置12からスクリーン11に対して斜めに入射する投射光Lをフレネルレンズ部13の作用により観察者が存在する方向に向けて平行に反射する。以下の説明では、スクリーン11の水平方向に沿う軸をX軸とし、スクリーン11の垂直方向に沿う軸をY軸とし、スクリーン11の正面方向に沿う軸をZ軸とする。すなわち、観察者から見て、左右方向がX軸方向に対応し、上下方向がY軸方向に対応し、奥行方向がZ軸方向に対応する。
【0010】
図2は、スクリーン11の正面図である。
図2に示すように、スクリーン11は、X軸方向の長さがY軸方向の長さよりも長い長方形状の形状を有する。スクリーン11は、図2の紙面の手前側に突出する複数の凸部14を備える。複数の凸部14は、半径が互いに異なる円弧状の形状を有する。複数の凸部14は、円弧状の凸部14が同心円状に配列されたフレネルレンズ部13、いわゆるサーキュラー型のフレネルレンズ部を構成する。フレネルレンズ部13は、複数の凸部14のそれぞれが投射装置12から射出される投射光Lを観察者側に向けて反射する。
(【0011】以降は省略されています)
この特許をJ-PlatPat(特許庁公式サイト)で参照する
関連特許
株式会社シグマ
絞りユニット
14日前
平和精機工業株式会社
雲台
1か月前
キヤノン株式会社
撮像装置
13日前
キヤノン株式会社
撮像装置
27日前
キヤノン株式会社
撮像装置
7日前
株式会社リコー
画像形成装置
21日前
株式会社リコー
画像形成装置
1か月前
株式会社リコー
画像形成装置
1か月前
株式会社リコー
画像形成装置
3日前
株式会社リコー
画像形成装置
2か月前
株式会社リコー
画像形成装置
1か月前
株式会社リコー
画像形成装置
1か月前
シャープ株式会社
画像形成装置
1か月前
キヤノン株式会社
画像形成装置
2か月前
キヤノン株式会社
画像形成装置
1か月前
キヤノン株式会社
画像形成装置
1か月前
株式会社オプトル
プロジェクタ
1か月前
キヤノン株式会社
画像形成装置
1か月前
株式会社オプトル
プロジェクタ
6日前
キヤノン株式会社
トナー
1か月前
キヤノン株式会社
画像形成装置
2か月前
キヤノン株式会社
画像形成装置
2か月前
キヤノン株式会社
画像形成装置
2か月前
キヤノン株式会社
画像形成装置
2か月前
ブラザー工業株式会社
再生方法
1か月前
株式会社シグマ
絞り機構及びレンズ鏡筒
1か月前
沖電気工業株式会社
画像形成装置
1か月前
アイホン株式会社
機器の設置構造
1か月前
興和株式会社
マウント構造
2か月前
アイホン株式会社
機器の設置構造
1か月前
株式会社リコー
画像投射装置
1か月前
株式会社リコー
画像形成装置
3日前
日本放送協会
光分布生成装置
1か月前
株式会社リコー
画像形成装置
2か月前
ブラザー工業株式会社
画像形成装置
23日前
ブラザー工業株式会社
画像形成装置
21日前
続きを見る
他の特許を見る