TOP
|
特許
|
意匠
|
商標
特許ウォッチ
Twitter
他の特許を見る
公開番号
2025145775
公報種別
公開特許公報(A)
公開日
2025-10-03
出願番号
2024046154
出願日
2024-03-22
発明の名称
プロジェクター
出願人
セイコーエプソン株式会社
代理人
個人
,
個人
,
個人
主分類
G03B
21/14 20060101AFI20250926BHJP(写真;映画;光波以外の波を使用する類似技術;電子写真;ホログラフイ)
要約
【課題】プロジェクターにおいて、不要光の光変調素子への照射を抑え、投射される画像の色再現性を高める。
【解決手段】実施形態のプロジェクターは、第1波長帯の第1光及び第2波長帯の第2光を射出する第1光源と、第1基材と第1基材に配置された第1反射膜とを有し、第1光源から射出される第1光及び第2光が入射する第1入射端と第1光を射出する第1射出端とを有する第1導光素子と、第1導光素子から射出される第1波長帯の光を画像情報に基づいて変調する第1光変調素子と、第1光変調素子から射出される光を投射する投射光学系と、を備える。第1導光素子の第2光に対する反射率は、第1光に対する反射率よりも低い。
【選択図】図1
特許請求の範囲
【請求項1】
第1波長帯の第1光及び第2波長帯の第2光を射出する第1光源と、
第1基材と前記第1基材に配置された第1反射膜とを有し、前記第1光源から射出される前記第1光及び前記第2光が入射する第1入射端と前記第1光を射出する第1射出端とを有する第1導光素子と、
前記第1導光素子から射出される前記第1波長帯の光を画像情報に基づいて変調する第1光変調素子と、
前記第1光変調素子から射出される光を投射する投射光学系と、
を備え、
前記第1導光素子の前記第2光に対する反射率は前記第1光に対する反射率よりも低い、
プロジェクター。
続きを表示(約 1,300 文字)
【請求項2】
第3波長帯の第3光及び第4波長帯の第4光を射出する第2光源と、
第5波長帯の第5光及び第6波長帯の第6光を射出する第3光源と、
第2基材と前記第2基材に配置された第2反射膜とを有し、前記第2光源から射出される前記第3光及び前記第4光が入射する第2入射端と前記第4光を射出する第2射出端とを有する第2導光素子と、
第3基材と前記第3基材に配置された第3反射膜とを有し、前記第3光源から射出される前記第5光及び前記第6光が入射する第3入射端と前記第1光を射出する第3射出端とを有する第3導光素子と、
前記第2導光素子から射出される前記第3波長帯の光を画像情報に基づいて変調する第2光変調素子と、
前記第3導光素子から射出される前記第5波長帯の光を画像情報に基づいて変調する第3光変調素子と、
をさらに備え、
前記第2導光素子の前記第4光に対する反射率は前記第3光に対する反射率よりも低く、
前記第3導光素子の前記第6光に対する反射率は前記第5光に対する反射率よりも低い、
請求項1に記載のプロジェクター。
【請求項3】
前記第1光は青色光であり、
前記第2光は前記第1光よりも短波長側の波長帯の青色光である、
請求項1又は請求項2に記載のプロジェクター。
【請求項4】
前記第1光源は蛍光層に励起光を照射することによって前記励起光を蛍光に変換し、前記蛍光を射出し、
前記第1光は前記励起光の一部から変換される前記蛍光であり、
前記第2光は前記励起光の他の一部である、
請求項1又は請求項2に記載のプロジェクター。
【請求項5】
前記第1光は青色光であり、
前記第3光は緑色光であり、
前記第5光は赤色光である、
請求項2に記載のプロジェクター。
【請求項6】
前記第1波長帯は467nmを含み、
前記第2波長帯は532nmを含み、
前記第3波長帯は630nmを含む、
請求項2に記載のプロジェクター。
【請求項7】
前記第1光源から射出される前記第2光の光量と前記第1射出端から射出される前記第2光の光量との光量差は、前記第1射出端から射出される前記第2光の光量よりも多い、
請求項1又は請求項2に記載のプロジェクター。
【請求項8】
前記第1導光素子の前記第2光に対する反射率は、前記第1導光素子の前記第2光に対する透過率よりも低い、
請求項1又は請求項2に記載のプロジェクター。
【請求項9】
前記第1導光素子の前記第2光に対する反射率は、前記第1導光素子の前記第2光に対する吸収率よりも低い、
請求項1又は請求項2に記載のプロジェクター。
【請求項10】
前記第1導光素子の前記第2光に対する反射率は、前記第1導光素子の前記第2光に対する透過率と吸収率との総和よりも低い、
請求項1又は請求項2に記載のプロジェクター。
(【請求項11】以降は省略されています)
発明の詳細な説明
【技術分野】
【0001】
本発明は、プロジェクターに関する。
続きを表示(約 2,100 文字)
【背景技術】
【0002】
従来、色光を射出する光源と、光源から射出される色光から画像光を生成する光変調素子と、光変調素子から射出される画像光を投射する投射光学系と、を備えるプロジェクターが知られている。プロジェクターには、光源及び光変調素子の数に応じて、例えば、単板式や3板式等の種類がある。例えば、特許文献1には、色光を射出する発光ダイオード(Light Emitting Diode;LED)と、LEDから入射する色光の明るさが均一になるように色光を射出端から射出するブロックと、ブロックから射出される色光の光源像を投射レンズの入射瞳に結像させるコンデンサーレンズと、色光を画像光に変調する光変調素子と、投射レンズと、を備える3板式のプロジェクターが開示されている。
【先行技術文献】
【特許文献】
【0003】
特開2000-180962号公報
【発明の概要】
【発明が解決しようとする課題】
【0004】
一般に、LEDから射出される色光の波長帯域は、レーザーダイオード(Laser Diode;LD)から射出されるレーザー光の波長帯域よりも広い。特許文献1に開示されている3板式のプロジェクターでは、光源としてLEDが用いられているため、画像形成に必要な色光に加えて画像形成に不要な波長帯の色光が光変調素子に入射する可能性があり、光変調素子の寿命に影響を与え、投射される画像の色再現性が低下する可能性がある。
【課題を解決するための手段】
【0005】
本発明の一つの態様のプロジェクターは、第1波長帯の第1光及び第2波長帯の第2光を射出する第1光源と、第1基材と第1基材に配置された第1反射膜とを有し、第1光源から射出される第1光及び第2光が入射する第1入射端と第1光を射出する第1射出端とを有する第1導光素子と、第1導光素子から射出される第1波長帯の光を画像情報に基づいて変調する第1光変調素子と、第1光変調素子から射出される光を投射する投射光学系と、を備える。第1導光素子の第2光に対する反射率は、第1光に対する反射率よりも低い。
【図面の簡単な説明】
【0006】
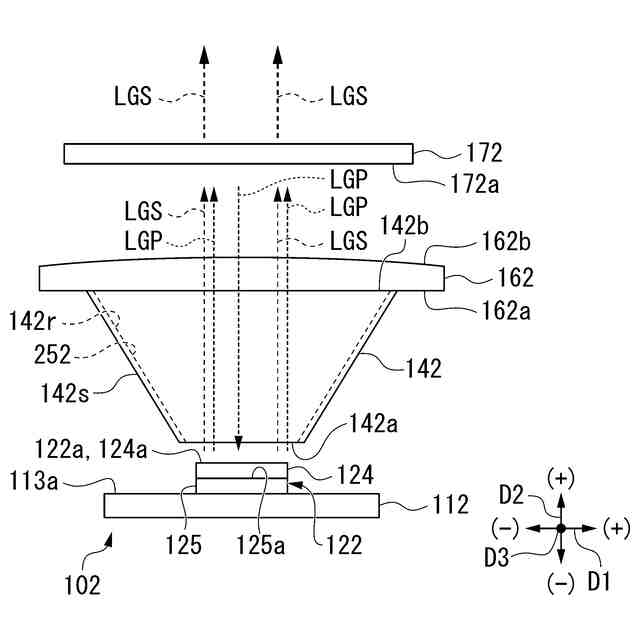
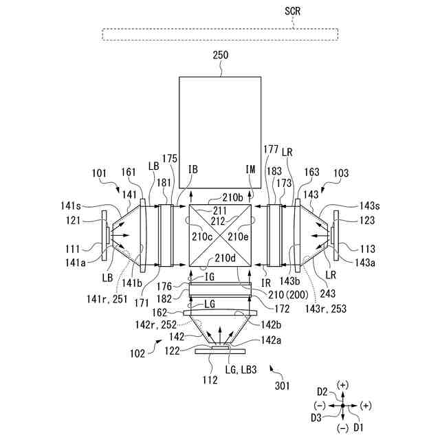
一実施形態のプロジェクターの構成を示す概略図である。
図1のプロジェクターの青色光射出部の導光素子の斜視図である。
図2の青色光射出部の光源と導光素子の側面図である。
図1のプロジェクターの緑色光射出部の概略図である。
図1のプロジェクターの緑色光射出部及び入射側偏光素子の側面図である。
一実施形態の第2変形例のプロジェクターの青色光射出部の導光素子の斜視図である。
【発明を実施するための形態】
【0007】
以下、本発明の実施形態について、図面を参照して説明する。各図面では、各構成要素を見やすくするために、構成要素によって寸法の縮尺が変更されている場合がある。
【0008】
先ず、本発明の一実施形態について、図1から図5を参照して説明する。図1は、本発明の一実施形態のプロジェクター301の構成を示す概略図である。プロジェクター301は、光変調装置として3枚の液晶パネルを備える画像表示装置であり、所謂、3板式のプロジェクターである。図1に示すように、プロジェクター301は、青色光射出部101と、緑色光射出部102と、赤色光射出部103と、入射側偏光素子171,172,173と、光変調素子181,182,183と、射出側偏光素子175,176,177と、光合成素子200と、投射光学系250と、を備える。
【0009】
青色光射出部101は、青色光LBを射出する。以下の説明では、青色光射出部101から射出される青色光LBの光軸に平行な軸を方向を、D1方向とする。D1方向における一方の側を-D1側とし、D1方向における-D1側とは反対側を+D1側とする。青色光LBの光軸を含む面内でD1方向に直交する方向を、D2方向とする。D2方向における一方の側を-D2側とし、D2方向における-D2側とは反対側を+D2側とする。D1方向及びD2方向に直交する方向をD3方向とする。青色光射出部101から射出された青色光LBは、D1方向に沿って+D1側に進行する。
【0010】
青色光射出部101は、光源121と、導光素子141と、平行化素子161と、を有する。光源121は、基板111に支持されている。光源121は、基板111においてD2方向及びD3方向を含む面に平行な板面のうちで+D1側の板面に設けられている。光源121の発光面は、D2方向及びD3方向を含む面に略平行に配置され、光源121において基板111の+D1側の板面に接する面とはD1方向で反対側の面である。光源121は、第1光源に相当し、可視波長帯における青色波長帯の青色光LBを射出する。青色光LBは、光源121の発光面の中心を通ってD1方向に平行な軸を中心として、所定の放射角に応じて、光源121の発光面から発散し、+D1側に射出される。
(【0011】以降は省略されています)
この特許をJ-PlatPat(特許庁公式サイト)で参照する
関連特許
セイコーエプソン株式会社
液体容器、印刷装置、印刷システム
4日前
株式会社シグマ
絞りユニット
19日前
キヤノン株式会社
撮像装置
1か月前
キヤノン株式会社
撮像装置
18日前
平和精機工業株式会社
雲台
1か月前
キヤノン株式会社
撮像装置
12日前
株式会社リコー
画像形成装置
8日前
株式会社リコー
画像形成装置
3か月前
株式会社リコー
画像形成装置
2か月前
株式会社リコー
画像形成装置
3か月前
株式会社リコー
画像形成装置
1か月前
株式会社リコー
画像形成装置
1か月前
株式会社リコー
画像形成装置
1か月前
株式会社リコー
画像形成装置
26日前
キヤノン株式会社
トナー
1か月前
キヤノン株式会社
画像形成装置
1か月前
シャープ株式会社
画像形成装置
1か月前
キヤノン株式会社
画像形成装置
2か月前
株式会社オプトル
プロジェクタ
1か月前
キヤノン株式会社
画像形成装置
2か月前
キヤノン株式会社
画像形成装置
2か月前
ブラザー工業株式会社
再生方法
1か月前
トヨタ自動車株式会社
撮像方法
3か月前
株式会社オプトル
プロジェクタ
11日前
キヤノン株式会社
トナー
3か月前
キヤノン株式会社
画像形成装置
2か月前
キヤノン株式会社
トナー
3か月前
キヤノン株式会社
画像形成装置
2か月前
キヤノン株式会社
画像形成装置
1か月前
キヤノン株式会社
画像形成装置
1か月前
キヤノン株式会社
トナー
4日前
興和株式会社
マウント構造
2か月前
株式会社シグマ
絞り機構及びレンズ鏡筒
1か月前
アイホン株式会社
機器の設置構造
1か月前
沖電気工業株式会社
画像形成装置
1か月前
アイホン株式会社
機器の設置構造
1か月前
続きを見る
他の特許を見る