TOP
|
特許
|
意匠
|
商標
特許ウォッチ
Twitter
他の特許を見る
公開番号
2025145774
公報種別
公開特許公報(A)
公開日
2025-10-03
出願番号
2024046153
出願日
2024-03-22
発明の名称
プロジェクター
出願人
セイコーエプソン株式会社
代理人
個人
,
個人
,
個人
主分類
G03B
21/14 20060101AFI20250926BHJP(写真;映画;光波以外の波を使用する類似技術;電子写真;ホログラフイ)
要約
【課題】プロジェクターにおいて、部品数を減らし、大型化を抑える。
【解決手段】実施形態のプロジェクターは、第1光を射出する第1光源と、第1光とは異なる波長帯の第2光を射出する第2光源と、第1光源からの第1光が入射する第1入射端と第1光を射出する第1射出端とを有する第1導光素子と、第2光源からの第2光が入射する第2入射端と第2光を射出する第2射出端とを有する第2導光素子と、第1導光素子からの第1光を画像情報に基づいて変調する第1光変調素子と、第2導光素子からの第2光を画像情報に基づいて変調する第2光変調素子と、第1光変調素子からの第1光と第2光変調素子からの第2光とを合成して射出する光合成素子と、光合成素子から射出される光を投射する投射光学系と、を備える。第2導光素子の分光反射率は、第1導光素子の分光反射率と同じである。
【選択図】図1
特許請求の範囲
【請求項1】
第1波長帯の第1光を射出する第1光源と、
前記第1波長帯とは異なる第2波長帯の第2光を射出する第2光源と、
前記第1光源から射出される前記第1光が入射する第1入射端と前記第1光を射出する第1射出端とを有する第1導光素子と、
前記第2光源から射出される前記第2光が入射する第2入射端と前記第2光を射出する第2射出端とを有する第2導光素子と、
前記第1導光素子から射出される前記第1光を画像情報に基づいて変調する第1光変調素子と、
前記第2導光素子から射出される前記第2光を画像情報に基づいて変調する第2光変調素子と、
前記第1光変調素子から射出される前記第1光と前記第2光変調素子から射出される前記第2光とを合成して射出する光合成素子と、
前記光合成素子から射出される光を投射する投射光学系と、
を備え、
前記第2導光素子の分光反射率は前記第1導光素子の分光反射率と同じである、
プロジェクター。
続きを表示(約 1,300 文字)
【請求項2】
前記第1波長帯及び前記第2波長帯とは異なる第3波長帯の第3光を射出する第3光源と、
前記第3光源から射出された前記第3光が入射する第3入射端と前記第3光を射出する第3射出端とを有する第3導光素子と、
前記第3導光素子から射出される前記第3光を画像情報に基づいて変調する第3光変調素子と、
をさらに備え、
前記光合成素子は前記第3光変調素子から射出される前記第3光をさらに合成して射出し、
前記第3導光素子の分光反射率は前記第1導光素子の分光反射率及び前記第2導光素子の分光反射率と同じである、
請求項1に記載のプロジェクター。
【請求項3】
前記第1光は青色光であり、
前記第2光は緑色光であり、
前記第3光は赤色光である、
請求項2に記載のプロジェクター。
【請求項4】
前記第1波長帯は467nmを含み、
前記第2波長帯は532nmを含み、
前記第3波長帯は630nmを含む、
請求項3に記載のプロジェクター。
【請求項5】
前記第1導光素子の分光反射率において反射率が最大である波長帯は555nmを含む、
請求項4に記載のプロジェクター。
【請求項6】
前記第1光源及び前記第2光源は窒化ガリウム系半導体材料を含み、
前記第3光源はアルミニウムガリウムインジウムリンを含み、
前記第1導光素子の分光反射率において反射率が最大である波長帯は赤色波長帯であり、
前記第2導光素子の分光反射率において反射率が最大である波長帯は赤色波長帯であり、
前記第3導光素子の分光反射率において反射率が最大である波長帯は赤色波長帯である、
請求項3又は請求項4に記載のプロジェクター。
【請求項7】
前記第1導光素子は前記第1光を反射する第1反射膜を有する複数の第1基材を有し、
前記第2導光素子は前記第2光を反射する第2反射膜を有する複数の第2基材を有し、
前記第3導光素子は前記第3光を反射する第3反射膜を有する複数の第3基材を有し、
前記第1反射膜、前記第2反射膜、及び、前記第3反射膜の分光反射率は同じである、
請求項2から請求項5の何れか一項に記載のプロジェクター。
【請求項8】
前記第1導光素子及び前記第2導光素子はアルミニウム、銀、ガラスのうちの少なくとも何れか1つを含む、
請求項1から請求項5の何れか一項に記載のプロジェクター。
【請求項9】
前記第1導光素子及び前記第2導光素子の形状は同じである、
請求項1から請求項5の何れか一項に記載のプロジェクター。
【請求項10】
前記第1導光素子の断面形状は矩形状であり、
前記第2導光素子の断面形状は矩形状である、
請求項9に記載のプロジェクター。
(【請求項11】以降は省略されています)
発明の詳細な説明
【技術分野】
【0001】
本発明は、プロジェクターに関する。
続きを表示(約 2,300 文字)
【背景技術】
【0002】
従来、3原色の各色光の画像光を生成する光変調装置として3枚の液晶パネルを備えるプロジェクター、すなわち3板式のプロジェクターが知られている。例えば、特許文献1には、光源部と分離合成素子とを有する光源装置と、照明光学系と、色分離合成光学系と、投射光学系と、を備えたプロジェクターが開示されている。光源部は、蛍光体の励起光を射出する。分離合成素子は、光源部から射出された光の一部を蛍光体に入射させ、光源部から射出された光の他の一部を拡散体に入射させて拡散体で反射させる。照明光学系は、光源装置から射出される光を照明する。色分離合成光学系は、照明光学系から射出される光に対して色分離及び色合成を行う。投射光学系は、色合成された画像光をスクリーン等の画像表示面に拡大投射する。
【先行技術文献】
【特許文献】
【0003】
特開2020-079820号公報
【発明の概要】
【発明が解決しようとする課題】
【0004】
特許文献1に開示されている3板式のプロジェクターでは、光源装置で白色光が生成された後に、光源装置よりも後段に配置されている色分離合成光学系によって白色光が色光毎に分離される。そのため、特許文献1に開示されているプロジェクターは、光源装置に加えて、色分離合成光学系をさらに備える必要がある。その結果、部品数が増え、プロジェクターの大型化につながる可能性がある。すなわち、3板式のプロジェクターにおいて、部品数を減らし、大型化を抑える対策が望まれている。
【課題を解決するための手段】
【0005】
本発明の一つの態様のプロジェクターは、第1波長帯の第1光を射出する第1光源と、第1波長帯とは異なる第2波長帯の第2光を射出する第2光源と、第1光源から射出された第1光が入射する第1入射端と第1光を射出する第1射出端とを有する第1導光素子と、第2光源から射出された第2光が入射する第2入射端と第2光を射出する第2射出端とを有する第2導光素子と、第1導光素子から射出される第1光を画像情報に基づいて変調する第1光変調素子と、第2導光素子から射出される第2光を画像情報に基づいて変調する第2光変調素子と、第1光変調素子から射出される第1光と第2光変調素子から射出される第2光とを合成して射出する光合成素子と、光合成素子から射出される光を投射する投射光学系と、を備える。第2反射膜の分光反射率は、第1反射膜の分光反射率と同じである。
【図面の簡単な説明】
【0006】
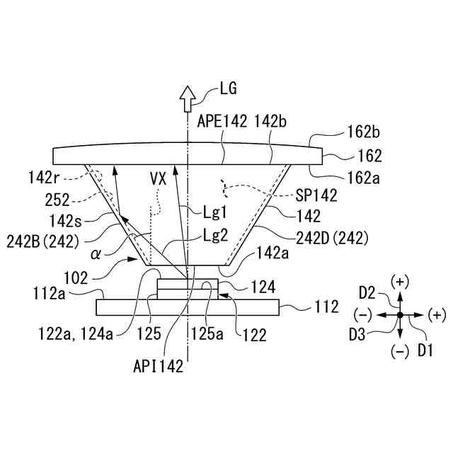
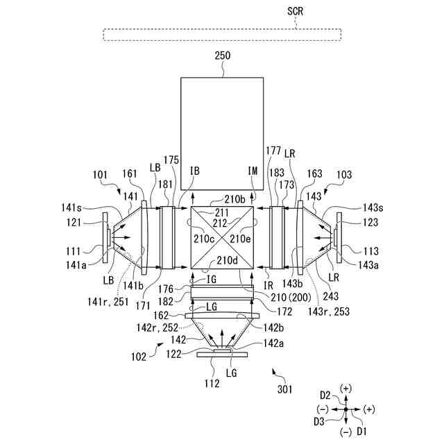
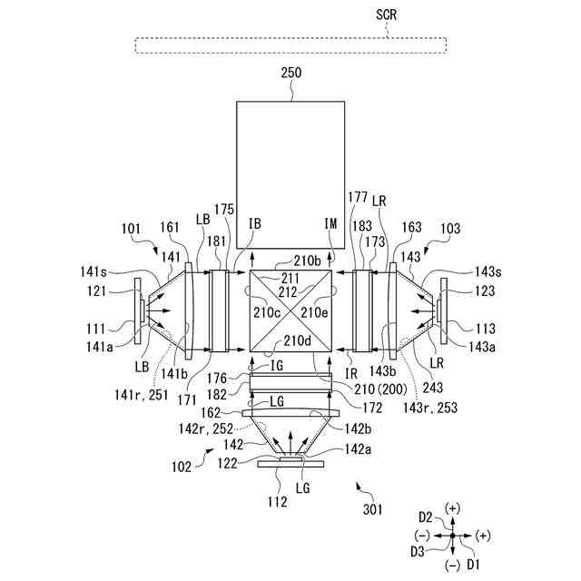
一実施形態のプロジェクターの構成を示す概略図である。
図1のプロジェクターの青色光射出部の導光素子の斜視図である。
図2の導光素子の板状部材及び反射膜に関する概略図である。
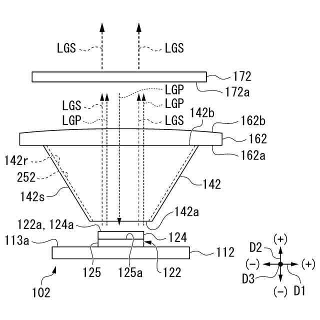
図1のプロジェクターの緑色光射出部の概略図である。
図1のプロジェクターの緑色光射出部及び入射側偏光素子の概略図である。
【発明を実施するための形態】
【0007】
以下、本発明の実施形態について、図面を参照して説明する。各図面では、各構成要素を見やすくするために、構成要素によって寸法の縮尺が変更されている場合がある。
【0008】
先ず、本発明の一実施形態について、図1から図5を参照して説明する。図1は、本発明の一実施形態のプロジェクター301の構成を示す概略図である。プロジェクター301は、光変調装置として3枚の液晶パネルを備える画像表示装置であり、所謂、3板式のプロジェクターである。図1に示すように、プロジェクター301は、青色光射出部101と、緑色光射出部102と、赤色光射出部103と、入射側偏光素子171,172,173と、光変調素子181,182,183と、射出側偏光素子175,176,177と、光合成素子200と、投射光学系250と、を備える。
【0009】
青色光射出部101は、青色光LBを射出する。以下の説明では、青色光射出部101から射出される青色光LBの光軸に平行な軸を方向を、D1方向とする。D1方向における一方の側を-D1側とし、D1方向における-D1側とは反対側を+D1側とする。青色光LBの光軸を含む面内でD1方向に直交する方向を、D2方向とする。D2方向における一方の側を-D2側とし、D2方向における-D2側とは反対側を+D2側とする。D1方向及びD2方向に直交する方向をD3方向とする。青色光射出部101から射出された青色光LBは、D1方向に沿って+D1側に進行する。
【0010】
青色光射出部101は、光源121と、導光素子141と、平行化素子161と、を有する。光源121は、基板111に支持されている。光源121は、基板111においてD2方向及びD3方向を含む面に平行な板面のうちで+D1側の板面に設けられている。光源121の発光面は、D2方向及びD3方向を含む面に略平行に配置され、光源121において基板111の+D1側の板面に接する面とはD1方向で反対側の面である。光源121は、第1光源に相当し、可視波長帯における青色波長帯の青色光LBを射出する。青色波長帯は、第1波長帯に相当する。青色光LBは、第1光に相当する。青色光LBは、光源121の発光面の中心を通ってD1方向に平行な軸を中心として、所定の放射角に応じて、光源121の発光面から発散し、+D1側に射出される。青色波長帯は、例えば、430nm~500nmの波長帯であり、好ましくは、467nmを含む。
(【0011】以降は省略されています)
この特許をJ-PlatPat(特許庁公式サイト)で参照する
関連特許
セイコーエプソン株式会社
印刷装置
7日前
セイコーエプソン株式会社
印刷装置
3日前
セイコーエプソン株式会社
印刷装置
5日前
セイコーエプソン株式会社
印刷装置
7日前
セイコーエプソン株式会社
ロボット
3日前
セイコーエプソン株式会社
印刷装置
7日前
セイコーエプソン株式会社
印刷装置
7日前
セイコーエプソン株式会社
印刷装置
3日前
セイコーエプソン株式会社
印刷装置
3日前
セイコーエプソン株式会社
印刷装置
4日前
セイコーエプソン株式会社
印刷装置
5日前
セイコーエプソン株式会社
印刷装置
4日前
セイコーエプソン株式会社
印刷装置
3日前
セイコーエプソン株式会社
気体分離膜
7日前
セイコーエプソン株式会社
微細化装置
4日前
セイコーエプソン株式会社
画像読取装置
7日前
セイコーエプソン株式会社
液体収容容器
3日前
セイコーエプソン株式会社
権限管理装置
3日前
セイコーエプソン株式会社
プロジェクター
3日前
セイコーエプソン株式会社
プロジェクター
3日前
セイコーエプソン株式会社
液体吐出ヘッド
7日前
セイコーエプソン株式会社
プロジェクター
3日前
セイコーエプソン株式会社
プロジェクター
3日前
セイコーエプソン株式会社
電子制御式機械時計
5日前
セイコーエプソン株式会社
垂直多関節ロボット
3日前
セイコーエプソン株式会社
栽培用培地の製造方法
4日前
セイコーエプソン株式会社
スクリーンの製造方法
7日前
セイコーエプソン株式会社
回路装置及び電子機器
3日前
セイコーエプソン株式会社
保持方法、及び加工方法
7日前
セイコーエプソン株式会社
治具、及び加工システム
7日前
セイコーエプソン株式会社
三次元造形物の製造方法
7日前
セイコーエプソン株式会社
インクジェットインク組成物
7日前
セイコーエプソン株式会社
電気光学装置および電子機器
7日前
セイコーエプソン株式会社
電気光学装置および電子機器
4日前
セイコーエプソン株式会社
虚像表示装置及び光学ユニット
7日前
セイコーエプソン株式会社
虚像表示装置及び光学ユニット
7日前
続きを見る
他の特許を見る