TOP
|
特許
|
意匠
|
商標
特許ウォッチ
Twitter
他の特許を見る
10個以上の画像は省略されています。
公開番号
2025140382
公報種別
公開特許公報(A)
公開日
2025-09-29
出願番号
2024039743
出願日
2024-03-14
発明の名称
電気光学装置および電子機器
出願人
セイコーエプソン株式会社
代理人
個人
,
個人
,
個人
主分類
G02F
1/13363 20060101AFI20250919BHJP(光学)
要約
【課題】コントラストを低下させることなく、リバースチルトドメインによる表示品位の低下を抑制できる電気光学装置を提供すること。
【解決手段】液晶装置300は、レンズ80と、対向電極20と、対向電極20とレンズ80との間に配置された位相差制御部材50と、を有し、光入射側に配置された対向基板200と、画素電極10と、導電層63と、画素電極10と導電層63との間に配置された位相差制御部材40と、を有し、光出射側に配置された素子基板100と、対向基板200と素子基板100との間に配置された液晶分子Lmと、を備え、位相差制御部材50および位相差制御部材40のうち、一方の位相差制御部材は、液晶分子Lmのプレチルト方位Lに沿った遅相軸を有し、他方の位相差制御部材は、液晶分子Lmのプレチルト方位Lと交差する方位に沿った遅相軸を有する。
【選択図】図5
特許請求の範囲
【請求項1】
レンズと、対向電極と、前記対向電極と前記レンズとの間に配置された第1位相差制御部材と、を有し、光入射側に配置された第1基板と、
画素電極と、配線と、前記画素電極と前記配線との間に配置された第2位相差制御部材と、を有し、光出射側に配置された第2基板と、
前記第1基板と前記第2基板との間に配置された液晶と、を備え、
前記第1位相差制御部材および前記第2位相差制御部材のうち、一方の位相差制御部材は、前記液晶のプレチルト方位に沿った遅相軸を有し、他方の位相差制御部材は、前記液晶のプレチルト方位と交差する方位に沿った遅相軸を有する、
電気光学装置。
続きを表示(約 820 文字)
【請求項2】
前記液晶のプレチルト方位と、前記第2位相差制御部材の遅相軸とがなす角度は、90°である、
請求項1に記載の電気光学装置。
【請求項3】
前記第1位相差制御部材および前記第2位相差制御部材は、それぞれ低屈折部材と、前記低屈折部材より屈折率が大きい高屈折部材とを有する、
請求項1に記載の電気光学装置。
【請求項4】
前記低屈折部材は、空気またはSiO
2
を含み、前記高屈折部材は、Al
2
O
3
またはHfO
2
を含む、
請求項3に記載の電気光学装置。
【請求項5】
前記第1位相差制御部材および前記第2位相差制御部材は、それぞれ第1蒸着膜と、前記第1蒸着膜とは反対方向から蒸着された第2蒸着膜とを有する、
請求項1に記載の電気光学装置。
【請求項6】
前記第1蒸着膜および前記第2蒸着膜は、それぞれTiO
2
である、
請求項5に記載の電気光学装置。
【請求項7】
第1基板と、
前記第1基板の光入射側に配置された第1位相差制御部材と、
画素電極と、配線と、前記画素電極と前記配線との間に配置された第2位相差制御部材と、を有し、前記第1基板の光出射側に配置された第2基板と、
前記第1基板と前記第2基板との間に配置された液晶と、を備え、
前記第1位相差制御部材および前記第2位相差制御部材のうち、一方の位相差制御部材は、前記液晶のプレチルト方位に沿った遅相軸を有し、他方の位相差制御部材は、前記液晶のプレチルト方位と交差する方位に沿った遅相軸を有する、
電気光学装置。
【請求項8】
請求項1乃至請求項7のいずれか一項に記載の電気光学装置を備えた電子機器。
発明の詳細な説明
【技術分野】
【0001】
本発明は、電気光学装置および電気光学装置を備えた電子機器に関する。
続きを表示(約 2,300 文字)
【背景技術】
【0002】
従来の電気光学装置としては、例えば、特許文献1に記載されたものが知られている。
特許文献1には、入射側の偏光板と液晶パネルとの間、および出射側の偏光板と液晶パネルとの間に、それぞれ位相差制御素子を配置して、画面の明るさ等に応じて、液晶パネルに入射させる光の偏光状態を、直線偏光、円偏光、または楕円偏光のいずれかとする透過型の液晶装置が記載されている。
【先行技術文献】
【特許文献】
【0003】
特開2023-124101号公報
【発明の概要】
【発明が解決しようとする課題】
【0004】
液晶パネルに入射させる光を円偏光または楕円偏光とした場合、リバースチルトドメインによる表示品位の低下を抑制できる反面、液晶パネルを通過する際に、配線の側面等で反射した光の偏光状態が変化することで光漏れが発生し、コントラストが低下する、という課題があった。
【課題を解決するための手段】
【0005】
本願の一態様に係る電気光学装置は、レンズと、対向電極と、前記対向電極と前記レンズとの間に配置された第1位相差制御部材と、を有し、光入射側に配置された第1基板と、画素電極と、配線と、前記画素電極と前記配線との間に配置された第2位相差制御部材と、を有し、光出射側に配置された第2基板と、前記第1基板と前記第2基板との間に配置された液晶と、を備え、前記第1位相差制御部材および前記第2位相差制御部材のうち、一方の位相差制御部材は、前記液晶のプレチルト方位に沿った遅相軸を有し、他方の位相差制御部材は、前記液晶のプレチルト方位と交差する方位に沿った遅相軸を有する。
【0006】
本願の一態様に係る電気光学装置は、第1基板と、前記第1基板の光入射側に配置された第1位相差制御部材と、画素電極と、配線と、前記画素電極と前記配線との間に配置された第2位相差制御部材と、を有し、前記第1基板の光出射側に配置された第2基板と、前記第1基板と前記第2基板との間に配置された液晶と、を備え、前記第1位相差制御部材および前記第2位相差制御部材のうち、一方の位相差制御部材は、前記液晶のプレチルト方位に沿った遅相軸を有し、他方の位相差制御部材は、前記液晶のプレチルト方位と交差する方位に沿った遅相軸を有する。
【0007】
本願の一態様に係る電子機器は、上記に記載の電気光学装置を備える。
【図面の簡単な説明】
【0008】
本実施形態の電気光学装置を用いた電子機器の一例を示す模式図。
実施形態1にかかる電気光学装置の平面図。
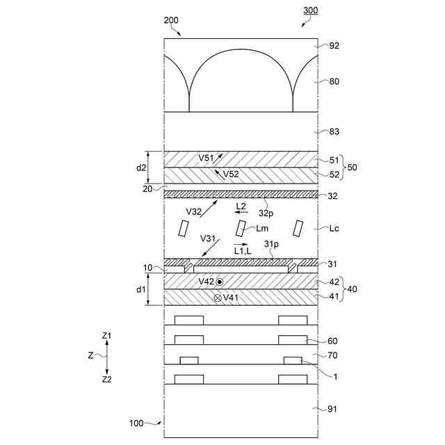
図2のB-B線に沿う電気光学装置の断面図。
素子基板の電気的な構成を示す等価回路図。
図6AのC1-C1線に沿う電気光学装置の断面図。
位相差制御部材および配向膜の蒸着方位、プレチルト方位、および位相差制御部材の遅相軸の方位を示す平面図。
プレチルト方位、偏光板の透過軸の方位、および位相差制御部材の遅相軸の方位を示す説明図。
実施形態2にかかる図8AのC2-C2線に沿う電気光学装置の断面図。
実施形態2にかかる位相差制御部材および配向膜の蒸着方位、プレチルト方位、および位相差制御部材の遅相軸の方位を示す平面図。
実施形態2にかかるプレチルト方位、偏光板の透過軸の方位、および位相差制御部材の遅相軸の方位を示す説明図。
実施形態3にかかる図10AのC3-C3線に沿う電気光学装置の断面図。
実施形態3にかかる配向膜の蒸着方位、プレチルト方位、および位相差制御部材の遅相軸の方位を示す平面図。
実施形態3にかかるプレチルト方位、偏光板の透過軸の方位、および位相差制御部材の遅相軸の方位を示す説明図。
実施形態4にかかる図12AのC4-C4線に沿う電気光学装置の断面図。
実施形態4にかかる配向膜の蒸着方位、プレチルト方位、および位相差制御部材の遅相軸の方位を示す平面図。
実施形態4にかかるプレチルト方位、偏光板の透過軸の方位、および位相差制御部材の遅相軸の方位を示す説明図。
実施形態3および実施形態4にかかる位相差制御部材の構成を示す模式図。
実施形態5にかかる電気光学装置の断面図。
【発明を実施するための形態】
【0009】
本発明の実施形態を示す各図面は、各構成要素を見やすくするため、構成要素によって寸法の縮尺を異ならせて示されることがある。
各図面において、X軸、Y軸、およびZ軸は、互いに直交する。
以下の説明において、「X軸方向」は、X軸に平行な方向、「Y軸方向」は、Y軸に平行な方向、および「Z軸方向」は、Z軸に平行な方向を示すものとする。
以下の説明において、X軸、Y軸、およびZ軸の各軸の「プラス側」は、X1方向、Y1方向、およびZ1方向を示し、「マイナス側」は、X2方向、Y2方向、およびZ2方向を示すものとする。
以下の説明において、「平面視」は、X軸およびY軸を含む面に対して、Z軸方向から見ることとする。
【0010】
1.投射型表示装置の概要
図1は、本実施形態の電子機器の一例を示す模式図であり、電子機器としての投射型表示装置1000の概略構成を示した図である。
(【0011】以降は省略されています)
この特許をJ-PlatPat(特許庁公式サイト)で参照する
関連特許
カンタツ株式会社
光学系
25日前
日本精機株式会社
表示装置
1か月前
日本精機株式会社
表示装置
1か月前
日本精機株式会社
表示装置
1か月前
キヤノン株式会社
映像表示装置
14日前
アイカ工業株式会社
反射防止フィルム
25日前
アイカ工業株式会社
反射防止フィルム
1日前
インターマン株式会社
立体映像表示装置
14日前
瀚宇彩晶股ふん有限公司
表示パネル
1か月前
日本精機株式会社
ヘッドアップディスプレイ
1か月前
沖電気工業株式会社
光導波路素子
1か月前
沖電気工業株式会社
光導波路素子
1か月前
沖電気工業株式会社
光導波路素子
1か月前
個人
透過型及び反射型顕微鏡
14日前
キヤノン株式会社
画像表示装置
22日前
キヤノン株式会社
レンズ装置および撮像装置
2日前
東レ株式会社
プラスチック光ファイバ
24日前
レーザーテック株式会社
検査装置及び検査方法
4日前
キヤノン株式会社
表示装置
7日前
株式会社小糸製作所
画像投影装置
15日前
日東電工株式会社
光学積層体
15日前
株式会社小糸製作所
画像投影装置
14日前
日東電工株式会社
光学積層体
28日前
AGC株式会社
光学素子
1か月前
株式会社小糸製作所
画像生成装置
23日前
キヤノン株式会社
光学系及び撮像装置
8日前
東レ株式会社
先端に凸面を有する光ファイバ
14日前
株式会社JVCケンウッド
液晶表示装置
1か月前
キヤノン株式会社
光学系および撮像装置
25日前
KDDI株式会社
光増幅器
14日前
日本電気株式会社
リング共振器、およびその製造方法
1か月前
株式会社JVCケンウッド
液晶表示装置
1か月前
住友化学株式会社
複合偏光板及び画像表示装置
2日前
セイコーエプソン株式会社
虚像表示装置
4日前
キヤノン株式会社
光学装置
28日前
KDDI株式会社
光増幅器
1日前
続きを見る
他の特許を見る