TOP
|
特許
|
意匠
|
商標
特許ウォッチ
Twitter
他の特許を見る
公開番号
2025145403
公報種別
公開特許公報(A)
公開日
2025-10-03
出願番号
2024045564
出願日
2024-03-21
発明の名称
印刷装置
出願人
セイコーエプソン株式会社
代理人
個人
,
個人
主分類
B41J
2/175 20060101AFI20250926BHJP(印刷;線画機;タイプライター;スタンプ)
要約
【課題】供給チューブの屈曲を抑制できる印刷装置を提供する。
【解決手段】液体を吐出可能なヘッド15と、ヘッド15に対して液体を供給する複数の供給チューブ16と、ヘッド15に対して複数の供給チューブ16を着脱可能に接続する接続部18と、接続部18とキャリッジ14のそれぞれに固定される複数の保護部17と、を備え、保護部17は、弾性を有し、複数の供給チューブ16は、複数の保護部17の間に設けられる。
【選択図】図7
特許請求の範囲
【請求項1】
液体を吐出可能なヘッドと、
前記ヘッドに対して前記液体を供給する複数の供給チューブと、
前記ヘッドに対して複数の前記供給チューブを着脱可能に接続する接続部と、
前記接続部と土台のそれぞれに固定される複数の保護部と、
を備え、
前記保護部は、弾性を有し、
複数の前記供給チューブは、複数の前記保護部の間に設けられることを特徴とする印刷装置。
続きを表示(約 410 文字)
【請求項2】
前記保護部は、円筒状であることを特徴とする請求項1に記載の印刷装置。
【請求項3】
前記保護部の直径は、前記供給チューブの直径より大きいことを特徴とする請求項2に記載の印刷装置。
【請求項4】
前記保護部の中心線と、前記供給チューブの中心線は、同一平面上に位置することを特徴とする請求項3に記載の印刷装置。
【請求項5】
所定量曲げた前記保護部が戻ろうとする弾性力は、前記所定量曲げた前記供給チューブが戻ろうとする弾性力より大きいことを特徴とする請求項1に記載の印刷装置。
【請求項6】
前記接続部は、前記供給チューブにより供給された前記液体の流れを調整する液流調整部を有することを特徴とする請求項1に記載の印刷装置。
【請求項7】
前記供給チューブは、フッ素樹脂により構成されることを特徴とする請求項1に記載の印刷装置。
発明の詳細な説明
【技術分野】
【0001】
本発明は、プリンターなどの印刷装置に関する。
続きを表示(約 1,300 文字)
【背景技術】
【0002】
例えば特許文献1のように、ヘッドの一例であるインクジェットヘッドから液体の一例であるインクを吐出して印刷する印刷装置の一例であるインクジェット記録装置がある。インクジェット記録装置は、インクジェットヘッドにインクを供給する供給チューブの一例であるインクチューブと、カバー部材と、を備える。
【0003】
カバー部材は、回動可能に設けられる。インクチューブは、カバー部材の回動に伴って変形する。カバー部材を開放させると、インクチューブは、インクジェットヘッドとの接続が解除される。
【先行技術文献】
【特許文献】
【0004】
特開2007-105883号公報
【発明の概要】
【発明が解決しようとする課題】
【0005】
供給チューブを変形させる場合、供給チューブは、屈曲することで中が狭窄し、液体が通りにくくなる所謂キンクした状態になる虞がある。
【課題を解決するための手段】
【0006】
上記課題を解決する印刷装置は、液体を吐出可能なヘッドと、前記ヘッドに対して前記液体を供給する複数の供給チューブと、前記ヘッドに対して複数の前記供給チューブを着脱可能に接続する接続部と、前記接続部と土台のそれぞれに固定される複数の保護部と、を備え、前記保護部は、弾性を有し、複数の前記供給チューブは、複数の前記保護部の間に設けられる。
【図面の簡単な説明】
【0007】
図1は、印刷装置の一実施形態の模式図である。
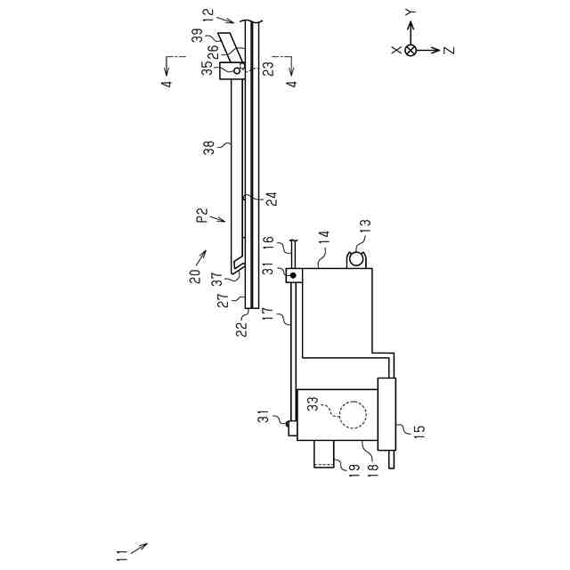
図2は、筐体側係合部が収納位置に位置する印刷装置の模式図である。
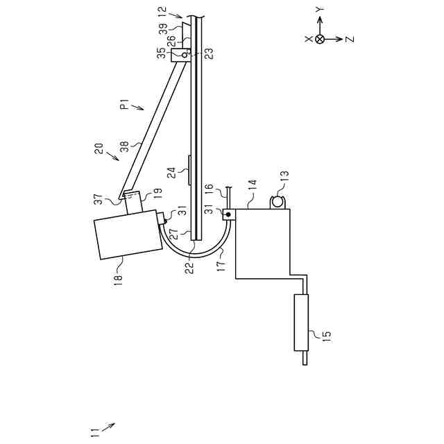
図3は、筐体側係合部が係合位置に位置する印刷装置の模式図である。
図4は、図2における4-4線矢視断面図である。
図5は、図3における5-5線矢視断面図である。
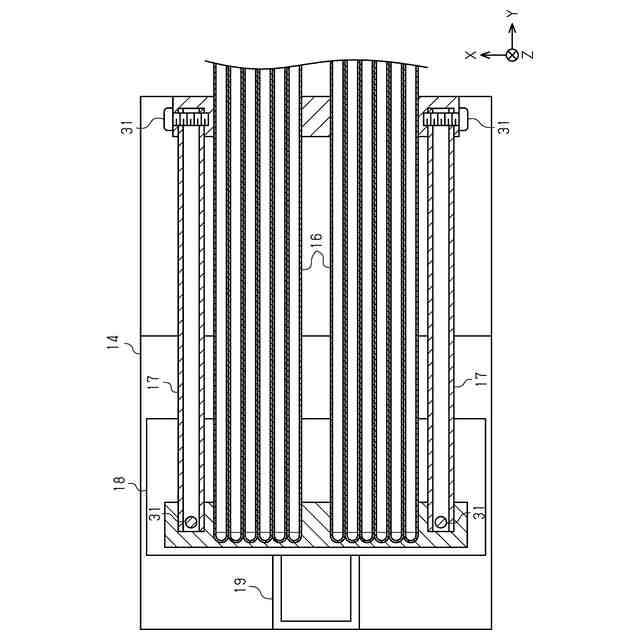
図6は、図1における6-6線矢視断面図である。
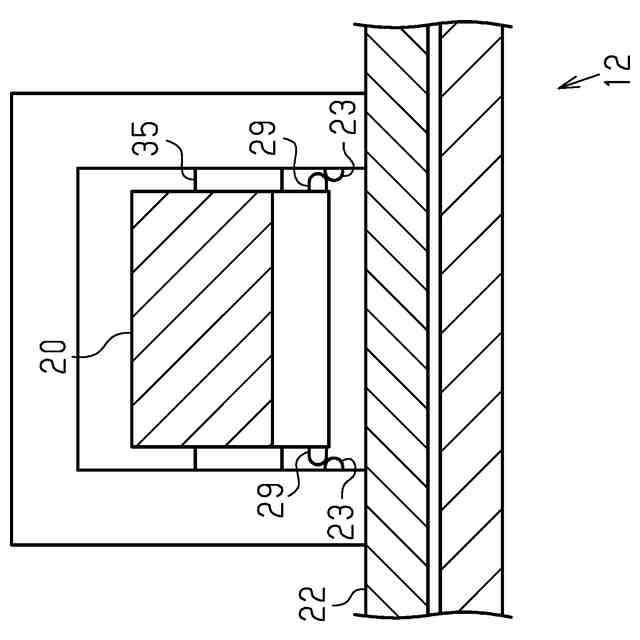
図7は、筐体側係合部と接続部側係合部が係合した印刷装置の模式図である。
【発明を実施するための形態】
【0008】
[実施形態]
以下、印刷装置の一実施形態を、図面を参照して説明する。印刷装置は、例えば、用紙、布帛、ビニール、プラスチック部品、金属部品などの媒体に液体の一例であるインクを吐出して印刷するインクジェット式のプリンターである。
【0009】
図面では、印刷装置11が水平面上に置かれているものとして重力の方向をZ軸で示し、水平面に沿う方向をX軸とY軸で示す。X軸、Y軸、及びZ軸は、互いに直交する。以下の説明では、X軸に平行な方向を幅方向X、Y軸に平行な方向を奥行方向Y、Z軸に平行な方向を鉛直方向Zともいう。
【0010】
<印刷装置>
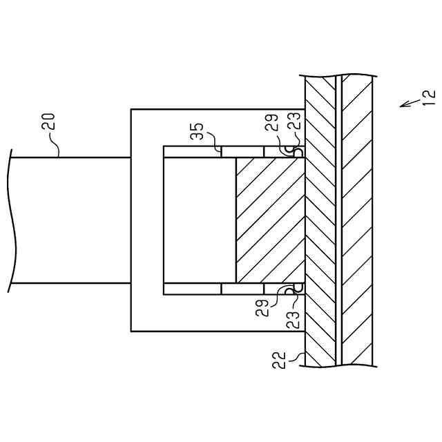
図1に示すように、印刷装置11は、筐体12と、ガイド軸13と、キャリッジ14と、ヘッド15と、供給チューブ16と、保護部17と、接続部18と、を備えてもよい。印刷装置11は、接続部側係合部19と、筐体側係合部20と、を備えてもよい。
(【0011】以降は省略されています)
特許ウォッチbot のツイートを見る
この特許をJ-PlatPat(特許庁公式サイト)で参照する
関連特許
セイコーエプソン株式会社
印刷装置
3日前
セイコーエプソン株式会社
ロボット
3日前
セイコーエプソン株式会社
印刷装置
3日前
セイコーエプソン株式会社
印刷装置
3日前
セイコーエプソン株式会社
印刷装置
3日前
セイコーエプソン株式会社
液体収容容器
3日前
セイコーエプソン株式会社
権限管理装置
3日前
セイコーエプソン株式会社
プロジェクター
3日前
セイコーエプソン株式会社
プロジェクター
3日前
セイコーエプソン株式会社
プロジェクター
3日前
セイコーエプソン株式会社
プロジェクター
3日前
セイコーエプソン株式会社
垂直多関節ロボット
3日前
セイコーエプソン株式会社
回路装置及び電子機器
3日前
セイコーエプソン株式会社
レーザー干渉計および分光装置
4日前
セイコーエプソン株式会社
偏心揺動装置及び射出成形装置
3日前
セイコーエプソン株式会社
ヘッドユニット及び液体吐出装置
3日前
セイコーエプソン株式会社
液体噴射ヘッド及び液体噴射装置
3日前
セイコーエプソン株式会社
液体容器、印刷装置、印刷システム
3日前
セイコーエプソン株式会社
液体吐出装置、及びヘッドユニット
3日前
セイコーエプソン株式会社
表示装置および表示装置の制御方法
3日前
セイコーエプソン株式会社
スクリーン装置及び空間演出システム
4日前
セイコーエプソン株式会社
射出成形システム、及び成形品押出方法
3日前
セイコーエプソン株式会社
分光装置、分光装置の校正方法および分光方法
3日前
セイコーエプソン株式会社
軟磁性粉末、圧粉磁心、磁性素子および電子機器
3日前
セイコーエプソン株式会社
情報処理方法、サーバー装置、及び情報処理装置
3日前
セイコーエプソン株式会社
流量調節装置、三次元造形装置および射出成形装置
3日前
セイコーエプソン株式会社
液体吐出装置、液体回収システム及び液体回収容器
4日前
セイコーエプソン株式会社
印刷システム、プログラム、及び、印刷特性調整方法
3日前
セイコーエプソン株式会社
印刷制御プログラム、印刷システム、及び印刷物生産方法
3日前
セイコーエプソン株式会社
容量性負荷駆動回路、液体吐出装置、及びヘッドユニット
3日前
セイコーエプソン株式会社
印刷制御プログラム、印刷システム、及び印刷物生産方法
3日前
セイコーエプソン株式会社
液体吐出装置、ヘッドユニット及びヘッドユニット接続方法
3日前
セイコーエプソン株式会社
絶縁物被覆軟磁性粉末、圧粉磁心、磁性素子および電子機器
3日前
セイコーエプソン株式会社
液体吐出装置、ヘッドユニット及びヘッドユニット接続方法
3日前
セイコーエプソン株式会社
画像形成システム、画像形成システムの制御方法、及び、画像形成装置
3日前
セイコーエプソン株式会社
画像形成装置、ソフトウェア更新方法、及びソフトウェア更新システム
3日前
続きを見る
他の特許を見る