TOP
|
特許
|
意匠
|
商標
特許ウォッチ
Twitter
他の特許を見る
10個以上の画像は省略されています。
公開番号
2025145814
公報種別
公開特許公報(A)
公開日
2025-10-03
出願番号
2024046250
出願日
2024-03-22
発明の名称
表示装置および表示装置の制御方法
出願人
セイコーエプソン株式会社
代理人
個人
,
個人
,
個人
,
個人
主分類
G03B
21/14 20060101AFI20250926BHJP(写真;映画;光波以外の波を使用する類似技術;電子写真;ホログラフイ)
要約
【課題】液晶パネルの劣化度を精度よく検出できる表示装置を提供する。
【解決手段】互いに対向して設けられた第1基板および第2基板と、前記第1基板と前記第2基板との間に設けられた液晶層と、を備え、前記第1基板の法線方向を向き第1波長域の光が入射する第1面と、前記第1面と交差する第2面と、を有する液晶パネルと、前記液晶層に第1波長域の光が入射した場合に、前記第2面から出射される前記第1波長域よりも長波長域の光を検出する光検出部と、を有する、表示装置。
【選択図】図2
特許請求の範囲
【請求項1】
互いに対向して設けられた第1基板および第2基板と、前記第1基板と前記第2基板との間に設けられた液晶層と、を備え、前記第1基板の法線方向を向き第1波長域の光が入射する第1面と、前記第1面と交差する第2面と、を有する液晶パネルと、
前記液晶層に第1波長域の光が入射した場合に、前記第2面から出射される前記第1波長域よりも長波長域の光を検出する光検出部と、
を有する、表示装置。
続きを表示(約 720 文字)
【請求項2】
請求項1において、
前記第2面から出射される前記長波長域の光を、前記光検出部に導く導光部を有する、表示装置。
【請求項3】
請求項2において、
前記第1基板と前記第2基板とを接続し、前記法線方向からみて前記液晶層を囲むシール材を有し、
前記法線方向と直交する方向からみて、前記導光部の光入射面は、前記シール材と重ならない、表示装置。
【請求項4】
請求項3において、
前記導光部の光入射面は、前記液晶層と交差する垂線を有する、表示装置。
【請求項5】
請求項2において、
前記法線方向からみて、前記導光部の光入射面は、前記液晶パネルの表示領域の短辺側に設けられている、表示装置。
【請求項6】
請求項2において、
前記導光部の光入射面と前記第2面との間に配置されたインデックスマッチング材を有する、表示装置。
【請求項7】
請求項2において、
前記光検出部と前記導光部の光出射面との間に設けられ、前記第1波長域の光を低減する波長フィルターを有する、表示装置。
【請求項8】
互いに対向して設けられた第1基板および第2基板と、前記第1基板と前記第2基板との間に設けられた液晶層と、を有し、前記第1基板の法線方向を向き第1波長域の光が入射する第1面と、前記第1面と交差する第2面と、を有する液晶パネルを有する表示装置の制御方法であって、
前記液晶層に第1波長域の光が入射した場合に、前記第2面から出射される前記第1波長域よりも長波長域の光を検出する、表示装置の制御方法。
発明の詳細な説明
【技術分野】
【0001】
本発明は、表示装置および表示装置の制御方法に関する。
続きを表示(約 1,700 文字)
【背景技術】
【0002】
投射型の表示装置では、透過型の液晶パネルや反射型の液晶パネルに光源から出射された光を照射し、液晶パネルにより変調された透過光や反射光をスクリーン上に投射する。このような表示装置では、光源から液晶パネルに高強度の光が照射されるため、液晶パネルが劣化する場合がある。
【0003】
例えば、特許文献1には、液晶パネルから出射された光束の色度または照度を光学センサーによって検出し、その検出結果に基づいて、光学像の画質状態を判定することにより、冷却手段を制御する液晶表示装置が記載されている。
【先行技術文献】
【特許文献】
【0004】
特開2008-40016号公報
【発明の概要】
【発明が解決しようとする課題】
【0005】
上記のような表示装置では、液晶パネルの劣化度を精度よく検出することが望まれている。
【課題を解決するための手段】
【0006】
本発明に係る表示装置の一態様は、
互いに対向して設けられた第1基板および第2基板と、前記第1基板と前記第2基板との間に設けられた液晶層と、を備え、前記第1基板の法線方向を向き第1波長域の光が入射する第1面と、前記第1面と交差する第2面と、を有する液晶パネルと、
前記液晶層に第1波長域の光が入射した場合に、前記第2面から出射される前記第1波長域よりも長波長域の光を検出する光検出部と、
を有する。
【0007】
本発明に係る表示装置の制御方法の一態様は、
互いに対向して設けられた第1基板および第2基板と、前記第1基板と前記第2基板との間に設けられた液晶層と、を有し、前記第1基板の法線方向を向き第1波長域の光が入射する第1面と、前記第1面と交差する第2面と、を有する液晶パネルを有する表示装置の制御方法であって、
前記液晶層に第1波長域の光が入射した場合に、前記第2面から出射される前記第1波長域よりも長波長域の光を検出する。
【図面の簡単な説明】
【0008】
本実施形態に係る表示装置を模式的に示す図。
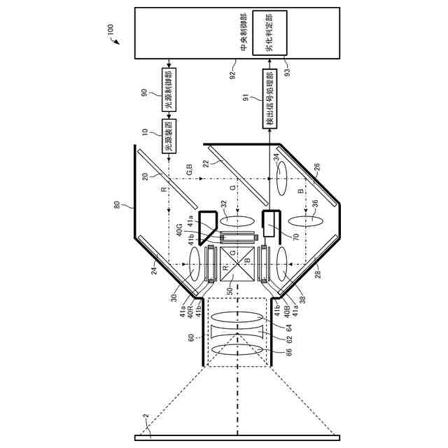
本実施形態に係る表示装置の光変調装置および光検出装置を模式的に示す図。
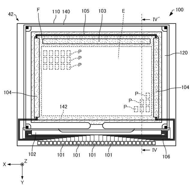
本実施形態に係る表示装置の液晶パネルを模式的に示す平面図。
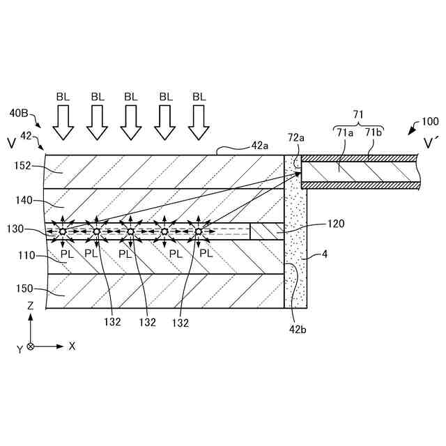
本実施形態に係る表示装置の液晶パネルを模式的に示す断面図。
本実施形態に係る表示装置を模式的に示す断面図。
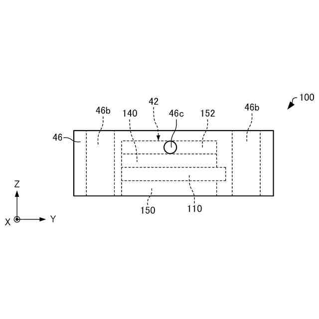
本実施形態に係る表示装置を模式的に示す側面図。
液晶層に青色光を照射したときのフォトルミネッセンスの経時変化を説明するグラフ。
液晶パネルの加速劣化試験におけるフォトルミネッセンスの経時変化を説明するグラフ。
液晶パネルの加速劣化試験におけるフォトルミネッセンスの経時変化を説明するグラフ。
液晶パネルの電気光学特性を説明するグラフ。
本実施形態に係る表示装置の劣化判定部の処理を説明するフローチャート。
本実施形態の第1変形例に係る表示装置を模式的に示す断面図。
本実施形態の第1変形例に係る表示装置を模式的に示す側面図。
本実施形態の第2変形例に係る表示装置の光変調装置および光検出装置を模式的に示す図。
本実施形態の第2変形例に係る表示装置を模式的に示す側面図。
【発明を実施するための形態】
【0009】
以下、本発明の好適な実施形態について、図面を用いて詳細に説明する。なお、以下に説明する実施形態は、特許請求の範囲に記載された本発明の内容を不当に限定するものではない。また、以下で説明される構成の全てが本発明の必須構成要件であるとは限らない。
【0010】
1. 表示装置
1.1. 全体の構成
まず、本実施形態に係る表示装置100について、図面を参照しながら説明する。図1は、本実施形態に係る表示装置100を模式的に示す図である。
(【0011】以降は省略されています)
この特許をJ-PlatPat(特許庁公式サイト)で参照する
関連特許
個人
監視用カメラ
4か月前
株式会社シグマ
絞りユニット
18日前
キヤノン株式会社
撮像装置
1か月前
キヤノン株式会社
撮像装置
11日前
キヤノン株式会社
撮像装置
17日前
平和精機工業株式会社
雲台
1か月前
株式会社リコー
画像形成装置
3か月前
株式会社リコー
画像形成装置
1か月前
株式会社リコー
画像形成装置
3か月前
株式会社リコー
画像形成装置
2か月前
株式会社リコー
画像形成装置
1か月前
株式会社リコー
画像形成装置
7日前
株式会社リコー
画像形成装置
2か月前
株式会社リコー
画像形成装置
25日前
株式会社リコー
画像形成装置
4か月前
株式会社イノン
接写補助装置
4か月前
株式会社リコー
画像形成装置
1か月前
キヤノン株式会社
画像形成装置
2か月前
キヤノン株式会社
画像形成装置
4か月前
キヤノン株式会社
画像形成装置
2か月前
ブラザー工業株式会社
再生方法
1か月前
キヤノン株式会社
画像形成装置
1か月前
株式会社オプトル
プロジェクタ
1か月前
キヤノン株式会社
画像形成装置
1か月前
シャープ株式会社
画像形成装置
1か月前
キヤノン株式会社
画像形成装置
2か月前
キヤノン株式会社
画像形成装置
1か月前
キヤノン株式会社
トナー
1か月前
株式会社オプトル
プロジェクタ
10日前
キヤノン株式会社
画像形成装置
2か月前
キヤノン株式会社
画像形成装置
2か月前
キヤノン株式会社
トナー
3か月前
キヤノン株式会社
トナー
3か月前
トヨタ自動車株式会社
撮像方法
3か月前
キヤノン株式会社
トナー
3か月前
キヤノン株式会社
トナー
3か月前
続きを見る
他の特許を見る