TOP
|
特許
|
意匠
|
商標
特許ウォッチ
Twitter
他の特許を見る
公開番号
2025144301
公報種別
公開特許公報(A)
公開日
2025-10-02
出願番号
2024044018
出願日
2024-03-19
発明の名称
スクリーン装置及び空間演出システム
出願人
セイコーエプソン株式会社
代理人
個人
,
個人
,
個人
,
個人
主分類
G03B
21/58 20140101AFI20250925BHJP(写真;映画;光波以外の波を使用する類似技術;電子写真;ホログラフイ)
要約
【課題】簡単な構造でスクリーンを自立させることができ、大掛かりな工事が不要になり、あらゆる環境において良好な空間演出を実現できるスクリーン装置及び空間演出システムを提供する。
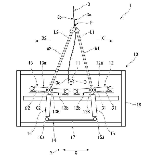
【解決手段】画像光が投射され、柔軟性を有するスクリーン3と、スクリーン3に風を送風することによりスクリーン3を支持する送風装置10と、を備える。送風装置10は、スクリーン3の一端縁が固定される固定部11と、スクリーン3の延在方向に交差する方向において、固定部11を挟む両側のうち一方側に配置され、スクリーン3の投射面3aに向けて第1風W1を送風する第1送風部12と、固定部11の一方側とは反対側の他方側に配置され、スクリーン3の裏面3bに向けて第2風W2を送風する第2送風部13と、を備える。第1送風部12から送風される第1風W1および第2送風部13から送風される第2風W2によりスクリーン3を挟持する。
【選択図】図2
特許請求の範囲
【請求項1】
画像光が投射され、柔軟性を有するスクリーンと、
前記スクリーンに風を送風することにより前記スクリーンを支持する送風装置と、を備え、
前記送風装置は、
前記スクリーンの一端縁が固定される固定部と、
前記スクリーンの延在方向に交差する方向において、前記固定部を挟む両側のうち一方側に配置され、前記スクリーンの第1面に向けて第1風を送風する第1送風部と、
前記固定部の前記一方側とは反対側の他方側に配置され、前記スクリーンの前記第1面とは反対の第2面に向けて第2風を送風する第2送風部と、を備え、
前記第1送風部から送風される前記第1風および前記第2送風部から送風される前記第2風により前記スクリーンを挟持する、
ことを特徴とするスクリーン装置。
続きを表示(約 1,000 文字)
【請求項2】
前記第1風の第1送風方向と、前記第2風の第2送風方向と、が互いに前記スクリーン側の内向きである、
ことを特徴とする請求項1に記載のスクリーン装置。
【請求項3】
前記第1送風部は、前記第1風を吐出する第1吐出口を有し、
前記第2送風部は、前記第2風を吐出する第2吐出口を有し、
前記第1吐出口の中心を通る第1中心軸と、前記第2吐出口の中心を通る第2中心軸との交点に前記スクリーンが配置される、
ことを特徴とする請求項1に記載のスクリーン装置。
【請求項4】
前記第1送風部及び前記第2送風部のうち少なくとも一方は、前記スクリーンの前記一端縁が延在する方向に沿う軸を回転軸として回転する、
ことを特徴とする請求項1に記載のスクリーン装置。
【請求項5】
前記第1送風部の第1回転角度を調整する第1角度調整部と、
前記第2送風部の第2回転角度を調整する第2角度調整部と、
前記第1角度調整部及び前記第2角度調整部に連結する連結部材と、を備え、
前記連結部材は、前記第1送風部及び前記第2送風部のうち一方の回転に応じて他方を回転させる、
ことを特徴とする請求項4に記載のスクリーン装置。
【請求項6】
前記第1回転角度が、前記第2回転角度と異なるとき、前記第1送風部の第1吐出口と前記第2送風部の第2吐出口とは、互いに前記スクリーン側の内向きに配置される、
ことを特徴とする請求項5に記載のスクリーン装置。
【請求項7】
前記画像光を前記スクリーンに向けて投射するプロジェクションシステムが設けられ、
第1回転角度及び前記第2回転角度は、前記プロジェクションシステムから出力されるデータに応じて変化する、
ことを特徴とする請求項5に記載のスクリーン装置。
【請求項8】
前記第1風及び前記第2風は、前記スクリーンの前記一端縁とは反対側の他端縁まで流通する、
ことを特徴とする請求項1に記載のスクリーン装置。
【請求項9】
前記固定部は、前記第1送風部及び前記第2送風部の風の吐出側に配置される、
ことを特徴とする請求項1に記載のスクリーン装置。
【請求項10】
前記固定部は、前記第1風および前記第2風の交点までの間に配置されている、
ことを特徴とする請求項9に記載のスクリーン装置。
(【請求項11】以降は省略されています)
発明の詳細な説明
【技術分野】
【0001】
本発明は、スクリーン装置及び空間演出システムに関する。
続きを表示(約 1,400 文字)
【背景技術】
【0002】
従来、映像システムとして、立体スクリーンと、一方が天井に固定され他方が立体スクリーンに固定されることで立体スクリーンを支持する支持部材と、立体スクリーンに微風をあてることでスクリーンを微動させる送風装置と、を備えるものが知られている(例えば、特許文献1参照)。
【先行技術文献】
【特許文献】
【0003】
特開2017-146579号公報
【発明の概要】
【発明が解決しようとする課題】
【0004】
しかしながら、上記特許文献1に開示される構造は、スクリーンを支持する支持部材を天井や支柱のような送風装置とは別の部材に固定すると、工事が大掛かりになるという問題がある。また、スクリーンの上部が固定される構造であることから、例えば屋外等の設置環境によっては望ましい空間演出を実現することが難しいことから、その点で改善の余地があった。
【課題を解決するための手段】
【0005】
本発明の1つの態様によれば、画像光が投射され、柔軟性を有するスクリーンと、前記スクリーンに風を送風することにより前記スクリーンを支持する送風装置と、を備え、前記送風装置は、前記スクリーンの一端縁が固定される固定部と、前記スクリーンの延在方向に交差する方向において、前記固定部を挟む両側のうち一方側に配置され、前記スクリーンの第1面に向けて第1風を送風する第1送風部と、前記固定部の前記一方側とは反対側の他方側に配置され、前記スクリーンの前記第1面とは反対の第2面に向けて第2風を送風する第2送風部と、を備え、前記第1送風部から送風される前記第1風および前記第2送風部から送風される前記第2風により前記スクリーンを挟持する、スクリーン装置が提供される。
【0006】
本発明の他の1つの態様によれば、上述したスクリーン装置を備えた空間演出システムであって、前記スクリーン装置を保持し、移動可能な架台を備える、空間演出システムが提供される。
【図面の簡単な説明】
【0007】
本発明の実施形態による空間演出システムの概略構成を示す側面図。
図1に示すスクリーン装置の側面図。
図2に示すスクリーン装置を上方から見た平面図。
図2に示すスクリーン装置において送風部の回転角度を変化させた状態を示す側面図。
【発明を実施するための形態】
【0008】
以下、本発明の一実施形態について図面を用いて説明する。
なお、以下の各図面においては各構成要素を見やすくするため、構成要素によって寸法の縮尺を異ならせて示すことがある。
【0009】
図1に示すように、実施形態の空間演出システム100は、スクリーン装置1を備え、プロジェクションシステム20を使用して画像光Gをスクリーン3に向けて投射することにより、スクリーン3に投射された画像光Gによって空間の演出を行うものである。
【0010】
空間演出システム100は、スクリーン装置1と、プロジェクションシステム20と、架台50と、を備える。スクリーン装置1及びプロジェクションシステム20は、架台50に搭載されている。
(【0011】以降は省略されています)
この特許をJ-PlatPat(特許庁公式サイト)で参照する
関連特許
株式会社シグマ
絞りユニット
23日前
キヤノン株式会社
撮像装置
1か月前
キヤノン株式会社
撮像装置
22日前
キヤノン株式会社
撮像装置
16日前
日本精機株式会社
車両用投射装置
2日前
平和精機工業株式会社
雲台
1か月前
株式会社リコー
画像形成装置
1か月前
株式会社リコー
画像形成装置
12日前
株式会社リコー
画像形成装置
1か月前
株式会社リコー
画像形成装置
1か月前
株式会社リコー
画像形成装置
2か月前
株式会社リコー
画像形成装置
1か月前
株式会社オプトル
プロジェクタ
1か月前
キヤノン株式会社
画像形成装置
1か月前
キヤノン株式会社
画像形成装置
2か月前
キヤノン株式会社
トナー
3日前
ブラザー工業株式会社
再生方法
2か月前
キヤノン株式会社
画像形成装置
1か月前
キヤノン株式会社
画像形成装置
2か月前
キヤノン株式会社
画像形成装置
2か月前
株式会社オプトル
プロジェクタ
15日前
シャープ株式会社
画像形成装置
1か月前
キヤノン株式会社
トナー
1か月前
キヤノン株式会社
トナー
8日前
キヤノン株式会社
画像形成装置
1か月前
キヤノン株式会社
画像形成装置
2か月前
スタンレー電気株式会社
照明装置
4日前
沖電気工業株式会社
画像形成装置
1か月前
株式会社シグマ
絞り機構及びレンズ鏡筒
1か月前
アイホン株式会社
カメラシステム
2日前
アイホン株式会社
機器の設置構造
1か月前
キヤノン株式会社
現像装置
1日前
興和株式会社
マウント構造
2か月前
アイホン株式会社
機器の設置構造
1か月前
株式会社電気印刷研究所
静電印刷用積層体
8日前
株式会社リコー
画像投射装置
1か月前
続きを見る
他の特許を見る