TOP
|
特許
|
意匠
|
商標
特許ウォッチ
Twitter
他の特許を見る
10個以上の画像は省略されています。
公開番号
2025140384
公報種別
公開特許公報(A)
公開日
2025-09-29
出願番号
2024039745
出願日
2024-03-14
発明の名称
虚像表示装置及び光学ユニット
出願人
セイコーエプソン株式会社
代理人
個人
,
個人
,
個人
主分類
G02B
27/02 20060101AFI20250919BHJP(光学)
要約
【課題】偏光回折レンズの色収差を補正する。
【解決手段】虚像表示装置は、第1状態で第1色の第1映像光を射出する第1映像光射出装置と、第2状態で第2色の第2映像光を射出し、第2状態以外の状態で光を透過させる第2映像光射出装置と、円偏光を有する第1映像光及び第2映像光に対して正のパワーを持つ第1偏光回折レンズと、第1偏光回折レンズを経て入射して円偏光を有する第1映像光及び第2映像光に対して正のパワーを持つ第2偏光回折レンズと、第1映像光射出装置及び第2映像光射出装置を制御して第1状態及び第2状態を切り替える制御装置と、を備え、第1色の第1波長は、第2色の第2波長より短く、第1映像光射出装置に含まれる第1画素の第1寸法は、第2映像光射出装置に含まれる第2画素の第2寸法より大きい。
【選択図】図2
特許請求の範囲
【請求項1】
第1状態において第1色の第1映像光を射出する第1映像光射出装置と、
前記第1映像光射出装置に対向して配置され、第2状態において第2色の第2映像光を射出し、前記第2状態以外の状態において前記第1映像光を透過させる第2映像光射出装置と、
前記第1映像光射出装置及び前記第2映像光射出装置に対向して配置され、円偏光を有する前記第1映像光及び前記第2映像光に対して正のパワーを持つ第1偏光回折レンズと、
前記第1偏光回折レンズを挟んで前記第1映像光射出装置及び前記第2映像光射出装置に対向して配置され、前記第1偏光回折レンズを経て入射して円偏光を有する前記第1映像光及び前記第2映像光に対して正のパワーを持つ第2偏光回折レンズと、
前記第1映像光射出装置及び前記第2映像光射出装置を制御して前記第1状態及び前記第2状態を切り替える制御装置と、
を備え、
前記第1色の第1波長は、前記第2色の第2波長より短く、
前記第1映像光射出装置に含まれる複数の第1画素のそれぞれの第1寸法は、前記第2映像光射出装置に含まれる複数の第2画素のそれぞれの第2寸法より大きい、
虚像表示装置。
続きを表示(約 2,600 文字)
【請求項2】
前記第1寸法と前記第2寸法との差は、前記第1画素および前記第2画素の前記第1偏光回折レンズまでの距離における差を相殺し、互いに対応する前記第1画素及び前記第2画素は、所望の観測位置において見かけ上重なり合う形状を有する、
請求項1に記載の虚像表示装置。
【請求項3】
前記第1偏光回折レンズと前記第2偏光回折レンズとは、平面内で屈折率異方性の分布が形成され、所定の円偏光に対してレンズ形状に対応する幾何学的位相を生じさせる、
請求項1に記載の虚像表示装置。
【請求項4】
前記第1映像光射出装置及び前記第2映像光射出装置に対向して配置され、第3状態において第3色の第3映像光を射出し、前記第3状態以外の状態において前記第1映像光及び前記第2映像光を透過させる第3映像光射出装置
をさらに備え、
前記第1偏光回折レンズは、さらに、前記第3映像光射出装置に対向して配置され、円偏光を有する前記第3映像光に対して正のパワーを持ち、
前記第2偏光回折レンズは、さらに、前記第1偏光回折レンズを挟んで前記第3映像光射出装置に対向して配置され、前記第1偏光回折レンズを経て入射して円偏光を有する前記第3映像光に対して正のパワーを持ち、
前記制御装置は、前記第3映像光射出装置をさらに制御して前記第1状態、前記第2状態及び前記第3状態を切り替え、
前記第2波長は、前記第3色の第3波長より短く、
前記第2寸法は、前記第3映像光射出装置に含まれる複数の第3画素のそれぞれの第3寸法より大きい、
請求項1に記載の虚像表示装置。
【請求項5】
前記第1映像光射出装置、前記第2映像光射出装置及び前記第3映像光射出装置は、第4状態において外界光を透過させ、
前記第1偏光回折レンズ及び前記第2偏光回折レンズの間に配置され、前記第1状態、前記第2状態及び前記第3状態において円偏光を有する光の偏光回転方向を逆にする1/2波長板として動作し、前記第4状態において光を透過させるスイッチング1/2波長板
をさらに備え、
前記制御装置は、前記スイッチング1/2波長板をさらに制御して前記第1状態、前記第2状態、前記第3状態及び前記第4状態を切り替える、
請求項4に記載の虚像表示装置。
【請求項6】
前記第1映像光射出装置は、
前記第1状態において前記第1色の第1照明光を射出する第1光源と、
前記第1状態において前記第1照明光に対応する前記第1映像光を形成する第1透過型イメージャーと、
を備え、
前記第1光源及び前記第1透過型イメージャーのそれぞれは、前記第1状態以外の状態において光を透過させ、
前記第2映像光射出装置は、
前記第2状態において前記第2色の第2照明光を射出する第2光源と、
前記第2状態において前記第2照明光に対応する前記第2映像光を形成する第2透過型イメージャーと、
を備え、
前記第2光源及び前記第2透過型イメージャーのそれぞれは、前記第2状態以外の状態において光を透過させ、
前記第3映像光射出装置は、
前記第3状態において前記第3色の第3照明光を射出する第3光源と、
前記第3状態において前記第3照明光に対応する前記第3映像光を形成する第3透過型イメージャーと、
を備え、
前記第3光源及び前記第3透過型イメージャーのそれぞれは、前記第3状態以外の状態において光を透過させる、
請求項4又は5に記載の虚像表示装置。
【請求項7】
前記第1光源、前記第2光源及び前記第3光源と、前記第1透過型イメージャー、前記第2透過型イメージャー及び前記第3透過型イメージャーとの間に配置され、前記第1照明光、前記第2照明光及び前記第3照明光の偏光を第1直線偏光にする第1偏光板と、
前記第1透過型イメージャー、前記第2透過型イメージャー及び前記第3透過型イメージャーと、前記第1偏光回折レンズとの間に配置され、前記第1直線偏光を第2直線偏光にする第2偏光板と、
前記第1偏光板及び前記第1偏光回折レンズの間に配置され、前記第2直線偏光を円偏光にする1/4波長板と、
をさらに備える、
請求項6に記載の虚像表示装置。
【請求項8】
一様な第1厚さを有し、一方の表面が前記第1透過型イメージャーの第1表面に固定され、他方の表面が前記第2透過型イメージャーの第1表面に固定され、光を透過させる第1スペーサーと、
一様な第2厚さを有し、一方の表面が前記第2透過型イメージャーの第2表面に固定され、他方の表面が前記第3透過型イメージャーの第1表面に固定され、光を透過させる第2スペーサーと、
をさらに備える、
請求項7に記載の虚像表示装置。
【請求項9】
前記第1映像光射出装置は、前記第1状態において前記第1映像光を形成して射出し、前記第1状態以外の状態において光を透過させる自発光型の第1透過型イメージャーを備え、
前記第2映像光射出装置は、前記第2状態において前記第2映像光を形成して射出し、前記第2状態以外の状態において光を透過させる自発光型の第2透過型イメージャーを備え、
前記第3映像光射出装置は、前記第3状態において前記第3映像光を形成して射出し、前記第3状態以外の状態において光を透過させる自発光型の第3透過型イメージャーを備える、
請求項4又は5に記載の虚像表示装置。
【請求項10】
前記第1透過型イメージャー、前記第2透過型イメージャー及び前記第3透過型イメージャーと、前記第1偏光回折レンズとの間に配置され、前記第1映像光、前記第2映像光及び前記第3映像光のそれぞれの偏光を直線偏光にする第1偏光板と、
前記第1偏光板及び前記第1偏光回折レンズの間に配置され、前記直線偏光を円偏光にする1/4波長板と、
をさらに備える、
請求項9に記載の虚像表示装置。
(【請求項11】以降は省略されています)
発明の詳細な説明
【技術分野】
【0001】
本発明は、虚像の観察を可能にする虚像表示装置及び光学ユニットに関し、特に偏光回折レンズを用いた虚像表示装置等に関する。
続きを表示(約 2,600 文字)
【背景技術】
【0002】
熱成形多層反射偏光子として、熱成形多層反射偏光子の頂点を通過する光軸に対して実質的に回転対称であり、光軸に直交する、直交する第1の軸及び第2の軸に沿って凸状であり、頂点から離れた少なくとも1つの第1の場所で、実質的に光学的一軸性である少なくとも1つの内部層と、光軸からの半径方向距離r1、及び、頂点で光軸に対して垂直な平面からの変位s1を有し、s1/r1が、少なくとも0.2である反射偏光子上の少なくとも1つの第1の場所と、を有する、ものが公知となっている(特許文献1)。この熱成形多層反射偏光子は、厚肉レンズを備えるため、重たくなる。
【先行技術文献】
【特許文献】
【0003】
特表2018-500584号公報
【発明の概要】
【発明が解決しようとする課題】
【0004】
比較的重たい厚肉レンズの代わりに、比較的薄くて軽い偏光回折レンズを使用することが期待されている。しかし、偏光回折レンズは色収差の補正が難しい。
【課題を解決するための手段】
【0005】
本発明の一側面における虚像表示装置は、第1状態において第1色の第1映像光を射出する第1映像光射出装置と、第1映像光射出装置に対向して配置され、第2状態において第2色の第2映像光を射出し、第2状態以外の状態において第1映像光を透過させる第2映像光射出装置と、第1映像光射出装置及び第2映像光射出装置に対向して配置され、円偏光を有する第1映像光及び第2映像光に対して正のパワーを持つ第1偏光回折レンズと、第1偏光回折レンズを挟んで第1映像光射出装置及び第2映像光射出装置に対向して配置され、第1偏光回折レンズを経て入射して円偏光を有する第1映像光及び第2映像光に対して正のパワーを持つ第2偏光回折レンズと、第1映像光射出装置及び第2映像光射出装置を制御して第1状態及び第2状態を切り替える制御装置と、を備え、第1色の第1波長は、第2色の第2波長より短く、第1映像光射出装置に含まれる複数の第1画素のそれぞれの第1寸法は、第2映像光射出装置に含まれる複数の第2画素のそれぞれの第2寸法より大きい。
【0006】
本発明の一側面における光学ユニットは、第1状態において第1色の第1映像光を射出する第1映像光射出装置と、第1映像光射出装置に対向して配置され、第2状態において第2色の第2映像光を射出し、第2状態以外の状態において第1映像光を透過させる第2映像光射出装置と、第1映像光射出装置及び第2映像光射出装置に対向して配置され、円偏光を有する第1映像光及び第2映像光に対して正のパワーを持つ第1偏光回折レンズと、第1偏光回折レンズを挟んで第1映像光射出装置及び第2映像光射出装置に対向して配置され、第1偏光回折レンズを経て入射して円偏光を有する第1映像光及び第2映像光に対して正のパワーを持つ第2偏光回折レンズと、第1映像光射出装置及び第2映像光射出装置を制御して第1状態及び第2状態を切り替える制御装置と、を備え、第1色の第1波長は、第2色の第2波長より短く、第1映像光射出装置に含まれる複数の第1画素のそれぞれの第1寸法は、第2映像光射出装置に含まれる複数の第2画素のそれぞれの第2寸法より大きい。
【図面の簡単な説明】
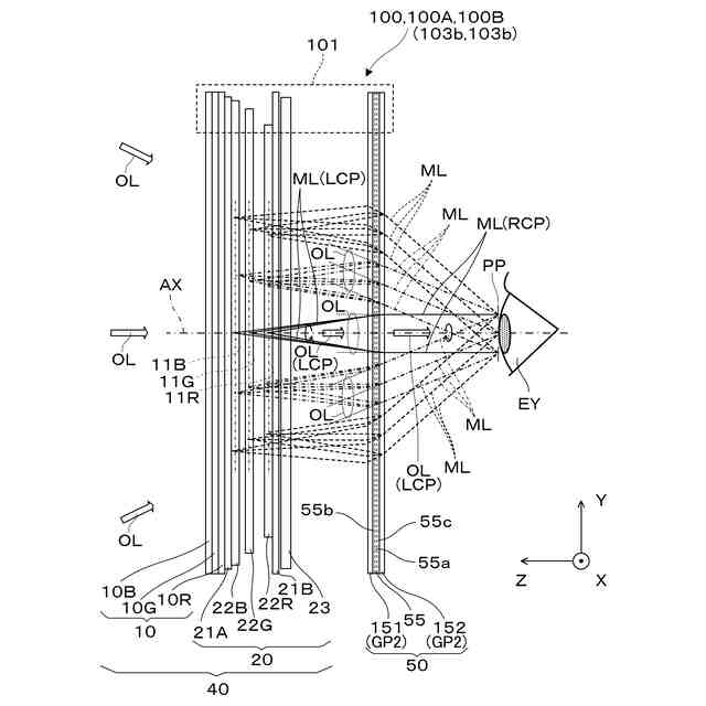
【0007】
第1実施形態の虚像表示装置の装着状態を説明する外観正面図である。
虚像表示装置の構造を説明する概念的な斜視図である。
虚像表示装置の結像系を説明する側方断面図である。
結像系における光線状態を説明する斜視図及び裏面図である。
偏光回折レンズの機能を説明する概念的な斜視図である。
透過型イメージャーの位置関係及び寸法を説明する正面図及び断面図である。
透過型イメージャー及びスペーサーの位置関係を説明する断面図である。
虚像表示装置の動作を説明するチャートである。
変形例の虚像表示装置を説明する側方断面図である。
第2実施形態の虚像表示装置を説明する側方断面図である。
第2実施形態の虚像表示装置の動作を説明するチャートである。
【発明を実施するための形態】
【0008】
〔第1実施形態〕
以下、図1~8を参照して、本発明の第1実施形態に係る虚像表示装置について説明する。
【0009】
図1は、ヘッドマウントディスプレイ、すなわち頭部装着型表示装置200の装着状態を説明する正面図である。頭部装着型表示装置(以下、HMDとも称する。)200は、これを装着する観察者又は装着者USに虚像としての映像を認識させる。図1等において、X、Y、及びZは、直交座標系であり、+X方向は、HMD200を装着した観察者又は装着者USの両眼EYの並ぶ横方向に対応し、+Y方向は、装着者USにとっての両眼EYの並ぶ横方向に直交する上方向に相当し、+Z方向は、装着者USにとっての前方向又は正面方向に相当する。±Y方向は、鉛直軸又は鉛直方向に平行になっている。
【0010】
HMD200は、右眼用の第1虚像表示装置100Aと、左眼用の第2虚像表示装置100Bと、虚像表示装置100A,100Bを支持する一対のテンプル100Cと、情報端末であるユーザー端末90とを備える。第1虚像表示装置100Aは、上部に配置される第1表示駆動部102aと、眼前を覆う第1表示光学系103aとで構成される。第2虚像表示装置100Bは、上部に配置される第2表示駆動部102bと、眼前を覆う第2表示光学系103bとで構成される。第1虚像表示装置100Aと、第2虚像表示装置100Bとを組み合わせたHMD200は、広義の虚像表示装置でもある。一対のテンプル100Cは、装着者USの頭部に装着される装着部材又は支持装置106であり、外観上一体化されている表示駆動部102a,102bを介して一対の表示光学系103a,103bの上端側を支持している。一対の表示駆動部102a,102bを組み合わせたものを駆動装置102と呼ぶ。
(【0011】以降は省略されています)
この特許をJ-PlatPat(特許庁公式サイト)で参照する
関連特許
セイコーエプソン株式会社
印刷装置
3日前
セイコーエプソン株式会社
印刷装置
3日前
セイコーエプソン株式会社
印刷装置
1日前
セイコーエプソン株式会社
印刷装置
1日前
セイコーエプソン株式会社
印刷装置
今日
セイコーエプソン株式会社
印刷装置
今日
セイコーエプソン株式会社
印刷装置
3日前
セイコーエプソン株式会社
印刷装置
3日前
セイコーエプソン株式会社
微細化装置
今日
セイコーエプソン株式会社
画像読取装置
3日前
セイコーエプソン株式会社
液体吐出ヘッド
3日前
セイコーエプソン株式会社
電子制御式機械時計
1日前
セイコーエプソン株式会社
スクリーンの製造方法
3日前
セイコーエプソン株式会社
栽培用培地の製造方法
今日
セイコーエプソン株式会社
電気光学装置および電子機器
今日
セイコーエプソン株式会社
インクジェットインク組成物
3日前
セイコーエプソン株式会社
レーザー干渉計および分光装置
今日
セイコーエプソン株式会社
管理サーバ、及び管理システム
3日前
セイコーエプソン株式会社
虚像表示装置及び光学ユニット
3日前
セイコーエプソン株式会社
液体回収装置及び液体回収容器
今日
セイコーエプソン株式会社
虚像表示装置及び光学ユニット
3日前
セイコーエプソン株式会社
虚像表示装置及び光学ユニット
3日前
セイコーエプソン株式会社
情報管理システム、及びサーバー
今日
セイコーエプソン株式会社
制御方法およびロボットシステム
3日前
セイコーエプソン株式会社
位相補間回路、回路装置及び発振器
今日
セイコーエプソン株式会社
表示装置および表示装置の制御方法
3日前
セイコーエプソン株式会社
プリントヘッド、及び液体吐出装置
3日前
セイコーエプソン株式会社
ヘッドユニット、及び液体吐出装置
3日前
セイコーエプソン株式会社
ヘッドユニット、及び液体吐出装置
1日前
セイコーエプソン株式会社
液体回収システム及び液体回収容器
今日
セイコーエプソン株式会社
スクリーン装置及び空間演出システム
今日
セイコーエプソン株式会社
撮像制御プログラム、及び、印刷システム
3日前
セイコーエプソン株式会社
プログラムの更新方法及び情報処理システム
3日前
セイコーエプソン株式会社
捺染インクジェットインク組成物及び記録方法
今日
セイコーエプソン株式会社
電気光学装置、表示モジュールおよび電子機器
今日
セイコーエプソン株式会社
流路接続構造、液体吐出装置、及び流路形成方法
今日
続きを見る
他の特許を見る