TOP
|
特許
|
意匠
|
商標
特許ウォッチ
Twitter
他の特許を見る
10個以上の画像は省略されています。
公開番号
2025143801
公報種別
公開特許公報(A)
公開日
2025-10-02
出願番号
2024043240
出願日
2024-03-19
発明の名称
電気光学装置、表示モジュールおよび電子機器
出願人
セイコーエプソン株式会社
代理人
個人
,
個人
,
個人
主分類
G02F
1/1333 20060101AFI20250925BHJP(光学)
要約
【課題】液晶層の温度上昇を抑える。
【解決手段】電気光学装置100は、素子102と対向基板104との間に配置された液晶層60と、素子基板102と液晶層60との間に設けられた絶縁層120と、絶縁層120に設けられた画素電極126と、平面視で隣り合う画素電極126の間の領域に設けられ、絶縁層120よりも高い熱伝導率を有する絶縁層124と、平面視で隣り合う画素電極126の間の領域であって、断面視で絶縁層124と基板102との間において絶縁層124と接して設けられた導電層122と、を有する。
【選択図】図2
特許請求の範囲
【請求項1】
第1基板と、
前記第1基板と対向する第2基板と、
前記第1基板と前記第2基板との間に配置された液晶層と、
前記第1基板と前記液晶層との間に設けられた第1絶縁層と、
前記第1絶縁層と前記液晶層との間に設けられた第1画素電極および第2画素電極と、
平面視で第1画素電極と第2画素電極との間の領域に設けられ、前記第1絶縁層よりも高い熱伝導率を有する第2絶縁層と、
平面視における第1画素電極と第2画素電極との間の領域において、断面視で前記第2絶縁層と前記第1基板との間において前記第2絶縁層と接して設けられた導電層と、
を有する電気光学装置。
続きを表示(約 520 文字)
【請求項2】
前記第2絶縁層は、AlNからなる
請求項1に記載の電気光学装置。
【請求項3】
前記導電層は、AlまたはCuを含む
請求項1に記載の電気光学装置。
【請求項4】
前記導電層および前記第2絶縁層は、平面視で格子状である
請求項1に記載の電気光学装置。
【請求項5】
前記導電層には、定電位が印加される
請求項1に記載の電気光学装置。
【請求項6】
前記導電層は接地される
請求項5に記載の電気光学装置。
【請求項7】
前記導電層は、
第2絶縁層におけるトレンチの底部に設けられ、
当該トレンチの深さは、前記導電層の厚さよりも深い、
請求項1に記載の電気光学装置。
【請求項8】
請求項1乃至7のいずれかの電気光学装置と、
前記電気光学装置を収容する筐体と、
を含み、
前記導電層および前記第2絶縁層は、前記筐体に接触している
表示モジュール。
【請求項9】
請求項8に記載の表示モジュールを含む電子機器。
発明の詳細な説明
【技術分野】
【0001】
本発明は、電気光学装置、表示モジュールおよび電子機器に関する。
続きを表示(約 2,100 文字)
【背景技術】
【0002】
例えば、液晶素子を用いた電気光学装置では、一定の間隙に保たれた一対の基板によって液晶層が挟持される。より具体的には、一方の基板である素子基板において画素電極がマトリクス状に配列し、他方の基板である対向基板にコモン電極が各画素にわたって共通となるように設けられて、画素電極とコモン電極とで液晶層が挟持される。
このような電気光学装置において、光の利用効率を低下するのを防止するために、配向膜と画素電極との間に、中間屈折膜を設ける技術が知られている(例えば、特許文献1に記載の技術参照)。
【先行技術文献】
【特許文献】
【0003】
特開2022-62752号公報
【発明の概要】
【発明が解決しようとする課題】
【0004】
電気光学装置が投射型表示装置などに適用される場合、電気光学装置には光源からの強い光が入射する。特に、上記技術のように光の利用効率を高める、ということは、それだけ電気光学装置に強い光が入射する、ということを意味する。入射した光は、電気光学装置の各部、特に液晶層の温度を上昇させる。液晶層の温度が上昇すると、液晶層の電気光学応答性が変化するだけなく、液晶層が劣化し、電気光学装置の寿命が短縮してしまう、という課題がある。
【課題を解決するための手段】
【0005】
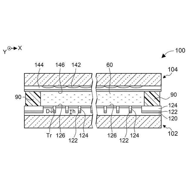
上記課題を解決するために、本開示の一態様に係る電気光学装置は、第1基板と、前記第1基板と対向する第2基板と、前記第1基板と前記第2基板との間に配置された液晶層と、前記第1基板と前記液晶層との間に設けられた第1絶縁層と、前記第1絶縁層と前記液晶層との間に設けられた第1画素電極および第2画素電極と、平面視で第1画素電極と第2画素電極との間の領域に設けられ、前記第1絶縁層よりも高い熱伝導率を有する第2絶縁層と、平面視における第1画素電極と第2画素電極との間の領域において、断面視で前記第2絶縁層と前記第1基板との間において前記第2絶縁層と接して設けられた導電層と、を有する。
【図面の簡単な説明】
【0006】
実施形態に係る電気光学装置を示す斜視図である。
電気光学装置の断面図である。
電気光学装置を筐体に収容した状態の断面図である。
電気光学装置の構成を示すブロック図である。
電気光学装置における画素回路の構成を示す図である。
電気光学装置の動作を説明するための図である。
電気光学装置の素子基板を部分的に拡大した平面図である。
電気光学装置の要部を示す部分拡大断面図である。
電気光学装置における熱の伝導経路を示す平面図である。
電気光学装置における熱の伝導経路を示す断面図である。
実施形等に係る電気光学装置を適用した投射型表示装置を示す図である。
比較例に係る電気光学装置の素子基板を部分的に拡大した平面図である。
比較例に係る電気光学装置の要部を示す部分拡大断面図である。
【発明を実施するための形態】
【0007】
以下、実施形態に係る投射型表示装置について図面を参照して説明する。なお、各図において、各部の寸法および縮尺は、実際のものと適宜に異ならせてある。また、以下に述べる実施の形態は、好適な具体例であるから、技術的に好ましい種々の限定が付されているが、本開示の範囲は、以下の説明において特に本開示を限定する旨の記載がない限り、これらの形態に限られるものではない。
【0008】
図1は、表示モジュール1を示す斜視図である。表示モジュール1は、実施形態に係る電気光学装置100を含む。
電気光学装置100は、例えば、投射型表示装置のライトバルブとして用いられる透過型の液晶パネルである。電気光学装置100は、矩形形状の開口部71を有する枠状の筐体70に収納される。なお、開口部71は開口端Ap1で規定される。また、電気光学装置100は透過型であるから、筐体70において電気光学装置100を基準にして開口部71とは反対側にも開口部が設けられる。
電気光学装置100には、FPC基板82の一端が接続される。なお、FPCは、Flexible Printed Circuitsの略語である。FPC基板82の他端には、複数の端子84が設けられて、図示省略された上位回路に接続される。
【0009】
FPC基板82には、半導体チップの表示制御回路20がフェイスダウンボンディングによって実装されるとともに、上位回路から複数の端子84を介して映像データが同期信号に同期して供給される。映像データとは、表示すべき画像における画素の階調を例えば8ビットで規定する。
【0010】
なお、図において、X方向とは、表示領域における長手方向であって、走査線の延在方向であり、Y方向とは、表示領域における短手方向であって、データ線の延在方向である。
(【0011】以降は省略されています)
この特許をJ-PlatPat(特許庁公式サイト)で参照する
関連特許
カンタツ株式会社
光学系
24日前
日本精機株式会社
表示装置
29日前
日本精機株式会社
表示装置
29日前
アイカ工業株式会社
反射防止フィルム
24日前
キヤノン株式会社
映像表示装置
13日前
アイカ工業株式会社
反射防止フィルム
今日
インターマン株式会社
立体映像表示装置
13日前
日本精機株式会社
ヘッドアップディスプレイ
29日前
沖電気工業株式会社
光導波路素子
29日前
沖電気工業株式会社
光導波路素子
29日前
沖電気工業株式会社
光導波路素子
29日前
個人
透過型及び反射型顕微鏡
13日前
東レ株式会社
プラスチック光ファイバ
23日前
キヤノン株式会社
画像表示装置
21日前
キヤノン株式会社
レンズ装置および撮像装置
1日前
レーザーテック株式会社
検査装置及び検査方法
3日前
キヤノン株式会社
表示装置
6日前
東レ株式会社
先端に凸面を有する光ファイバ
13日前
日東電工株式会社
光学積層体
27日前
株式会社小糸製作所
画像投影装置
13日前
日東電工株式会社
光学積層体
14日前
株式会社小糸製作所
画像投影装置
14日前
キヤノン株式会社
光学系及び撮像装置
7日前
株式会社小糸製作所
画像生成装置
22日前
KDDI株式会社
光増幅器
13日前
日本電気株式会社
リング共振器、およびその製造方法
29日前
KDDI株式会社
光増幅器
13日前
住友化学株式会社
複合偏光板及び画像表示装置
1日前
キヤノン株式会社
光学装置
27日前
株式会社JVCケンウッド
液晶表示装置
1か月前
KDDI株式会社
光増幅器
今日
KDDI株式会社
光増幅器
今日
日本電気株式会社
リング共振器、およびその製造方法
28日前
キヤノン株式会社
光学系および撮像装置
24日前
セイコーエプソン株式会社
虚像表示装置
3日前
株式会社JVCケンウッド
液晶表示装置
1か月前
続きを見る
他の特許を見る