TOP
|
特許
|
意匠
|
商標
特許ウォッチ
Twitter
他の特許を見る
10個以上の画像は省略されています。
公開番号
2025144196
公報種別
公開特許公報(A)
公開日
2025-10-02
出願番号
2024043862
出願日
2024-03-19
発明の名称
注文支援システム、注文支援方法及びプログラム
出願人
日本電気株式会社
代理人
個人
,
個人
主分類
G06Q
30/0601 20230101AFI20250925BHJP(計算;計数)
要約
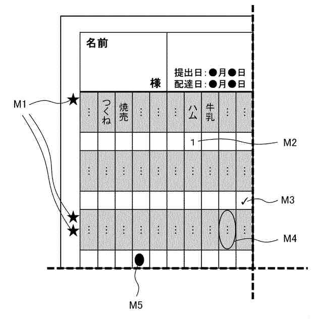
【課題】紙の注文書を活用した商品の注文を支援する注文支援システムを提供する。
【解決手段】本開示に係る注文支援システムは、顧客端末によって撮影された注文書の画像を取得する画像取得手段と、前記注文書に記入された商品ごとの顧客による注文数を前記画像から認識する認識手段と、過去に前記顧客に注文された商品について、認識された前記注文数と過去の注文数との差を計算する計算手段と、認識された前記注文数と過去の注文数の差に基づいて、認識された前記注文数の修正に関する通知を前記顧客端末に出力する出力手段とを備える。
【選択図】 図1
特許請求の範囲
【請求項1】
顧客端末によって撮影された注文書の画像を取得する画像取得手段と、
前記注文書に記入された商品ごとの顧客による注文数を前記画像から認識する認識手段と、
過去に前記顧客に注文された商品について、認識された前記注文数と過去の注文数との差を計算する計算手段と、
認識された前記注文数と過去の注文数の差に基づいて、認識された前記注文数の修正に関する通知を前記顧客端末に出力する出力手段と
を備える注文支援システム。
続きを表示(約 1,100 文字)
【請求項2】
前記出力手段は、認識された前記注文数が1以上である商品の隣に前記注文書において印刷されている商品について、過去の注文数が1以上であり、認識された前記注文数が0である場合、前記通知を出力する
請求項1に記載の注文支援システム。
【請求項3】
前記出力手段は、商品番号及び前記注文数が記入された商品の商品番号と類似する商品番号の商品について、過去の注文数が1以上であり、認識された前記注文数が0である場合、前記通知を出力する
請求項1に記載の注文支援システム。
【請求項4】
前記出力手段は、認識された前記注文数が1以上の商品のリストの出力と関連付けて前記通知を出力する、
請求項1に記載の注文支援システム。
【請求項5】
前記注文数が認識された商品の注文を受け付ける注文受付手段をさらに備える
請求項1乃至4のいずれか1項に記載の注文支援システム。
【請求項6】
前記注文受付手段が受け付けた注文をした前記顧客に対し、回収された前記注文書により受け付けた注文をした顧客と比べて高い特典を付与する付与手段をさらに備える
請求項5に記載の注文支援システム。
【請求項7】
前記注文受付手段は、回収された前記注文書により注文を受け付ける場合の期限と比べて遅い期限まで、認識された前記注文数の商品の注文を受け付ける
請求項5に記載の注文支援システム。
【請求項8】
前記画像が撮影された時点で前記注文書の提出期限を超過していた場合、前記出力手段は、前記顧客端末からであれば注文を受け付けることの通知を出力する
請求項5に記載の注文支援システム。
【請求項9】
顧客端末によって撮影された注文書の画像を取得し、
前記注文書に記入された商品ごとの顧客による注文数を前記画像から認識し、
過去に前記顧客に注文された商品について、認識された前記注文数と過去の注文数との差を計算し、
認識された前記注文数と過去の注文数の差に基づいて、認識された前記注文数の修正に関する通知を前記顧客端末に出力する
注文支援方法。
【請求項10】
顧客端末によって撮影された注文書の画像を取得し、
前記注文書に記入された商品ごとの顧客による注文数を前記画像から認識し、
過去に前記顧客に注文された商品について、認識された前記注文数と過去の注文数との差を計算し、
認識された前記注文数と過去の注文数の差に基づいて、認識された前記注文数の修正に関する通知を前記顧客端末に出力する
処理をコンピュータに実行させるプログラム。
発明の詳細な説明
【技術分野】
【0001】
本開示は、注文支援システム等に関する。
続きを表示(約 1,300 文字)
【背景技術】
【0002】
顧客への商品の配送サービスにおいて、顧客の注文が紙の注文書を用いて受け付けられる場合がある。定期的な配送が行われる場合、配送員は顧客から紙の注文書を回収する。回収された注文書は、例えば、スキャナにセットされる。スキャナは、文字認識技術を用いて商品ごとに注文書に記入された注文数を読み取る。商品ごとの注文数の読取情報は、注文管理システムに送信される。注文された商品は、後日、配送員により配送される。
【0003】
特許文献1は、剥離可能なシールを有する注文カタログを開示する。注文カタログから剥離されたシールは、注文シートに貼着される。特許文献1の情報処理装置は、シールが貼着された注文シートの画像に含まれるシールのコードから、注文対象の識別子を取得する。
【先行技術文献】
【特許文献】
【0004】
特開2020-086661号公報
【発明の概要】
【発明が解決しようとする課題】
【0005】
紙の注文書を用いて注文を行うことを好む顧客がいる。ただし、紙の注文書を用いることには、不便な点もある。
【0006】
本開示の目的の一つは、紙の注文書を活用した商品の注文を支援する注文支援システム等を提供することを目的とする。
【課題を解決するための手段】
【0007】
本開示の一態様における注文支援システムは、顧客端末によって撮影された注文書の画像を取得する画像取得手段と、前記注文書に記入された商品ごとの顧客による注文数を前記画像から認識する認識手段と、過去に前記顧客に注文された商品について、認識された前記注文数と過去の注文数との差を計算する計算手段と、認識された前記注文数と過去の注文数の差に基づいて、認識された前記注文数の修正に関する通知を前記顧客端末に出力する出力手段とを備える。
【0008】
本開示の一態様における注文支援方法は、顧客端末によって撮影された注文書の画像を取得し、前記注文書に記入された商品ごとの顧客による注文数を前記画像から認識し、過去に前記顧客に注文された商品について、認識された前記注文数と過去の注文数との差を計算し、認識された前記注文数と過去の注文数の差に基づいて、認識された前記注文数の修正に関する通知を前記顧客端末に出力する。
【0009】
本開示の一態様におけるプログラムは、顧客端末によって撮影された注文書の画像を取得し、前記注文書に記入された商品ごとの顧客による注文数を前記画像から認識し、過去に前記顧客に注文された商品について、認識された前記注文数と過去の注文数との差を計算し、認識された前記注文数と過去の注文数の差に基づいて、認識された前記注文数の修正に関する通知を前記顧客端末に出力する処理をコンピュータに実行させる。プログラムは、コンピュータが読み取り可能な非一時的な記録媒体に記憶されていてもよい。
【発明の効果】
【0010】
本開示による効果の一例は、紙の注文書を活用した商品の注文を支援できることにある。
【図面の簡単な説明】
(【0011】以降は省略されています)
この特許をJ-PlatPat(特許庁公式サイト)で参照する
関連特許
日本電気株式会社
学習装置
1か月前
日本電気株式会社
学習装置
1か月前
日本電気株式会社
分析装置
7日前
日本電気株式会社
原子発振器
1か月前
日本電気株式会社
超伝導量子回路
27日前
日本電気株式会社
マルチバンドバラン
25日前
日本電気株式会社
通信装置および通信方法
3日前
日本電気株式会社
検知装置および検知方法
7日前
日本電気株式会社
量子回路装置と制御方法
7日前
日本電気株式会社
送信装置および通信装置
3日前
日本電気株式会社
量子回路装置と制御方法
7日前
日本電気株式会社
端末装置および無線通信方法
18日前
日本電気株式会社
分析方法および分析システム
4日前
日本電気株式会社
機器冷却装置及びその冷却方法
19日前
日本電気株式会社
共振器及びそれを備えた導波回路
5日前
日本電気株式会社
処理装置、方法、及びプログラム
1か月前
日本電気株式会社
TS合成装置および放送システム
1か月前
日本電気株式会社
プログラム、算出装置、及び方法
19日前
日本電気株式会社
ピーク抑圧装置及びピーク抑圧方法
17日前
日本電気株式会社
リング共振器、およびその製造方法
1か月前
日本電気株式会社
推定装置、推定方法及びプログラム
10日前
日本電気株式会社
推定装置、推定方法及びプログラム
10日前
日本電気株式会社
リング共振器、およびその製造方法
1か月前
日本電気株式会社
システム及びマイグレーション方法
7日前
日本電気株式会社
処理装置、処理方法、及びプログラム
7日前
日本電気株式会社
画像管理システムおよび画像管理方法
5日前
日本電気株式会社
波長可変レーザ装置及びその構成方法
3日前
日本電気株式会社
推定装置、推定方法、及び、記録媒体
4日前
日本電気株式会社
予測システム、予測方法及びプログラム
10日前
日本電気株式会社
注文端末、注文受付方法及びプログラム
3日前
日本電気株式会社
判定装置、判定方法、及び、プログラム
27日前
日本電気株式会社
管理システム、管理方法及びプログラム
17日前
日本電気株式会社
通信装置、通信方法及び通信プログラム
4日前
日本電気株式会社
通信システム及びパケット順序補正方法
18日前
日本電気株式会社
映像処理装置、映像処理方法、プログラム
7日前
日本電気株式会社
画像選択装置、画像選択方法及び記憶媒体
5日前
続きを見る
他の特許を見る