TOP
|
特許
|
意匠
|
商標
特許ウォッチ
Twitter
他の特許を見る
10個以上の画像は省略されています。
公開番号
2025143760
公報種別
公開特許公報(A)
公開日
2025-10-02
出願番号
2024043177
出願日
2024-03-19
発明の名称
熱式流量計
出願人
東フロコーポレーション株式会社
代理人
個人
主分類
G01F
1/69 20060101AFI20250925BHJP(測定;試験)
要約
【課題】低流量であっても高速かつ高精度で正確な流量測定を行うことができる熱式流量計を提供する。
【解決手段】本発明に係る熱式流量計1は、流路2を流れる流体4に接する接流体部の加熱及び温度検出を行うセンサ部5と、センサ部5による加熱及び温度検出を制御する制御部と、を備え、制御部は、接流体部の加熱時に接流体部温度が上限設定温度に到達するまでの温度上昇時間と、接流体部の加熱停止時に接流体部温度が下限設定温度に到達するまでの温度降下時間を計測し、温度上昇時間と温度降下時間に基づいて測定された流速を流量値に換算して流量測定を行う。
【選択図】図1
特許請求の範囲
【請求項1】
流路を流れる流体に接する接流体部の加熱及び温度検出を行うセンサ部と、
前記センサ部による加熱及び温度検出を制御する制御部と、を備え、
前記制御部は、
前記接流体部の加熱時に接流体部温度が上限設定温度に到達するまでの温度上昇時間と、前記接流体部の加熱停止時に接流体部温度が下限設定温度に到達するまでの温度降下時間を計測し、前記温度上昇時間と前記温度降下時間に基づいて測定された流速を流量値に換算して流量測定を行う
ことを特徴とする熱式流量計。
続きを表示(約 690 文字)
【請求項2】
前記制御部は、
前記温度上昇時間と前記温度降下時間に基づいて時間比を算出し、算出された前記時間比に基づいて測定された流速を流量値に換算して流量測定を行う
ことを特徴とする請求項1に記載の熱式流量計。
【請求項3】
前記制御部は、
前記温度上昇時間と前記温度降下時間の差分を算出し、算出された前記差分に基づいて測定された流速を流量値に換算して流量測定を行う
ことを特徴とする請求項1に記載の熱式流量計。
【請求項4】
前記センサ部は、
前記流路に設置される伝熱管と、
前記伝熱管内に配置されて前記接流体部の加熱及び温度検出を行う測温抵抗体と、
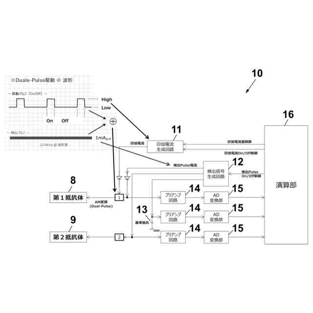
前記測温抵抗体の抵抗値に比例したパルス電流を印加するトランスと、
前記トランスに流れるパルス電流により前記測温抵抗体の抵抗値に比例したパルス電圧を発生させる基準抵抗と、を備えて構成されている
ことを特徴とする請求項1に記載の熱式流量計。
【請求項5】
前記制御部は、
前記センサ部に対し、加熱用の印加電流に温度検出用の検出パルス電流を加えた重畳電流を供給する
ことを特徴とする請求項1に記載の熱式流量計。
【請求項6】
前記制御部は、
前記接流体部温度が温度上昇設定レベルに到達した時点で前記接流体部の加熱を停止し、前記接流体部温度が温度降下設定レベルに到達した時点で前記接流体部の加熱を開始する
ことを特徴とする請求項1に記載の熱式流量計。
発明の詳細な説明
【技術分野】
【0001】
本発明は、接流体部の温度上昇時間と温度降下時間に基づいて流体の流量を測定する熱式流量計に関する。
続きを表示(約 1,400 文字)
【背景技術】
【0002】
従来、流体の温度を検出して流体の流量を測定するものとして、例えば下記の特許文献1に記載された流量計が知られている。この流量計は、流路に配置された発熱源と、発熱源の下流に配置された温度検出素子を備えて構成されている。流量の測定方式は、発熱源を発熱させ、流路を流れる流体の温度を温度検出素子で検出して、発熱源の発熱駆動時刻から検出温度が最大値となる時刻までの時間差により流体の流量を測定するというものである。
【先行技術文献】
【特許文献】
【0003】
特開2002-214015号公報
【発明の概要】
【発明が解決しようとする課題】
【0004】
ところが、前記従来の流量計によると、流体の流速が遅い低流量の場合には、発熱源で加熱された流体が下流の温度検出素子に到達するまでの時間が長くなり、流体からの放熱量が増えて検出温度が最大値となる時刻を検出するのが困難になるという問題がある。
【0005】
本発明はこのような問題に鑑みてなされたものであり、その目的とするところは、低流量であっても高速かつ高精度で正確な流量測定を行うことができる熱式流量計を提供することにある。
【課題を解決するための手段】
【0006】
前記の課題を解決するため、本発明に係る熱式流量計は、流路を流れる流体に接する接流体部の加熱及び温度検出を行うセンサ部と、前記センサ部による加熱及び温度検出を制御する制御部と、を備え、前記制御部は、前記接流体部の加熱時に接流体部温度が上限設定温度に到達するまでの温度上昇時間と、前記接流体部の加熱停止時に接流体部温度が下限設定温度に到達するまでの温度降下時間を計測し、前記温度上昇時間と前記温度降下時間に基づいて測定された流速を流量値に換算して流量測定を行うことを特徴とする。なお、接流体部とは、流体が液体の場合には液体に接する接液部のことを意味し、流体がガス(気体)の場合にはガスに接する接ガス部のことを意味している。
【0007】
また、本発明は、前記構成からなる熱式流量計において、前記制御部は、前記温度上昇時間と前記温度降下時間に基づいて時間比を算出し、算出された前記時間比に基づいて測定された流速を流量値に換算して流量測定を行うことを特徴とする。
【0008】
また、本発明は、前記構成からなる熱式流量計において、前記制御部は、前記温度上昇時間と前記温度降下時間の差分を算出し、算出された前記差分に基づいて測定された流速を流量値に換算して流量測定を行うことを特徴とする。
【0009】
また、本発明は、前記構成からなる熱式流量計において、前記センサ部は、前記流路に設置される伝熱管と、前記伝熱管内に配置されて前記接流体部の加熱及び温度検出を行う測温抵抗体と、前記測温抵抗体の抵抗値に比例したパルス電流を印加するトランスと、前記トランスに流れるパルス電流により前記測温抵抗体の抵抗値に比例したパルス電圧を発生させる基準抵抗と、を備えて構成されていることを特徴とする。
【0010】
また、本発明は、前記構成からなる熱式流量計において、前記制御部は、前記センサ部に対し、加熱用の印加電流に温度検出用の検出パルス電流を加えた重畳電流を供給することを特徴とする。
(【0011】以降は省略されています)
この特許をJ-PlatPat(特許庁公式サイト)で参照する
関連特許
個人
計量スプーン
25日前
個人
微小振動検出装置
1か月前
株式会社イシダ
X線検査装置
1か月前
日本精機株式会社
位置検出装置
3日前
日本精機株式会社
位置検出装置
3日前
日本精機株式会社
位置検出装置
3日前
大和製衡株式会社
組合せ秤
8日前
大和製衡株式会社
組合せ秤
8日前
アズビル株式会社
圧力センサ
2日前
エイブリック株式会社
磁気センサ回路
2日前
株式会社東芝
センサ
8日前
株式会社ユーシン
操作検出装置
5日前
株式会社東芝
センサ
8日前
トヨタ自動車株式会社
検査装置
5日前
トヨタ自動車株式会社
表示装置
17日前
株式会社東芝
センサ
1か月前
アンリツ株式会社
分光器
1か月前
アンリツ株式会社
分光器
1か月前
ダイハツ工業株式会社
測定用具
29日前
株式会社ヨコオ
コンタクタ
29日前
TDK株式会社
ガスセンサ
2日前
株式会社東芝
重量測定装置
1日前
TDK株式会社
磁気センサ
25日前
東レエンジニアリング株式会社
計量装置
5日前
個人
粘塑性を用いた有限要素法の定式化
17日前
TDK株式会社
磁気センサ
1か月前
TDK株式会社
ガスセンサ
1日前
株式会社ナリス化粧品
角層細胞採取用具
15日前
個人
材料特性パラメータの算定方法
25日前
TDK株式会社
磁気計測装置
16日前
成田空港給油施設株式会社
保持治具
16日前
中国電力株式会社
異常箇所検出装置
16日前
国立大学法人京都大学
バイオセンサ
1か月前
富士電機株式会社
エンコーダ
2日前
日本碍子株式会社
ガスセンサ
26日前
大同特殊鋼株式会社
超音波探傷方法
25日前
続きを見る
他の特許を見る