TOP
|
特許
|
意匠
|
商標
特許ウォッチ
Twitter
他の特許を見る
10個以上の画像は省略されています。
公開番号
2025143732
公報種別
公開特許公報(A)
公開日
2025-10-02
出願番号
2024043119
出願日
2024-03-19
発明の名称
ハイブリッド車両の制御装置
出願人
株式会社豊田中央研究所
,
株式会社豊田自動織機
代理人
個人
,
個人
主分類
B60W
20/10 20160101AFI20250925BHJP(車両一般)
要約
【課題】要求トルクに対してエンジントルクで満たす分をエンジンの運転状態に応じて最大化できる技術を提供する。
【解決手段】ハイブリッド車両の制御装置であって、エンジンの運転状態を示す状態情報を収集する情報収集部と、要求トルクに応じて、エンジントルクおよびモータジェネレータトルクを設定する設定部と、を備え、設定部は、燃料の噴射量とNOx排出量との対応関係のうち状態情報に即した対応関係と、NOx排出量の閾値と、を参照して、NOx排出量が閾値以下となる最大噴射量で燃料を噴射した際の最大トルクを算出し、要求トルクが最大トルクよりも大きい場合、最大トルクをエンジントルクとして設定するとともに、要求トルクと最大トルクとの差にあたるトルクをモータジェネレータトルクとして設定し、要求トルクが最大トルクよりも小さい場合、要求トルクをエンジントルクとして設定する。
【選択図】図1
特許請求の範囲
【請求項1】
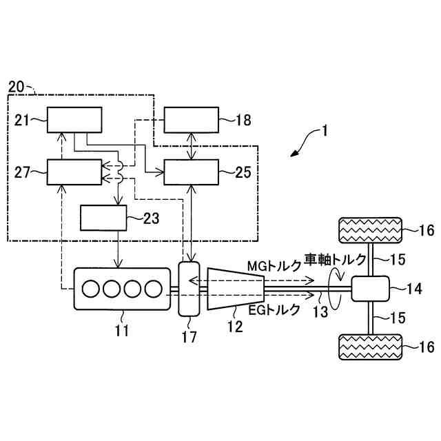
エンジンおよびモータジェネレータを駆動源とするハイブリッド車両の制御装置であって、
少なくとも前記エンジンの回転数および空燃比を前記エンジンの運転状態を示す状態情報として収集する情報収集部と、
前記ハイブリッド車両に要求された要求トルクに応じて、前記エンジンから出力されるエンジントルクおよび前記モータジェネレータから出力されるモータジェネレータトルクを設定する設定部と、を備え、
前記設定部は、前記エンジンにおける燃料の噴射量と前記ハイブリッド車両の外部へのNOx排出量との対応関係のうち前記状態情報に即した前記対応関係と、前記NOx排出量の閾値と、を参照して、前記NOx排出量が前記閾値以下となる前記噴射量のうちの最大噴射量で前記燃料を噴射した際の前記エンジントルクである最大トルクを算出し、
前記要求トルクが前記最大トルクよりも大きい場合、前記最大トルクを前記エンジントルクとして設定するとともに、前記要求トルクと前記最大トルクとの差にあたるトルクを前記モータジェネレータトルクとして設定し、
前記要求トルクが前記最大トルクよりも小さい場合、前記要求トルクを前記エンジントルクとして設定する、ハイブリッド車両の制御装置。
続きを表示(約 550 文字)
【請求項2】
請求項1に記載のハイブリッド車両の制御装置であって、
前記設定部は、現在の前記エンジントルクが前記要求トルクよりも小さい場合、前記エンジントルクの時間増加率であるトルクレートの上限値以下の前記トルクレートで前記エンジントルクが増加するよう前記エンジントルクを設定する、ハイブリッド車両の制御装置。
【請求項3】
請求項1または請求項2に記載のハイブリッド車両の制御装置であって、
前記設定部は、前記最大トルクを算出するとき、前記エンジンからの排ガスを浄化する触媒の浄化率が高いほど前記閾値を増加補正した補正後閾値を参照する、ハイブリッド車両の制御装置。
【請求項4】
請求項1または請求項2に記載のハイブリッド車両の制御装置であって、
前記設定部は、前記モータジェネレータに電力を供給するとともに前記モータジェネレータによって発電された電力を蓄電する二次電池の蓄電量が予め設定した設定蓄電量よりも多い場合、前記蓄電量が前記設定蓄電量以下であるときと比べて小さい前記エンジントルクを設定するとともに、前記蓄電量が前記設定蓄電量以下であるときと比べて大きい前記モータジェネレータトルクを設定する、ハイブリッド車両の制御装置。
発明の詳細な説明
【技術分野】
【0001】
本発明は、ハイブリッド車両の制御装置に関する。
続きを表示(約 2,400 文字)
【背景技術】
【0002】
従来、エンジンおよびモータジェネレータを駆動源とするハイブリッド車両が知られている。このようなハイブリッド車両では、特許文献1に開示されているように、エンジンおよびモータジェネレータの各々が分担して、加速時に要求される要求トルクに応じる。
【先行技術文献】
【特許文献】
【0003】
特開2015-77897号公報
【発明の概要】
【発明が解決しようとする課題】
【0004】
同じ噴射量で燃料をエンジンに噴射しても、エンジンの運転状態に応じてハイブリッド車両の外部へのNOx排出量は変動する。このため、NOx排出量の閾値が変動しないことを前提として燃料噴射を制御した場合、NOx排出量が閾値以下且つ閾値付近になることを想定して予め定められた噴射量で燃料を噴射しても、NOx排出量が閾値以下ではあるが閾値付近にならないことがある。このような場合、予め定められた噴射量から更にNOx排出量が閾値付近になるまで噴射量を増量できることから、要求トルクに対してエンジントルクで満たす分を最大化できていない。そのため、要求トルクに対してエンジントルクで満たす分をエンジンの運転状態に応じて最大化できる技術が望まれていた。なお、特許文献1では、エンジンの運転状態に応じてハイブリッド車両へのNOx排出量が変動することについては何ら考慮していない。
【0005】
本発明は、上述の課題の少なくとも一部を解決するためになされたものであり、ハイブリッド車両の制御装置において、要求トルクに対してエンジントルクで満たす分をエンジンの運転状態に応じて最大化できる技術を提供することを目的とする。
【課題を解決するための手段】
【0006】
本発明は、上述の課題の少なくとも一部を解決するためになされたものであり、以下の形態として実現することが可能である。
【0007】
(1)本発明の一形態によれば、ハイブリッド車両の制御装置が提供される。この制御装置は、エンジンおよびモータジェネレータを駆動源とするハイブリッド車両の制御装置であって、少なくとも前記エンジンの回転数および空燃比を前記エンジンの運転状態を示す状態情報として収集する情報収集部と、前記ハイブリッド車両に要求された要求トルクに応じて、前記エンジンから出力されるエンジントルクおよび前記モータジェネレータから出力されるモータジェネレータトルクを設定する設定部と、を備え、前記設定部は、前記エンジンにおける燃料の噴射量と前記ハイブリッド車両の外部へのNOx排出量との対応関係のうち前記状態情報に即した前記対応関係と、前記NOx排出量の閾値と、を参照して、前記NOx排出量が前記閾値以下となる前記噴射量のうちの最大噴射量で前記燃料を噴射した際の前記エンジントルクである最大トルクを算出し、前記要求トルクが前記最大トルクよりも大きい場合、前記最大トルクを前記エンジントルクとして設定するとともに、前記要求トルクと前記最大トルクとの差にあたるトルクを前記モータジェネレータトルクとして設定し、前記要求トルクが前記最大トルクよりも小さい場合、前記要求トルクを前記エンジントルクとして設定する。
【0008】
NOx排出量が閾値以下となる噴射量のうちの最大噴射量は、NOx排出量と同様に、エンジンの運転状態に応じて変動する。この構成によれば、状態情報に即した対応関係から最大噴射量を算出するとともに、算出された最大噴射量で燃料を噴射した際のエンジントルクを最大トルクとして算出する。このため、要求トルクが最大トルクよりも大きい場合には、最大トルクをエンジントルクとして設定することによって、NOx排出量を閾値以下に維持しつつ、要求トルクに対してエンジントルクで満たす分をエンジンの運転状態に応じて最大化することができる。
【0009】
(2)上記形態の制御装置において、前記設定部は、現在の前記エンジントルクが前記要求トルクよりも小さい場合、前記エンジントルクの時間増加率であるトルクレートの上限値以下の前記トルクレートで前記エンジントルクが増加するよう前記エンジントルクを設定してもよい。
この構成によれば、トルクレートの上限値以下のトルクレートでエンジントルクを増加させることができる。このため、トルクレートの上限値がエンジンによる騒音の急激な増大を招かない値に設定されている場合、エンジントルクが増加しても、エンジンによる騒音の増大を緩やかにさせることができる。また、トルクレートの上限値がエンジンの運転状態の急変による排ガスの増大を生じさせない値に設定されている場合、エンジントルクが増加しても、エンジンの運転状態が急変するのを抑制できるため、排ガスの増大を生じさせないようにすることができる。
【0010】
(3)上記形態の制御装置において、前記設定部は、前記最大トルクを算出するとき、前記エンジンからの排ガスを浄化する触媒の浄化率が高いほど前記閾値を増加補正した補正後閾値を参照してもよい。
この構成によれば、触媒の浄化率に応じて増加補正した補正後閾値を参照して、最大トルクを算出することができる。補正後閾値は触媒の浄化率に応じて補正された値であることから、補正後閾値を参照して算出された最大噴射量で燃料を噴射しても触媒の浄化によりハイブリッド車両1の外部へのNOx排出量を閾値以下にすることができる。このため、要求トルクが最大トルクよりも大きい場合には、最大トルクをエンジントルクとして設定することによって、NOx排出量を閾値以下に維持しつつ、要求トルクに対してエンジントルクで満たす分をエンジンの運転状態および触媒の浄化率に応じて最大化することができる。
(【0011】以降は省略されています)
特許ウォッチbot のツイートを見る
この特許をJ-PlatPat(特許庁公式サイト)で参照する
関連特許
個人
カーテント
4か月前
個人
タイヤレバー
2か月前
個人
前輪キャスター
1か月前
個人
上部一体型自動車
5日前
個人
ルーフ付きトライク
2か月前
個人
ホイルのボルト締結
3か月前
個人
タイヤ脱落防止構造
1か月前
井関農機株式会社
作業車両
3か月前
日本精機株式会社
表示装置
2か月前
個人
キャンピングトライク
3か月前
個人
マスタシリンダ
12日前
日本精機株式会社
表示装置
2か月前
日本精機株式会社
表示装置
1か月前
井関農機株式会社
作業車両
4か月前
個人
車両通過構造物
2か月前
日本精機株式会社
表示装置
2か月前
個人
キャンピングトレーラー
3か月前
個人
車両用スリップ防止装置
3か月前
個人
乗合路線バスの客室装置
2か月前
個人
アクセルのソフトウェア
3か月前
個人
円湾曲ホイール及び球体輪
2か月前
個人
音声ガイド、音声サービス
2か月前
株式会社豊田自動織機
産業車両
2か月前
日本精機株式会社
車室演出装置
1か月前
株式会社ニフコ
保持装置
3か月前
個人
車載小物入れ兼雨傘収納具
3か月前
日本精機株式会社
車載表示装置
3か月前
日本精機株式会社
画像投映装置
1日前
株式会社ニフコ
収納装置
29日前
日本精機株式会社
車載表示装置
20日前
株式会社ニフコ
照明装置
1か月前
極東開発工業株式会社
車両
2か月前
トヨタ自動車株式会社
車両
3か月前
日本精機株式会社
車両用表示装置
1日前
井関農機株式会社
作業車両
3か月前
日本精機株式会社
車両用投影装置
4か月前
続きを見る
他の特許を見る