TOP
|
特許
|
意匠
|
商標
特許ウォッチ
Twitter
他の特許を見る
公開番号
2025143712
公報種別
公開特許公報(A)
公開日
2025-10-02
出願番号
2024043087
出願日
2024-03-19
発明の名称
廃液からのガス発生量の測定方法
出願人
大口電子株式会社
代理人
個人
,
個人
主分類
G01N
7/00 20060101AFI20250925BHJP(測定;試験)
要約
【課題】 廃液の運送時の振動によりタンクの変形等のトラブルを発生させる程度のガス量が当該廃液から発生するか否かを事前に確認する測定方法を提供する。
【解決手段】 廃液を振動させたときのガス発生量の測定方法であって、サンプリング容器1に装入した所定量の廃液試料Sを所定の条件で振とうさせることで生じるガスをその発生量よりも大きな有効容積を有し且つ空気で満たされた密閉の仲介容器4内に導入し、該導入したガスによって仲介容器4から押し出された空気を水中で液満状態のまま上下反転した姿勢で保持されている測定容器7に導入することで廃液試料Sからのガスの発生量を求める。
【選択図】 図1
特許請求の範囲
【請求項1】
廃液を振動させたときのガス発生量の測定方法であって、サンプリング容器に装入した所定量の廃液を所定の条件で振とうさせることで生じるガスをその発生量よりも大きな有効容積を有し且つ空気で満たされた密閉容器内に導入し、前記導入したガスによって前記密閉容器から押し出された空気を水中で液満状態のまま上下反転した姿勢で保持されている測定容器に導入することで前記廃液からのガスの発生量を求めるガス発生量の測定方法。
続きを表示(約 140 文字)
【請求項2】
前記廃液からのガス発生量を、前記測定容器内に捕集された前記押し出された空気の体積と、前記仲介容器から前記測定容器に前記押し出された空気を導入する管内において前記押し出された空気によって増加した体積とを加えた合計から求める、請求項1に記載のガス発生量の測定方法。
発明の詳細な説明
【技術分野】
【0001】
本発明は廃液からのガス発生量の測定方法に関し、特に容器の振動により内部に入れた使用済みの硝酸や王水などの廃液から発生するガスの発生量を簡易に測定する方法に関する。
続きを表示(約 1,900 文字)
【背景技術】
【0002】
スマートフォンやパソコン等の電子機器に使用されている電子基板や電子部品には、銅や鉄などのベースメタルのほか、金、銀、パラジウムなどの貴金属、ニッケルやニオブなどの希少金属が使われているため、これら電子機器が役割を終えて廃棄されると有価金属である貴金属や希少金属を含んだ廃棄物が大量に発生する。また、高エネルギー密度などの特性に優れており近年需要が急拡大しているリチウムイオン二次電池の正極材には、ニッケル、コバルトなどの有価金属が用いられているため、リチウムイオン二次電池が廃棄されるときも有価金属を含んだ廃棄物が大量に発生する。
【0003】
近年、環境意識の高まりに伴い、上記のような有価金属を含んだ廃棄物をリサイクル資源として再利用することが求められており、そのための様々な技術が提案されている。例えば湿式処理法により廃棄物から有価金属を回収する技術が提案されており、この技術は廃棄物を破砕した後、硝酸、硫酸、塩酸、王水などを用いて回収目的の金属を溶解し、得られた溶液を還元処理したり、溶媒抽出処理したりすることで目的となる有価金属を回収するものである。特許文献1には湿式処理法による有価金属の回収法が提案されており、この回収法では、先ず貴金属等を含むスクラップを王水に浸漬して難溶性化した白金を含有する難溶性貴金属残渣を回収し、この回収した残渣を600℃以上の温度で少なくとも3時間加熱した後に硝酸で溶解し、残った未溶解物を王水で溶解している。
【0004】
上記の湿式処理法による有価金属の回収に用いた処理液は、使用後は硝酸や王水などの酸性溶液を含む廃液として排出される。この廃液は条件によってはそのまま繰り返して使用されることがあるが、通常は外部の産廃業者に廃液処理を依頼しており、その引渡しのため、容量1m
3
程度のいわゆる1立米タンクに廃液を入れてトラックなどで運送している。この運送の際、振動などにより1立米タンク内の廃液が発泡することがあり、これにより発生したガスが1立米タンク内の気相部に充満して1立米タンクを変形させたり、1立米タンクから廃液が吹き零れたりするなどのトラブルが発生することがあった。
【先行技術文献】
【特許文献】
【0005】
特開2009-041047号公報
【発明の概要】
【発明が解決しようとする課題】
【0006】
上記の運送時の振動により廃液から発生するガスによるトラブルは、何年かに1回か2回程度の発生頻度ではあるものの、機器の破損コストや環境への悪影響等を考慮すれば極力発生させないことが望ましい。そこで、硝酸や王水などの廃液を1立米タンクに入れて運送する前に、該廃液の振動により1立米タンクの変形や1立米タンクからの廃液の吹き零れなどのトラブルを生じさせる程度のガス量が発生するか否かを好ましくは作業現場で事前に推定することが求められている。
【0007】
本発明は上記事情に鑑みてなされたものであり、産廃業者への廃液の引渡しの可否を判断すべく、運送時の振動によりタンクの変形等のトラブルを発生させる程度のガス量(体積)が該廃液から発生するか否かを好ましくは作業現場で事前に確認する測定方法を提供することを目的とする。
【課題を解決するための手段】
【0008】
上記目的を達成するため、本発明に係るガス発生量の測定方法は、廃液を振動させたときのガス発生量の測定方法であって、サンプリング容器に装入した所定量の廃液を所定の条件で振とうさせることで生じるガスをその発生量よりも大きな有効容積を有し且つ空気で満たされた密閉容器内に導入し、前記導入したガスによって前記密閉容器から押し出された空気を水中で液満状態のまま上下反転した姿勢で保持されている測定容器に導入することで前記廃液からのガスの発生量を求めることを特徴としている。
【発明の効果】
【0009】
本発明によれば、運送時の振動によりタンクの変形等のトラブルを発生させる程度のガス量が廃液から発生するか否かを事前に確認することが可能になる。
【図面の簡単な説明】
【0010】
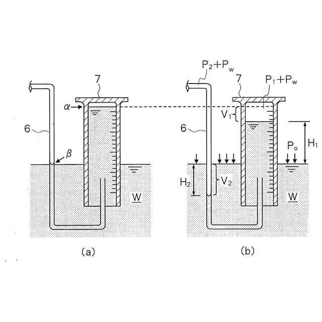
本発明に係る廃液からのガス発生量の測定方法を好適に実施可能な測定装置のフロー図である。
図1の測定装置における空気捕集前と空気捕集後の測定容器まわりの状態を示す断面図である。
【発明を実施するための形態】
(【0011】以降は省略されています)
この特許をJ-PlatPat(特許庁公式サイト)で参照する
関連特許
大口電子株式会社
廃液からのガス発生量の測定方法
1日前
大口電子株式会社
廃基板の前処理方法及び前処理設備
6か月前
個人
計量スプーン
24日前
個人
微小振動検出装置
1か月前
株式会社イシダ
X線検査装置
1か月前
日本精機株式会社
位置検出装置
2日前
日本精機株式会社
位置検出装置
2日前
日本精機株式会社
位置検出装置
2日前
大和製衡株式会社
組合せ秤
7日前
大和製衡株式会社
組合せ秤
7日前
アズビル株式会社
圧力センサ
1日前
株式会社東芝
センサ
7日前
株式会社東芝
センサ
7日前
株式会社東芝
センサ
1か月前
株式会社ユーシン
操作検出装置
4日前
トヨタ自動車株式会社
検査装置
4日前
トヨタ自動車株式会社
表示装置
16日前
ダイハツ工業株式会社
測定用具
28日前
アンリツ株式会社
分光器
1か月前
アンリツ株式会社
分光器
1か月前
エイブリック株式会社
磁気センサ回路
1日前
TDK株式会社
磁気センサ
1か月前
個人
粘塑性を用いた有限要素法の定式化
16日前
株式会社東芝
重量測定装置
今日
TDK株式会社
ガスセンサ
1日前
東レエンジニアリング株式会社
計量装置
4日前
株式会社ヨコオ
コンタクタ
28日前
TDK株式会社
ガスセンサ
今日
TDK株式会社
磁気センサ
24日前
株式会社ナリス化粧品
角層細胞採取用具
14日前
富士電機株式会社
エンコーダ
1日前
大陽日酸株式会社
液面センサ
1か月前
日本碍子株式会社
ガスセンサ
25日前
株式会社熊谷組
RI計測装置
2日前
国立大学法人京都大学
バイオセンサ
1か月前
大同特殊鋼株式会社
超音波探傷方法
24日前
続きを見る
他の特許を見る