TOP
|
特許
|
意匠
|
商標
特許ウォッチ
Twitter
他の特許を見る
10個以上の画像は省略されています。
公開番号
2025143637
公報種別
公開特許公報(A)
公開日
2025-10-02
出願番号
2024042962
出願日
2024-03-19
発明の名称
推定装置、方法及びプログラム
出願人
株式会社JVCケンウッド
代理人
個人
主分類
G06T
7/00 20170101AFI20250925BHJP(計算;計数)
要約
【課題】対象人物が所持物を紛失した時間帯及び場所の推定精度を向上させること。
【解決手段】推定装置(100)は、撮影時刻が異なる3以上の画像のそれぞれから、対象人物を認識する人物認識部(122)と、認識された対象人物に対応する輪郭内を人物領域とした画像のうちの第1の画像組における各画像の間で輪郭内における画素値の分布の変化量を検出する検出部(123)と、変化量が閾値以上である場合、第1の画像組の各画像が撮影された時間帯及び場所の範囲において対象人物が所持物を紛失したと推定する推定部(125)と、を備え、検出部(123)は、第1の画像組のうち少なくとも一方の第1画像における第1人物領域から対象人物の向きに応じた輪郭に身体部位の欠けである隠れ部位が検出される場合、他方の第2画像における第2人物領域として、隠れ部位を除外した輪郭内の領域を検出する。
【選択図】図2
特許請求の範囲
【請求項1】
撮影時刻が異なる3以上の画像のそれぞれから、対象人物を認識する人物認識部と、
前記認識された前記対象人物に対応する輪郭内を人物領域として検出した前記画像のうちの一対の画像の組である第1の画像組における各画像の間で、前記輪郭内における画素値の分布の変化量を検出する検出部と、
前記変化量が閾値以上である場合、前記第1の画像組の各画像が撮影された時間帯及び場所の範囲において前記対象人物が所持物を紛失したと推定する推定部と、
を備え、
前記検出部は、
前記第1の画像組のうち少なくとも一方の第1画像における第1人物領域から前記対象人物の向きに応じた輪郭に身体部位の欠けである隠れ部位が検出される場合、他方の第2画像における第2人物領域として、前記隠れ部位を除外した前記輪郭内の領域の前記変化量を検出する
推定装置。
続きを表示(約 1,300 文字)
【請求項2】
前記検出部は、
前記対象人物が認識された画像群のうち前記第1画像を除いた第2の画像組における各画像から、前記対象人物に対応する輪郭内であって前記隠れ部位を含む人物領域を検出し、前記第2の画像組における各画像の間で、前記隠れ部位を含む人物領域の輪郭内における画素値の分布の変化量を検出する
請求項1に記載の推定装置。
【請求項3】
前記推定部は、
前記隠れ部位を含む人物領域の輪郭内における画素値の分布の変化量が閾値以上である場合、前記第2の画像組の各画像が撮影された時間帯及び場所の範囲において前記対象人物が所持物を紛失したと推定する
請求項2に記載の推定装置。
【請求項4】
前記検出部は、
前記第1人物領域から前記隠れ部位が検出されない場合、前記第1人物領域から、異なる身体部位を含むように複数の分割領域に分割し、前記第2画像から、前記複数の分割領域のうち第1分割領域に含まれる身体部位に対応する輪郭内の領域を前記第2人物領域として検出し、
前記第1分割領域と前記第2人物領域との輪郭内の画素値の分布の変化量を検出する
請求項1又は2に記載の推定装置。
【請求項5】
コンピュータが、
撮影時刻が異なる3以上の画像のそれぞれから、対象人物を認識し、
前記認識された前記対象人物に対応する輪郭内を人物領域として検出し、
前記画像のうちの一対の画像の組である第1の画像組における各画像の間で、前記輪郭内における画素値の分布の変化量を検出し、
前記変化量が閾値以上である場合、前記第1の画像組の各画像が撮影された時間帯及び場所の範囲において前記対象人物が所持物を紛失したと推定し、
前記第1の画像組のうち少なくとも一方の第1画像における第1人物領域から前記対象人物の向きに応じた輪郭に身体部位の欠けである隠れ部位が検出される場合、他方の第2画像における第2人物領域として、前記隠れ部位を除外した前記輪郭内の領域の前記変化量を検出する
推定方法。
【請求項6】
撮影時刻が異なる3以上の画像のそれぞれから、対象人物を認識する人物認識処理と、
前記認識された前記対象人物に対応する輪郭内を人物領域として検出し、前記画像のうち一対の画像の組である第1の画像組における各画像の間で、前記輪郭内における画素値の分布の変化量を検出する検出処理と、
前記変化量が閾値以上である場合、前記第1の画像組の各画像が撮影された時間帯及び場所の範囲において前記対象人物が所持物を紛失したと推定する推定処理と、
をコンピュータに実行させ、
前記検出処理は、
前記第1の画像組のうち少なくとも一方の第1画像における第1人物領域から前記対象人物の向きに応じた輪郭に身体部位の欠けである隠れ部位が検出される場合、他方の第2画像における第2人物領域として、前記隠れ部位を除外した前記輪郭内の領域の前記変化量を検出する
推定プログラム。
発明の詳細な説明
【技術分野】
【0001】
本開示は、推定装置、方法及びプログラムに関する。
続きを表示(約 2,400 文字)
【背景技術】
【0002】
特許文献1には、第1の人物が撮影された画像から、第1の人物に所持物の有無の変化が生じたことを判定する画像監視装置に関する技術が開示されている。特に、特許文献1にかかる画像監視装置は、第1の人物と他の第2の人物等が交叉したときには、複数の第2の人物の画像を用いて所持物の変化を判定する。
【先行技術文献】
【特許文献】
【0003】
特開2017-16344号公報
【発明の概要】
【発明が解決しようとする課題】
【0004】
ここで、対象人物が監視カメラ等で撮影された領域内で所持物を紛失した場合、対象人物の全身が含まれる複数の撮影画像の集合の中から、所持物の有無の変化が検出された撮影画像の組を特定し、特定した撮影画像の組が撮影された時間帯及び場所の範囲で対象人物が所持物を紛失したと推定できる。しかしながら、撮影画像には、対象人物の全身が含まれない画像も多いため、対象人物の全身が含まれる撮影画像だけから所持物の有無の変化を検出する場合、所持物を紛失したと推定される時間帯及び場所の範囲が広くなり得る。そのため、対象人物が所持物を紛失した時間帯及び場所の推定精度が不十分になるという課題がある。
【0005】
本開示の目的は、上述した課題を鑑み、対象人物が所持物を紛失した時間帯及び場所の推定精度を向上させるための推定装置、方法及びプログラムを提供することにある。
【課題を解決するための手段】
【0006】
本開示にかかる推定装置は、撮影時刻が異なる3以上の画像のそれぞれから、対象人物を認識する人物認識部と、前記認識された前記対象人物に対応する輪郭内を人物領域として検出した前記画像のうちの一対の画像の組である第1の画像組における各画像の間で、前記輪郭内における画素値の分布の変化量を検出する検出部と、前記変化量が閾値以上である場合、前記第1の画像組の各画像が撮影された時間帯及び場所の範囲において前記対象人物が所持物を紛失したと推定する推定部と、を備え、前記検出部は、前記第1の画像組のうち少なくとも一方の第1画像における第1人物領域から前記対象人物の向きに応じた輪郭に身体部位の欠けである隠れ部位が検出される場合、他方の第2画像における第2人物領域として、前記隠れ部位を除外した前記輪郭内の領域の前記変化量を検出する。
【0007】
本開示にかかる推定方法は、コンピュータが、撮影時刻が異なる3以上の画像のそれぞれから、対象人物を認識し、前記認識された前記対象人物に対応する輪郭内を人物領域として検出し、前記画像のうちの一対の画像の組である第1の画像組における各画像の間で、前記輪郭内における画素値の分布の変化量を検出し、前記変化量が閾値以上である場合、前記第1の画像組の各画像が撮影された時間帯及び場所の範囲において前記対象人物が所持物を紛失したと推定し、前記第1の画像組のうち少なくとも一方の第1画像における第1人物領域から前記対象人物の向きに応じた輪郭に身体部位の欠けである隠れ部位が検出される場合、他方の第2画像における第2人物領域として、前記隠れ部位を除外した前記輪郭内の領域の前記変化量を検出する。
【0008】
本開示にかかる推定プログラムは、撮影時刻が異なる3以上の画像のそれぞれから、対象人物を認識する人物認識処理と、前記認識された前記対象人物に対応する輪郭内を人物領域として検出し、前記画像のうち一対の画像の組である第1の画像組における各画像の間で、前記輪郭内における画素値の分布の変化量を検出する検出処理と、前記変化量が閾値以上である場合、前記第1の画像組の各画像が撮影された時間帯及び場所の範囲において前記対象人物が所持物を紛失したと推定する推定処理と、をコンピュータに実行させ、前記検出処理は、前記第1の画像組のうち少なくとも一方の第1画像における第1人物領域から前記対象人物の向きに応じた輪郭に身体部位の欠けである隠れ部位が検出される場合、他方の第2画像における第2人物領域として、前記隠れ部位を除外した前記輪郭内の領域の前記変化量を検出する。
【発明の効果】
【0009】
本開示により、対象人物が所持物を紛失した時間帯及び場所の推定精度を向上させることができる。
【図面の簡単な説明】
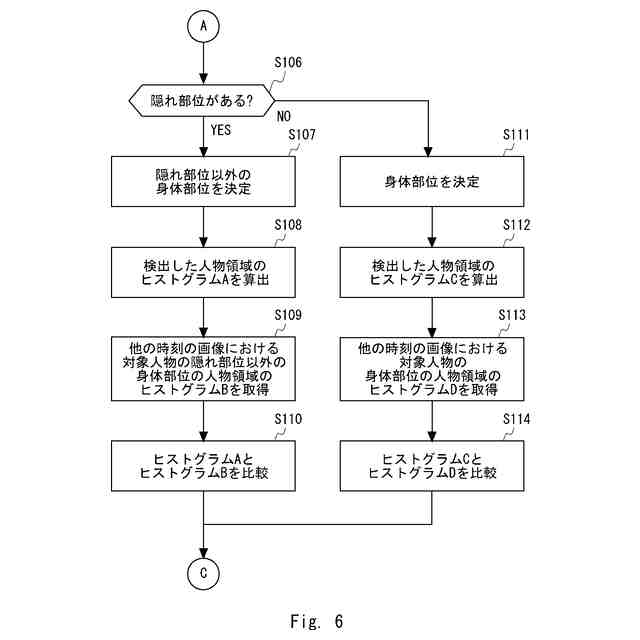
【0010】
本開示にかかる推定装置を含む紛失物検索システムの構成を示すブロック図である。
本開示にかかる推定装置の構成を示すブロック図である。
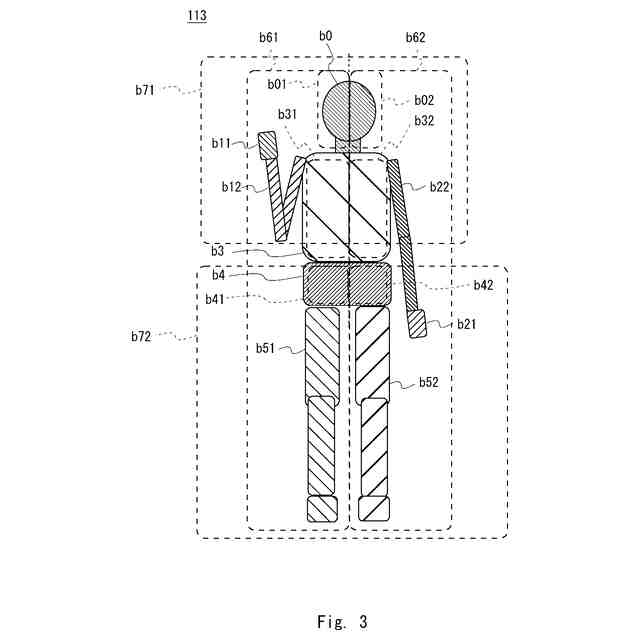
本開示にかかる人物形状データの概念を説明するための図である。
本開示にかかる対象人物の輪郭内の隠れの有無の例を示す図である。
本開示にかかる推定方法を含む紛失物検索処理の流れを示すフローチャートである。
本開示にかかる推定方法を含む紛失物検索処理の流れを示すフローチャートである。
本開示にかかる推定方法を含む紛失物検索処理の流れを示すフローチャートである。
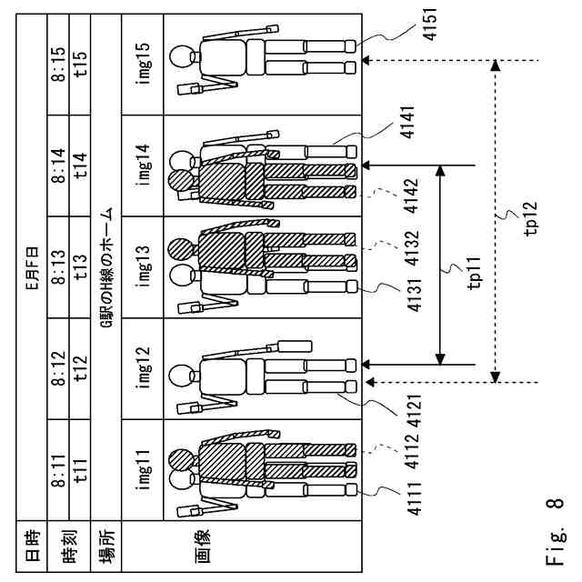
本開示の実施例1にかかる撮影順に沿った撮影画像の例を示す図である。
本開示の実施例1にかかる各構成の処理結果の対応関係の例を示す図である。
本開示の実施例2にかかる撮影順に沿った撮影画像の例を示す図である。
本開示の実施例2にかかる各構成の処理結果の対応関係の例を示す図である。
本開示の実施例3にかかる撮影順に沿った撮影画像の例を示す図である。
本開示の実施例3にかかる各構成の処理結果の対応関係の例を示す図である。
本開示の利用例を示す図である。
【発明を実施するための形態】
(【0011】以降は省略されています)
この特許をJ-PlatPat(特許庁公式サイト)で参照する
関連特許
個人
詐欺保険
2日前
個人
縁伊達ポイン
2日前
個人
工程設計支援装置
2か月前
個人
QRコードの彩色
6日前
個人
地球保全システム
15日前
個人
冷凍食品輸出支援構造
1か月前
個人
為替ポイント伊達夢貯
1か月前
個人
農作物用途分配システム
1日前
個人
残土処理システム
8日前
個人
表変換編集支援システム
1か月前
個人
携帯情報端末装置
2か月前
個人
知的財産出願支援システム
9日前
個人
結婚相手紹介支援システム
1か月前
個人
知財出願支援AIシステム
1か月前
個人
行動時間管理システム
1か月前
個人
AIによる情報の売買の仲介
1か月前
個人
パスワード管理支援システム
1か月前
個人
AIキャラクター制御システム
1か月前
個人
システム及びプログラム
28日前
株式会社アジラ
進入判定装置
1か月前
個人
食品レシピ生成システム
14日前
株式会社キーエンス
受発注システム
14日前
個人
パスポートレス入出国システム
1か月前
個人
海外支援型農作物活用システム
27日前
株式会社キーエンス
受発注システム
14日前
株式会社キーエンス
受発注システム
14日前
日本精機株式会社
施工管理システム
1か月前
個人
社会還元・施設向け供給支援構造
1か月前
個人
人格進化型対話応答制御システム
1か月前
大阪瓦斯株式会社
住宅設備機器
1か月前
個人
食事受注会計処理システム
1か月前
個人
音声対話型帳票生成支援システム
1か月前
個人
未来型家系図構築システム
27日前
大同特殊鋼株式会社
疵判定方法
21日前
サクサ株式会社
中継装置
1か月前
個人
帳票自動生成型SaaSシステム
9日前
続きを見る
他の特許を見る