TOP
|
特許
|
意匠
|
商標
特許ウォッチ
Twitter
他の特許を見る
10個以上の画像は省略されています。
公開番号
2025142638
公報種別
公開特許公報(A)
公開日
2025-10-01
出願番号
2024042101
出願日
2024-03-18
発明の名称
情報管理システム、管理装置、プログラム、及びサーバー
出願人
セイコーエプソン株式会社
代理人
弁理士法人クシブチ国際特許事務所
主分類
G16H
10/00 20180101AFI20250924BHJP(特定の用途分野に特に適合した情報通信技術)
要約
【課題】隔離ネットワーク上のデータベースでの管理情報の格納漏れに対応できるようにする。
【解決手段】情報管理システムは、管理情報を管理する管理システムと、前記管理情報を印刷装置に印刷させる印刷システムと、前記管理情報が印刷された第1印刷物のスキャンデータから前記管理情報を取得し、外部ネットワークから隔離された隔離ネットワーク上のデータベースに、取得した前記管理情報を格納する管理装置と、を備え、前記印刷システムは、前記管理情報の印刷履歴を前記印刷装置に印刷させ、前記管理装置は、前記管理情報の印刷履歴が印刷された第2印刷物のスキャンデータから前記管理情報の印刷履歴を取得し、取得した前記管理情報の印刷履歴と前記第1印刷物のスキャン履歴とに基づいて、前記データベースへの前記管理情報の格納漏れを通知する。
【選択図】図1
特許請求の範囲
【請求項1】
管理情報を管理する管理システムと、
前記管理システムから取得した前記管理情報を印刷装置に印刷させる印刷システムと、
前記管理情報が印刷された第1印刷物のスキャンデータから前記管理情報を取得し、外部ネットワークから隔離された隔離ネットワーク上のデータベースに、取得した前記管理情報を格納する管理装置と、を備え、
前記印刷システムは、前記管理情報の印刷履歴を前記印刷装置に印刷させ、
前記管理装置は、前記管理情報の印刷履歴が印刷された第2印刷物のスキャンデータから前記管理情報の印刷履歴を取得し、取得した前記管理情報の印刷履歴と前記第1印刷物のスキャン履歴とに基づいて、前記データベースへの前記管理情報の格納漏れを通知する、
情報管理システム。
続きを表示(約 1,800 文字)
【請求項2】
前記管理装置は、
取得した前記管理情報の印刷履歴に含まれており、且つ前記スキャン履歴に含まれていない前記管理情報について、前記データベースへの格納漏れを通知する、
請求項1に記載の情報管理システム。
【請求項3】
前記印刷装置は、コード形式で前記管理情報が印刷された前記第1印刷物を生成し、
前記管理装置は、前記第1印刷物のスキャンデータが示すスキャン画像が含むコードから前記管理情報を取得する、
請求項1又は2に記載の情報管理システム。
【請求項4】
前記管理装置は、
前記データベースへの格納が漏れていた前記管理情報の再印刷を促すと共に、前記データベースへの格納が漏れていた前記管理情報が印刷された前記第1印刷物の識別情報を通知する、
請求項1又は2に記載の情報管理システム。
【請求項5】
前記管理装置は、
前記データベースへの格納が漏れていた前記管理情報が印刷された前記第1印刷物の印刷日時をさらに通知する、
請求項4に記載の情報管理システム。
【請求項6】
前記管理情報の印刷履歴を印刷する印刷時刻の指定を受け付ける受付部を備え、
前記印刷システムは、前記受付部が受け付けた前記印刷に基づいて、前記管理情報の印刷履歴を前記印刷装置に印刷させる、
請求項1又は2に記載の情報管理システム。
【請求項7】
前記印刷システムは、前回に生成された前記第2印刷物以降に前記印刷装置が印刷した前記管理情報の印刷履歴を、前記印刷装置に印刷させる、
請求項1又は2に記載の情報管理システム。
【請求項8】
管理情報を管理する管理システムと、前記管理システムから取得した前記管理情報を印刷装置に印刷させる印刷システムと、が接続する外部ネットワークから隔離された隔離ネットワークに接続する管理装置であって、
前記管理情報が印刷された第1印刷物のスキャンデータから前記管理情報を取得し、前記隔離ネットワーク上のデータベースに、取得した前記管理情報を格納する管理装置制御部を備え、
前記管理装置制御部は、
前記印刷システムが前記印刷装置に生成させた印刷物であって且つ前記管理情報の印刷履歴が印刷された第2印刷物のスキャンデータから、前記管理情報の印刷履歴を取得し、
取得した前記管理情報の印刷履歴と前記第1印刷物のスキャン履歴とに基づいて、前記データベースへの前記管理情報の格納漏れを通知する、
管理装置。
【請求項9】
管理情報を管理する管理システムと、前記管理システムから取得した前記管理情報を印刷装置に印刷させる印刷システムと、が接続する外部ネットワークから隔離された隔離ネットワークに接続する管理装置のプロセッサーに、
前記管理情報が印刷された第1印刷物のスキャンデータから前記管理情報を取得させ、
前記隔離ネットワーク上のデータベースに、取得した前記管理情報を格納させ、
前記印刷システムが前記印刷装置に生成させた印刷物であって且つ前記管理情報の印刷履歴が印刷された第2印刷物のスキャンデータから、前記管理情報の印刷履歴を取得させ、
取得した前記管理情報の印刷履歴と前記第1印刷物のスキャン履歴とに基づいて、前記データベースへの前記管理情報の格納漏れを通知させる、
プログラム。
【請求項10】
管理情報を管理する管理システムと外部ネットワークを介して接続し、前記管理システムから取得した前記管理情報を印刷装置に印刷させるサーバーであって、
前記管理情報が印刷された第1印刷物を前記印刷装置に生成させ、前記管理情報の印刷履歴が印刷された第2印刷物を前記印刷装置に生成させるサーバー制御部を備え、
前記第1印刷物は、前記外部ネットワークから隔離された隔離ネットワーク上のデータベースに前記管理情報を格納する管理装置が、前記管理情報を取得するスキャンデータの対象となる印刷物であり、
前記第2印刷物は、前記データベースへの前記管理情報の格納漏れを通知する際に、前記第1印刷物のスキャン履歴と比較される前記管理情報の印刷履歴が印刷された印刷物である、
サーバー。
発明の詳細な説明
【技術分野】
【0001】
本発明は、情報管理システム、管理装置、プログラム、及びサーバーに関する。
続きを表示(約 2,300 文字)
【背景技術】
【0002】
従来、ネットワーク上で情報を管理する技術が知られている。例えば、特許文献1は、電子カルテなどの医療情報をクラウドネットワーク上のクラウドサーバーが管理するシステムを開示する。
【先行技術文献】
【特許文献】
【0003】
特開2022-063904号公報
【発明の概要】
【発明が解決しようとする課題】
【0004】
特許文献1記載の医療情報のような管理情報は、隔離ネットワーク上のデータベースで管理される場合がある。この場合、管理情報をデータベースに格納する構成としては、管理情報が印刷された印刷物をスキャナーで読み取り、スキャンデータから得られた管理情報をデータベースに格納する構成が考えられる。しかしながら、この構成では、印刷物の紛失やスキャナーで生じる重送などによって、データベースへの管理情報の格納漏れが生じ得る。
【課題を解決するための手段】
【0005】
上記課題を解決する一態様は、管理情報を管理する管理システムと、前記管理システムから取得した前記管理情報を印刷装置に印刷させる印刷システムと、前記管理情報が印刷された第1印刷物のスキャンデータから前記管理情報を取得し、外部ネットワークから隔離された隔離ネットワーク上のデータベースに、取得した前記管理情報を格納する管理装置と、を備え、前記印刷システムは、前記管理情報の印刷履歴を前記印刷装置に印刷させ、前記管理装置は、前記管理情報の印刷履歴が印刷された第2印刷物のスキャンデータから前記管理情報の印刷履歴を取得し、取得した前記管理情報の印刷履歴と前記第1印刷物のスキャン履歴とに基づいて、前記データベースへの前記管理情報の格納漏れを通知する、情報管理システムである。
【0006】
上記課題を解決する別の一態様は、管理情報を管理する管理システムと、前記管理システムから取得した前記管理情報を印刷装置に印刷させる印刷システムと、が接続する外部ネットワークから隔離された隔離ネットワークに接続する管理装置であって、前記管理情報が印刷された第1印刷物のスキャンデータから前記管理情報を取得し、前記隔離ネットワーク上のデータベースに、取得した前記管理情報を格納する管理装置制御部を備え、前記管理装置制御部は、前記印刷システムが前記印刷装置に生成させた印刷物であって且つ前記管理情報の印刷履歴が印刷された第2印刷物のスキャンデータから、前記管理情報の印刷履歴を取得し、取得した前記管理情報の印刷履歴と前記第1印刷物のスキャン履歴とに基づいて、前記データベースへの前記管理情報の格納漏れを通知する、管理装置である。
【0007】
上記課題を解決するさらに別の一態様は、管理情報を管理する管理システムと、前記管理システムから取得した前記管理情報を印刷装置に印刷させる印刷システムと、が接続する外部ネットワークから隔離された隔離ネットワークに接続する管理装置のプロセッサーに、前記管理情報が印刷された第1印刷物のスキャンデータから前記管理情報を取得させ、前記隔離ネットワーク上のデータベースに、取得した前記管理情報を格納させ、前記印刷システムが前記印刷装置に生成させた印刷物であって且つ前記管理情報の印刷履歴が印刷された第2印刷物のスキャンデータから、前記管理情報の印刷履歴を取得させ、取得した前記管理情報の印刷履歴と前記第1印刷物のスキャン履歴とに基づいて、前記データベースへの前記管理情報の格納漏れを通知させる、プログラムである。
【0008】
上記課題を解決するさらに別の一態様は、管理情報を管理する管理システムと外部ネットワークを介して接続し、前記管理システムから取得した前記管理情報を印刷装置に印刷させるサーバーであって、前記管理情報が印刷された第1印刷物を前記印刷装置に生成させ、前記管理情報の印刷履歴が印刷された第2印刷物を前記印刷装置に生成させるサーバー制御部を備え、前記第1印刷物は、前記外部ネットワークから隔離された隔離ネットワーク上のデータベースに前記管理情報を格納する管理装置が、前記管理情報を取得するスキャンデータの対象となる印刷物であり、前記第2印刷物は、前記データベースへの前記管理情報の格納漏れを通知する際に、前記第1印刷物のスキャン履歴と比較される前記管理情報の印刷履歴が印刷された印刷物である、サーバーである。
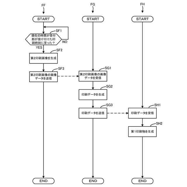
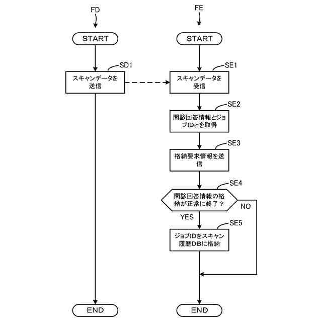
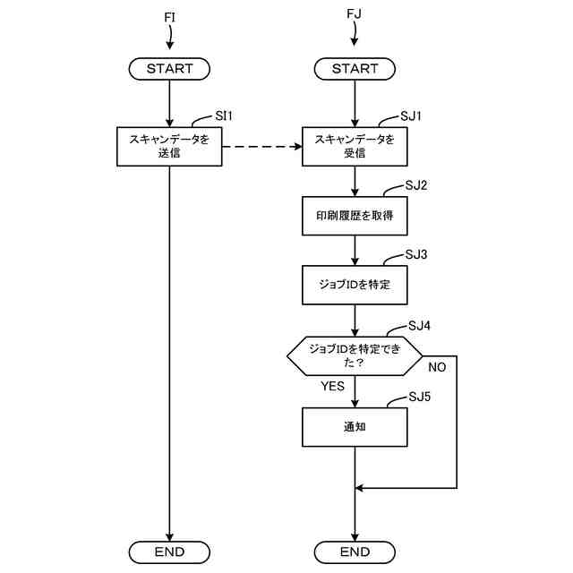
【図面の簡単な説明】
【0009】
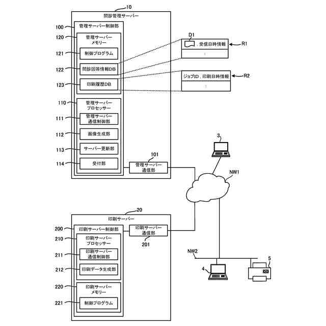
情報管理システムの構成を示す図。
問診管理サーバー、及び印刷サーバーの構成を示す図。
第1印刷画像の一例を示す図。
第2印刷画像の一例を示す図。
第2院内端末の構成を示す図。
情報管理システムの各部の動作を示すフローチャート。
情報管理システムの各部の動作を示すフローチャート。
情報管理システムの各部の動作を示すフローチャート。
情報管理システムの各部の動作を示すフローチャート。
通知画面の一例を示す図。
問診管理サーバー、及び印刷サーバーの構成を示す図。
情報管理システムの各部の動作を示すフローチャート。
情報管理システムの各部の動作を示すフローチャート。
【発明を実施するための形態】
【0010】
[1.第1実施形態]
[1-1.情報管理システムの構成]
まず、第1実施形態について説明する。
図1は、情報管理システム1000の構成を示す図である。
(【0011】以降は省略されています)
この特許をJ-PlatPat(特許庁公式サイト)で参照する
関連特許
個人
医療のAI化
22日前
個人
通知ぬいぐるみAIシステム
29日前
株式会社タカゾノ
薬剤秤量装置
2か月前
株式会社タカゾノ
薬剤秤量装置
2か月前
株式会社タカゾノ
薬剤秤量装置
2か月前
株式会社タカゾノ
薬剤秤量装置
2か月前
株式会社タカゾノ
薬剤秤量装置
2か月前
株式会社リコー
投薬管理システム
23日前
個人
診療の管理装置及び診療システム
2か月前
株式会社CureApp
プログラム
2か月前
株式会社ミラボ
情報処理装置、及びプログラム
2か月前
歯っぴー株式会社
口内状態の画像診断方法
1か月前
株式会社SECRET MEDICINE
管理装置
23日前
株式会社サンクスネット
健康医療情報管理システム
1か月前
まちなかMEセンター株式会社
生体情報管理システム
2か月前
大和ハウス工業株式会社
健康リスク推定システム
23日前
株式会社D-solution
オンライン診療支援装置
3か月前
富士通株式会社
異常予測方法および異常予測プログラム
14日前
公立大学法人横浜市立大学
プログラム及び情報処理装置
1か月前
有限会社ひなたぼっこ さと
情報処理装置及びプログラム
11日前
NeoX株式会社
調剤書類監査装置
1か月前
花王株式会社
情報処理システム
1か月前
株式会社明治
機能推定装置
16日前
株式会社CureApp
プログラム及び情報提供方法
3か月前
花王株式会社
情報処理システム
1か月前
株式会社日立製作所
受診支援装置および方法
1か月前
株式会社トプコン
眼科システム及び端末装置
24日前
横浜ゴム株式会社
化学計算モデル分子の作成方法
8日前
株式会社ヴァイタス
情報処理装置
1か月前
日本製紙株式会社
樹皮率の予測方法
7日前
個人
適切な医療情報を提供する健康支援システム等
14日前
株式会社日立製作所
療養指導支援装置および方法
2か月前
株式会社日立製作所
情報処理システム、及び予測方法
1日前
日本電気株式会社
判定装置、判定方法、及び、プログラム
24日前
花王株式会社
ダイエット支援システム
14日前
公益財団法人がん研究会
患者支援システム、方法、及びプログラム
14日前
続きを見る
他の特許を見る