TOP
|
特許
|
意匠
|
商標
特許ウォッチ
Twitter
他の特許を見る
10個以上の画像は省略されています。
公開番号
2025142616
公報種別
公開特許公報(A)
公開日
2025-10-01
出願番号
2024042068
出願日
2024-03-18
発明の名称
処理システム、処理方法、およびプログラム
出願人
日本電気株式会社
代理人
個人
,
個人
主分類
G06F
8/20 20180101AFI20250924BHJP(計算;計数)
要約
【課題】適切にコンピュータ環境を複製することのできる処理システムを提供する。
【解決手段】処理システムは、複数のサービス提供コンピュータシステムのうちの1つの主たるサービス提供コンピュータシステムである第1コンピュータシステムへの操作を、他のサービス提供コンピュータシステムである第2コンピュータシステムのすべてに適用する第1処理部と、前記第1コンピュータシステムへの操作が成功し、前記第2コンピュータシステムの何れかへの操作が失敗した場合、操作が失敗した前記第2コンピュータシステムを破棄する第2処理部と、を備える。
【選択図】図8
特許請求の範囲
【請求項1】
複数のサービス提供コンピュータシステムのうちの1つの主たるサービス提供コンピュータシステムである第1コンピュータシステムへの操作を、他のサービス提供コンピュータシステムである第2コンピュータシステムのすべてに適用する第1処理部と、
前記第1コンピュータシステムへの操作が成功し、前記第2コンピュータシステムの何れかへの操作が失敗した場合、操作が失敗した前記第2コンピュータシステムを破棄する第2処理部と、
を備える処理システム。
続きを表示(約 1,000 文字)
【請求項2】
前記第1コンピュータシステムへの操作が失敗し、前記第2コンピュータシステムの何れかへの操作が成功した場合、操作が成功した前記第2コンピュータシステムを破棄する第3処理部、
を備える請求項1に記載の処理システム。
【請求項3】
前記第1コンピュータシステムへの操作によるデータの変更が、前記第2コンピュータシステムの何れかにおいて行われなかった場合、前記データの変更が行われなかった前記第2コンピュータシステムを破棄する第4処理部、
を備える請求項1または請求項2に記載の処理システム。
【請求項4】
廃棄された前記第2コンピュータシステムの代わりに、前記第1コンピュータシステムをコピーすることにより新たなサービス提供コンピュータシステムを用意する第5処理部、
を備える請求項1に記載の処理システム。
【請求項5】
前記第2コンピュータシステムが割り当てられたユーザの前記第2コンピュータシステムが廃棄された場合、廃棄された前記第2コンピュータシステムの代わりに、前記第5処理部が用意した前記新たなサービス提供コンピュータシステムを前記ユーザに割り当てる第6処理部、
を備える請求項4に記載の処理システム。
【請求項6】
複数のサービス提供コンピュータシステムのうちの1つの主たるサービス提供コンピュータシステムである第1コンピュータシステムへの操作を、他のサービス提供コンピュータシステムである第2コンピュータシステムのすべてに適用することと、
前記第1コンピュータシステムへの操作が成功し、前記第2コンピュータシステムの何れかへの操作が失敗した場合、操作が失敗した前記第2コンピュータシステムを破棄することと、
を含む処理方法。
【請求項7】
コンピュータに、
複数のサービス提供コンピュータシステムのうちの1つの主たるサービス提供コンピュータシステムである第1コンピュータシステムへの操作を、他のサービス提供コンピュータシステムである第2コンピュータシステムのすべてに適用することと、
前記第1コンピュータシステムへの操作が成功し、前記第2コンピュータシステムの何れかへの操作が失敗した場合、操作が失敗した前記第2コンピュータシステムを破棄することと、
を実行させるプログラム。
発明の詳細な説明
【技術分野】
【0001】
本開示は、処理システム、処理方法、およびプログラムに関する。
続きを表示(約 1,600 文字)
【背景技術】
【0002】
コンピュータはさまざまな分野で利用されている。特許文献1には、関連する技術として、コンピュータ環境のクローンの構築に関する技術が開示されている。
【先行技術文献】
【特許文献】
【0003】
特開2012-118674号公報
【発明の概要】
【発明が解決しようとする課題】
【0004】
特許文献1に関連するコンピュータに関する技術では、適切にコンピュータ環境を複製することのできる技術が求められている。
【0005】
本開示の各態様は、上記の課題を解決することのできる処理システム、処理方法、およびプログラムを提供することを目的の1つとしている。
【課題を解決するための手段】
【0006】
本開示の一態様によれば、処理システムは、複数のサービス提供コンピュータシステムのうちの1つの主たるサービス提供コンピュータシステムである第1コンピュータシステムへの操作を、他のサービス提供コンピュータシステムである第2コンピュータシステムのすべてに適用する第1処理部と、前記第1コンピュータシステムへの操作が成功し、前記第2コンピュータシステムの何れかへの操作が失敗した場合、操作が失敗した前記第2コンピュータシステムを破棄する第2処理部と、を備える。
【0007】
本開示の別の態様によれば、処理方法は、複数のサービス提供コンピュータシステムのうちの1つの主たるサービス提供コンピュータシステムである第1コンピュータシステムへの操作を、他のサービス提供コンピュータシステムである第2コンピュータシステムのすべてに適用することと、前記第1コンピュータシステムへの操作が成功し、前記第2コンピュータシステムの何れかへの操作が失敗した場合、操作が失敗した前記第2コンピュータシステムを破棄することと、を含む。
【0008】
本開示の別の態様によれば、プログラムは、コンピュータに、複数のサービス提供コンピュータシステムのうちの1つの主たるサービス提供コンピュータシステムである第1コンピュータシステムへの操作を、他のサービス提供コンピュータシステムである第2コンピュータシステムのすべてに適用することと、前記第1コンピュータシステムへの操作が成功し、前記第2コンピュータシステムの何れかへの操作が失敗した場合、操作が失敗した前記第2コンピュータシステムを破棄することと、を実行させる。
【発明の効果】
【0009】
本開示の各態様によれば、適切にコンピュータ環境を複製することができる。
【図面の簡単な説明】
【0010】
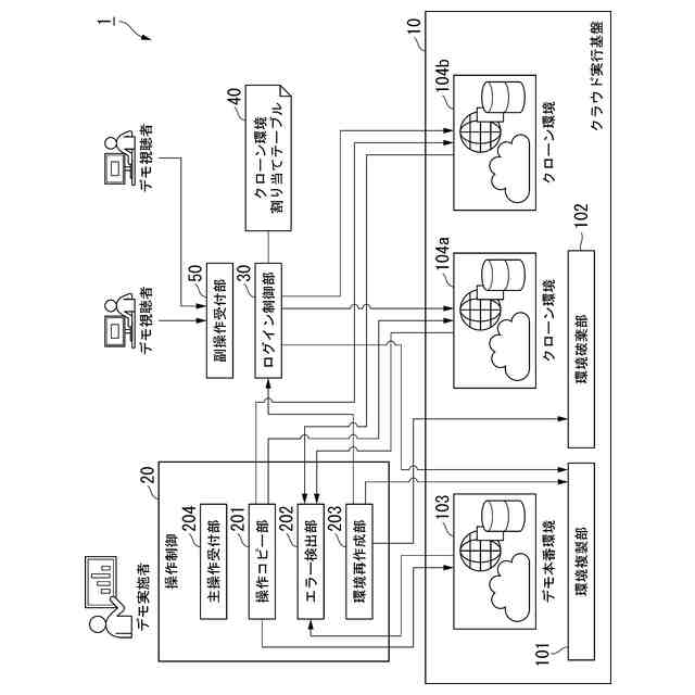
本開示のいくつかの実施形態にかかる処理システムの構成の一例を示す図である。
本開示のいくつかの実施形態にかかる処理システムの処理フローの第1の例を示す図である。
本開示のいくつかの実施形態にかかる処理システムの処理フローの第2の例を示す図である。
本開示のいくつかの実施形態にかかる処理システムの処理フローの第3の例を示す図である。
本開示のいくつかの実施形態にかかるクローン環境割り当てテーブルの一例を示す図である。
本開示のいくつかの実施形態にかかるクローン環境割り当てテーブルの一例を示す図である。
本開示のいくつかの実施形態にかかるクローン環境割り当てテーブルの一例を示す図である。
本開示のいくつかの実施形態にかかる処理システムの構成の一例を示す図である。
本開示のいくつかの実施形態にかかる処理システムの処理フローの一例を示す図である。
少なくとも1つの実施形態に係るコンピュータの構成を示す概略ブロック図である。
【発明を実施するための形態】
(【0011】以降は省略されています)
この特許をJ-PlatPat(特許庁公式サイト)で参照する
関連特許
日本電気株式会社
学習装置
1か月前
日本電気株式会社
学習装置
28日前
日本電気株式会社
分析装置
4日前
日本電気株式会社
原子発振器
1か月前
日本電気株式会社
超伝導量子回路
24日前
日本電気株式会社
マルチバンドバラン
22日前
日本電気株式会社
通信装置および通信方法
今日
日本電気株式会社
検知装置および検知方法
4日前
日本電気株式会社
量子回路装置と制御方法
4日前
日本電気株式会社
送信装置および通信装置
今日
日本電気株式会社
量子回路装置と制御方法
4日前
日本電気株式会社
端末装置および無線通信方法
15日前
日本電気株式会社
分析方法および分析システム
1日前
日本電気株式会社
機器冷却装置及びその冷却方法
16日前
日本電気株式会社
共振器及びそれを備えた導波回路
2日前
日本電気株式会社
処理装置、方法、及びプログラム
28日前
日本電気株式会社
TS合成装置および放送システム
1か月前
日本電気株式会社
プログラム、算出装置、及び方法
16日前
日本電気株式会社
ピーク抑圧装置及びピーク抑圧方法
14日前
日本電気株式会社
リング共振器、およびその製造方法
1か月前
日本電気株式会社
推定装置、推定方法及びプログラム
7日前
日本電気株式会社
推定装置、推定方法及びプログラム
7日前
日本電気株式会社
リング共振器、およびその製造方法
29日前
日本電気株式会社
システム及びマイグレーション方法
4日前
日本電気株式会社
処理装置、処理方法、及びプログラム
4日前
日本電気株式会社
画像管理システムおよび画像管理方法
2日前
日本電気株式会社
波長可変レーザ装置及びその構成方法
今日
日本電気株式会社
推定装置、推定方法、及び、記録媒体
1日前
日本電気株式会社
予測システム、予測方法及びプログラム
7日前
日本電気株式会社
注文端末、注文受付方法及びプログラム
今日
日本電気株式会社
判定装置、判定方法、及び、プログラム
24日前
日本電気株式会社
管理システム、管理方法及びプログラム
14日前
日本電気株式会社
通信装置、通信方法及び通信プログラム
1日前
日本電気株式会社
通信システム及びパケット順序補正方法
15日前
日本電気株式会社
映像処理装置、映像処理方法、プログラム
4日前
日本電気株式会社
画像選択装置、画像選択方法及び記憶媒体
2日前
続きを見る
他の特許を見る