TOP
|
特許
|
意匠
|
商標
特許ウォッチ
Twitter
他の特許を見る
公開番号
2025142569
公報種別
公開特許公報(A)
公開日
2025-10-01
出願番号
2024042011
出願日
2024-03-18
発明の名称
シート再生システム、シート再生システムの制御方法、及び、サーバー
出願人
セイコーエプソン株式会社
代理人
個人
,
個人
,
個人
主分類
D04H
1/736 20120101AFI20250924BHJP(組みひも;レース編み;メリヤス編成;縁とり;不織布)
要約
【課題】環境への効果が考慮されておらず利便性が低かった。
【解決手段】古紙からシートを再生するシート再生装置と、シート再生装置からシートの再生に係るシート再生情報を受信して表示情報を生成するサーバーと、サーバーから表示情報を受信して表示する端末装置と、を備えるシート再生システムであって、端末装置は、シートの再生に係る目標値をサーバーへ送信して、表示情報を要求し、サーバーは、受信した目標値に基づき環境効果値に換算し、環境効果値を表示情報に含めて端末装置へ送信し、環境効果値は、二酸化炭素削減量、木材削減量、水削減量のうち少なくともいずれかを含む。
【選択図】図5
特許請求の範囲
【請求項1】
古紙からシートを再生するシート再生装置と、
前記シート再生装置から前記シートの再生に係るシート再生情報を受信して表示情報を生成するサーバーと、
前記サーバーから前記表示情報を受信して表示する端末装置と、を備えるシート再生システムであって、
前記端末装置は、前記シートの再生に係る目標値を前記サーバーへ送信して、前記表示情報を要求し、
前記サーバーは、受信した前記目標値に基づき環境効果値に換算し、前記環境効果値を前記表示情報に含めて前記端末装置へ送信し、
前記環境効果値は、二酸化炭素削減量、木材削減量、水削減量のうち少なくともいずれかを含む、シート再生システム。
続きを表示(約 2,000 文字)
【請求項2】
前記シート再生装置は、複数の種類の前記シートを再生可能であり、
前記目標値は、前記シートの再生枚数に係る値であり、
前記端末装置が、前記シートの前記種類を指定するシート指定情報、及び、前記目標値を前記サーバーへ送信して、前記表示情報を要求すると、
前記サーバーは、受信した前記シート指定情報及び前記目標値に基づき前記環境効果値に換算する、請求項1に記載のシート再生システム。
【請求項3】
前記シートの前記種類は、前記シート再生装置の機種に対応しており、
前記シート指定情報は、前記シート再生装置の特定された前記機種に対応する前記シートの前記種類を指定する情報である、請求項2に記載のシート再生システム。
【請求項4】
前記目標値は、前記二酸化炭素削減量、前記木材削減量、前記水削減量の少なくともいずれかに係る目標環境効果値であり、
前記サーバーは、受信した前記目標環境効果値に基づき、前記環境効果値に代わって前記シートの再生枚数に換算し、前記再生枚数を前記表示情報に含めて前記端末装置へ送信する、請求項1に記載のシート再生システム。
【請求項5】
前記シート再生装置は、複数の種類の前記シートを再生可能であり、
前記端末装置が、前記シートの前記種類を指定するシート指定情報、及び、前記目標値を前記サーバーへ送信して前記表示情報を要求すると、
前記サーバーは、受信した前記シート指定情報及び前記目標値に基づき前記再生枚数に換算し、前記再生枚数を前記表示情報に含めて前記端末装置へ送信する、請求項4に記載のシート再生システム。
【請求項6】
前記サーバーは、前記シート再生情報に基づき、前記端末装置から指定された所定期間の前記シートの再生枚数、又は、前記所定期間の前記シートの累積再生枚数を算出して、前記表示情報に含めて前記端末装置へ送信し、
前記所定期間に未来の期間が含まれている場合、前記サーバーは、前記シート再生情報に基づき、前記未来の期間の前記シートの前記再生枚数、又は、前記未来の前記シートの前記累積再生枚数を予測して算出し、前記表示情報に含めて前記端末装置へ送信する、請求項1に記載のシート再生システム。
【請求項7】
前記シート再生装置は、複数の種類の前記シートを再生可能であり、
前記端末装置が、前記シートの前記種類を指定するシート指定情報、及び、前記目標値を前記サーバーへ送信して、前記表示情報を要求すると、
前記サーバーは、受信した前記シート指定情報及び前記目標値に基づき、前記所定期間の前記シートの前記再生枚数、又は、前記所定期間の前記シートの前記累積再生枚数を算出して、前記表示情報に含めて前記端末装置へ送信する、請求項6に記載のシート再生システム。
【請求項8】
前記シート再生装置は、前記目標値を前記サーバーへ送信して、前記表示情報を要求し、
前記サーバーは、受信した前記目標値に基づき前記環境効果値に換算し、前記環境効果値を前記表示情報に含めて前記シート再生装置へ送信し、
前記シート再生装置は、前記サーバーから前記表示情報を受信して表示する、請求項1に記載のシート再生システム。
【請求項9】
古紙からシートを再生するシート再生装置と、前記シート再生装置から前記シートの再生に係るシート再生情報を受信して表示情報を生成するサーバーと、前記サーバーから前記表示情報を受信して表示する端末装置と、を備えるシート再生システムの制御方法であって、
前記端末装置は、前記シートの再生に係る目標値を前記サーバーへ送信して前記表示情報を要求し、
前記サーバーは、受信した前記目標値に基づき環境効果値に換算し、前記環境効果値を前記表示情報に含めて前記端末装置へ送信し、
前記環境効果値は、二酸化炭素削減量、木材削減量、水削減量のうち少なくともいずれかを含む、シート再生システムの制御方法。
【請求項10】
古紙からシートを再生するシート再生装置、及び、端末装置と通信可能であり、制御部を備えるサーバーであって、
前記制御部は、
前記シート再生装置から前記シートの再生に係るシート再生情報を受信すると、表示情報を生成し、
前記端末装置から、前記シートの再生に係る目標値を受信して前記表示情報を要求されると、前記目標値に基づき環境効果値に換算し、前記環境効果値を前記表示情報に含めて前記端末装置へ送信し、
前記環境効果値は、二酸化炭素削減量、木材削減量、水削減量のうち少なくともいずれかを含む、サーバー。
発明の詳細な説明
【技術分野】
【0001】
本発明は、シート再生システム、シート再生システムの制御方法、及び、サーバーに関する。
続きを表示(約 2,000 文字)
【背景技術】
【0002】
従来、特許文献1に示すように、シート製造装置により原料として投入した古紙からどのくらい再生紙が製造できているかなど、再生に係る情報としての再生率を示すことができるシート製造システムが知られている。
【先行技術文献】
【特許文献】
【0003】
特開2018-164996号公報
【発明の概要】
【発明が解決しようとする課題】
【0004】
しかしながら、上記のシステムでは、古紙からシートを再生する際、目標に応じた環境への効果などが考慮されておらず、利用者にとって利便性が低かった。
【課題を解決するための手段】
【0005】
古紙からシートを再生するシート再生装置と、前記シート再生装置から前記シートの再生に係るシート再生情報を受信して表示情報を生成するサーバーと、前記サーバーから前記表示情報を受信して表示する端末装置と、を備えるシート再生システムであって、前記端末装置は、前記シートの再生に係る目標値を前記サーバーへ送信して、前記表示情報を要求し、前記サーバーは、受信した前記目標値に基づき環境効果値に換算し、前記環境効果値を前記表示情報に含めて前記端末装置へ送信し、前記環境効果値は、二酸化炭素削減量、木材削減量、水削減量のうち少なくともいずれかを含む。
【0006】
古紙からシートを再生するシート再生装置と、前記シート再生装置から前記シートの再生に係るシート再生情報を受信して表示情報を生成するサーバーと、前記サーバーから前記表示情報を受信して表示する端末装置と、を備えるシート再生システムの制御方法であって、前記端末装置は、前記シートの再生に係る目標値を前記サーバーへ送信して前記表示情報を要求し、前記サーバーは、受信した前記目標値に基づき環境効果値に換算し、前記環境効果値を前記表示情報に含めて前記端末装置へ送信し、前記環境効果値は、二酸化炭素削減量、木材削減量、水削減量のうち少なくともいずれかを含む。
【0007】
古紙からシートを再生するシート再生装置、及び、端末装置と通信可能であり、制御部を備えるサーバーであって、前記制御部は、前記シート再生装置から前記シートの再生に係るシート再生情報を受信すると、表示情報を生成し、前記端末装置から、前記シートの再生に係る目標値を受信して前記表示情報を要求されると、前記目標値に基づき環境効果値に換算し、前記環境効果値を前記表示情報に含めて前記端末装置へ送信し、前記環境効果値は、二酸化炭素削減量、木材削減量、水削減量のうち少なくともいずれかを含む。
【図面の簡単な説明】
【0008】
シート再生システムの構成を示すブロック図。
シート再生装置の構成を示す模式図。
端末装置が表示情報を表示するときの状態遷移図。
月毎のシート再生枚数のグラフ、目標枚数及び目標環境効果値とそれぞれの換算値を表示する第1画面の模式図。
月毎のシート再生枚数のグラフ、シート種類による、目標枚数及び目標環境効果値とそれぞれの換算値を表示する第2画面の模式図。
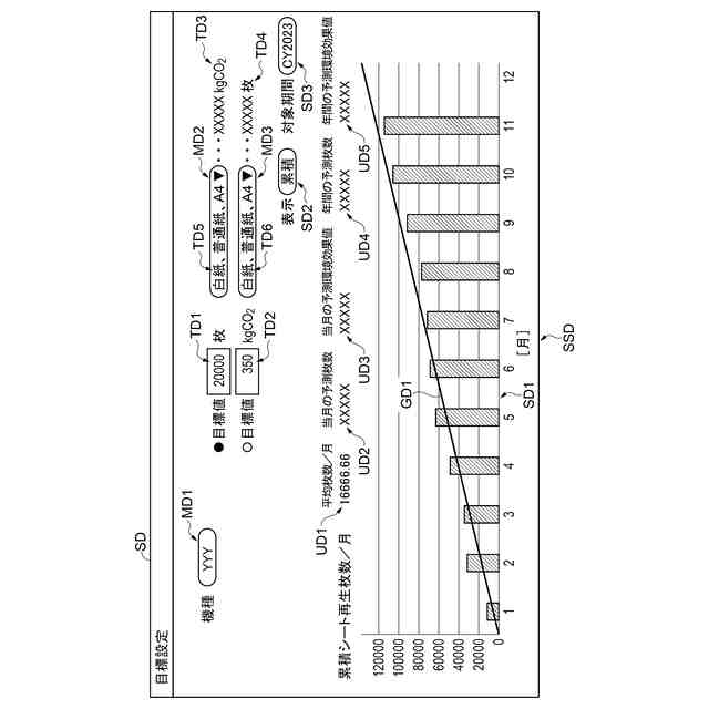
月毎の累積シート再生枚数及び累積予測線のグラフ、当月の予測枚数及び当月の予測環境効果値、目標枚数及び目標環境効果値とそれぞれの換算値を表示する第3画面の模式図。
月毎の累積シート再生枚数及び累積予測線のグラフ、当月の予測枚数及び当月の予測環境効果値、シート種類による、目標枚数及び目標環境効果値とそれぞれの換算値を表示する第4画面の模式図。
【発明を実施するための形態】
【0009】
1.シート再生システムの構成
図1に示すように、実施形態に係るシート再生システム1は、シート再生装置11、端末装置10、サーバー60を含んで構成される。
【0010】
シート再生システム1を構成するこれらの装置は、ネットワークNWを介して互いに通信可能である。
なお、ネットワークNWは、例えば限定された範囲である構内などの通信網である、LAN(Local Area Network)でもよく、例えばインターネットである、WAN(Wide Area Network)であってもよい。
また、これらの装置には固有の通信アドレスである、例えばIPアドレス(Internet Protocol Address)が割り当てられ、通信先のIPアドレスを指定して通信することができる。
これらの装置は、例えば、HTTP(Hypertext Transfer Protocol)やHTTPS(Hypertext Transfer Protocol Secure)などのプロトコルを用いて通信可能である。
(【0011】以降は省略されています)
この特許をJ-PlatPat(特許庁公式サイト)で参照する
関連特許
東レ株式会社
編地
3か月前
東レ株式会社
不織布の製造装置
5日前
日本エステル株式会社
クッション体
1か月前
東レ株式会社
編物、繊維製品および詰め物
3か月前
ユニチカ株式会社
化粧料含浸用基布の製造方法
1か月前
グンゼ株式会社
編地及び繊維製品
7日前
モリト株式会社
紐体を用いた連結体
1か月前
ユニチカトレーディング株式会社
油吸着材用不織布
25日前
セーレン株式会社
緯編地
3か月前
東洋紡エムシー株式会社
農作物保護用生分解性不織布。
5日前
東レ株式会社
不織布の製造装置および不織布の製造方法
18日前
株式会社島精機製作所
編地の編成方法、および編地
2か月前
日本製紙クレシア株式会社
ローション不織布
1か月前
株式会社島精機製作所
編地の編成方法、および編地
1か月前
帝人フロンティア株式会社
しみ防止布帛および繊維製品
3か月前
ユニチカ株式会社
シート
3か月前
株式会社ヴィオレッタ
メッシュ経編地及び繊維製品
2か月前
日本製紙クレシア株式会社
複合型不織布
1か月前
大和紡績株式会社
積層不織布、および液体含浸シート
4日前
花王株式会社
吸収性物品用不織布
13日前
東レ株式会社
不織布およびその製造方法ならびに積層体、衣料、雑貨
25日前
日本毛織株式会社
編地及び衣類
25日前
東洋紡エムシー株式会社
肌への密着性に優れるフェイスマスク用基材
11日前
東レ株式会社
エレクトレットメルトブロー不織布およびその製造方法
1か月前
東洋紡エムシー株式会社
生分解性不織布、その用途及びその製造方法。
15日前
帝人フロンティア株式会社
中綿および中綿評価方法および詰め物製品
2か月前
東レ株式会社
スパンボンド不織布およびその製造方法ならびに積層体、表皮材
5日前
東レ・ファインケミカル株式会社
メルトブロー不織布およびマスク濾材
今日
ユニチカ株式会社
ポリエステル系長繊維不織布
5日前
大和紡績株式会社
編地、その製造方法及び衣料
1か月前
日本バイリーン株式会社
摩擦帯電不織布、および、当該摩擦帯電不織布を備えた濾材
3か月前
大和紡績株式会社
積層不織布およびその製造方法、ならびに液体含浸シート
今日
東レ株式会社
メルトブロー不織布、不織布積層体、およびメルトブロー不織布の製造方法
5日前
パナテックス株式会社
格子状ラッセルネット及びその製造方法
4か月前
東レ株式会社
スパンボンド不織布およびその製造方法、ならびに、押え巻テープ、ケーブル
5日前
川之江造機株式会社
不織布製造装置およびそれを用いた製造方法
今日
続きを見る
他の特許を見る