TOP
|
特許
|
意匠
|
商標
特許ウォッチ
Twitter
他の特許を見る
公開番号
2025155099
公報種別
公開特許公報(A)
公開日
2025-10-14
出願番号
2024058485
出願日
2024-04-01
発明の名称
不織布製造装置およびそれを用いた製造方法
出願人
川之江造機株式会社
代理人
弁理士法人山内特許事務所
主分類
D04H
18/04 20120101AFI20251006BHJP(組みひも;レース編み;メリヤス編成;縁とり;不織布)
要約
【課題】振動や騒音が発生しにくく、生産性を高くできる不織布製造装置と製造方法を提供する。
【解決手段】ノズル34を複数個設けたノズルヘッド30を支持するノズルヘッド支持ユニット20と、ノズルヘッド支持ユニット20を水平面内で旋回させる第1旋回駆動部40と、ノズルヘッド支持ユニット20の旋回による慣性力を打ち消すためのカウンターバランサー70と、カウンターバランサー70を、ノズルヘッド支持ユニット20に対し位相が水平面内で180°相違する状態で旋回させる第2旋回駆動部50とを備える。カウンターバランサー70が、ノズルヘッド支持ユニット20に対し180°相違する位相で旋回すると、ノズルヘッド支持ユニット20の旋回による慣性力を打ち消すので、不織布製造装置全体に振動も騒音も発生しなくなる。このため高速運動が可能となり、不織布生産の能率を高めることができる。
【選択図】図1
特許請求の範囲
【請求項1】
搬送されている繊維ウェブに対してノズルから水流を噴射し、繊維ウェブの繊維同士を交絡させて不織布を製造する製造装置であって、
前記ノズルを複数個設けたノズルヘッドを支持するノズルヘッド支持ユニットと、
該ノズルヘッド支持ユニットを水平面内で旋回させる第1旋回駆動部と、
前記ノズルヘッド支持ユニットの旋回による慣性力を打ち消すためのカウンターバランサーと、
前記カウンターバランサーを、前記ノズルヘッド支持ユニットに対し位相が水平面内で180°相違する状態で旋回させる第2旋回駆動部とを備える
ことを特徴とする不織布製造装置。
続きを表示(約 530 文字)
【請求項2】
前記第1旋回駆動部は、
駆動源によって回転される左右2本の回転軸と、
該回転軸の一部に形成された第1偏心軸部とからなり、
該第1偏心軸部が前記ノズルヘッド支持ユニットの両端部に設けられた軸受ボスに内挿されており、
前記第2旋回駆動部は、
前記回転軸の他の部位に形成された第2偏心軸部とからなり、
該第2偏心軸部は前記第1偏心軸部に対し最大偏心位置が水平面内で180°位相が相違しており、前記カウンターバランサーの両端部に設けられた軸受ボスに内挿されている
ことを特徴とする請求項1記載の不織布製造装置。
【請求項3】
搬送されている繊維ウェブに対してノズルから水流を噴射し、繊維ウェブの繊維同士を交絡させて不織布を製造する製造方法であって、
前記ノズルを複数個設けたノズルヘッドを支持するノズルヘッド支持ユニットを水平面内で旋回させ、
前記ノズルヘッド支持ユニットの旋回による慣性力を打ち消すためのカウンターバランサーを、前記ノズルヘッド支持ユニットに対し位相が水平面内で180°相違する状態で旋回させる
ことを特徴とする不織布製造方法。
発明の詳細な説明
【技術分野】
【0001】
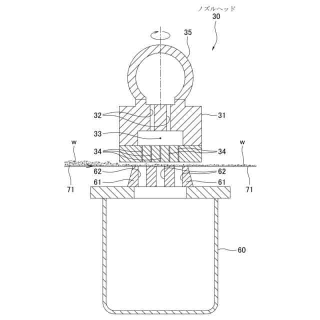
本発明は、不織布製造装置およびそれを用いた製造方法に関する。さらに詳しくは、本発明は、水流交絡法(スパンレース法ともいう)を用いて不織布を製造する不織布製造装置と製造方法に関する。
続きを表示(約 2,300 文字)
【背景技術】
【0002】
堆積された綿状の繊維に上から高圧柱状の水流を噴射すると繊維同士が絡み合ってシート状の不織布が形成される。この製造法は水流交絡法といわれる。
水流交絡法を用いた製造装置の一例として、特許文献1の従来技術がある。
【0003】
上記従来技術は、繊維質シート状物を一定速度で搬送させるコンベヤの直上に、下向きに開口した流体噴射ノズルを複数個備えているノズルヘッダーが設けられており、このノズルヘッダーから噴射される水流が上記コンベヤ上の繊維質シート状物に対して旋回軌跡を描きつつ噴射するように構成されている。
ノズルヘッダーを旋回させて噴射水流も旋回させると、繊維質を強固に交絡しつつ、不織布の表面に畦状の筋が発現するのを防止し、梨地調の模様を与えたり、表面の平滑性を得るのに有効とされている。
【0004】
しかしながら、上記従来技術で用いるノズルヘッダーは、ノズルが多数集合した質量の大きい部材であるため、これを長時間、均一な条件で運動させたり、振動や騒音を防止することは非常に困難で、装置の維持管理が難しかった。
【0005】
そこで、特許文献2の発明が提案された。
この従来技術は、繊維質を含有する水流交絡用ウェブを積載し搬送するための支持体が搬送方向に直角に往復運動し、その運動状態にある水流交絡用ウェブの上方から、高圧水流を噴射し、ウェブを構成する繊維を3次元的に交絡させるものである。そして、支持体を往復運動させるために、支持体に送りをかけるロールが軸方向に往復運動するように構成されている。
【0006】
しかしながら、この従来技術では、質量の大きいロールを往復運動させるため、無駄な動力を消費し、しかも製造装置全体に振動や騒音を発生させる原因となっていた。そして、振動や騒音は製造速度を上げると顕著になるので、生産性向上の妨げとなっていた。
【先行技術文献】
【特許文献】
【0007】
特開昭55-62256号公報
特開平5-33251号公報
【発明の概要】
【発明が解決しようとする課題】
【0008】
本発明は上記事情に鑑み、振動や騒音が発生しにくく、生産性を高くできる不織布製造装置およびそれを用いた製造方法を提供することを目的とする。
【課題を解決するための手段】
【0009】
第1発明の不織布製造装置は、搬送されている繊維ウェブに対してノズルから水流を噴射し、繊維ウェブの繊維同士を交絡させて不織布を製造する製造装置であって、前記ノズルを複数個設けたノズルヘッドを支持するノズルヘッド支持ユニットと、該ノズルヘッド支持ユニットを水平面内で旋回させる第1旋回駆動部と、前記ノズルヘッド支持ユニットの旋回による慣性力を打ち消すためのカウンターバランサーと、前記カウンターバランサーを、前記ノズルヘッド支持ユニットに対し位相が水平面内で180°相違する状態で旋回させる第2旋回駆動部とを備えることを特徴とする。
第2発明の不織布製造装置は、第1発明において、前記第1旋回駆動部は、駆動源によって回転される左右2本の回転軸と、該回転軸の一部に形成された第1偏心軸部とからなり、該第1偏心軸部が前記ノズルヘッド支持ユニットの両端部に設けられた軸受ボスに内挿されており、前記第2旋回駆動部は、前記回転軸の他の部位に形成された第2偏心軸部とからなり、該第2偏心軸部は前記第1偏心軸部に対し最大偏心位置が水平面内で180°位相が相違しており、前記カウンターバランサーの両端部に設けられた軸受ボスに内挿されていることを特徴とする。
第3発明の不織布製造方法は、搬送されている繊維ウェブに対してノズルから水流を噴射し、繊維ウェブの繊維同士を交絡させて不織布を製造する製造方法であって、前記ノズルを複数個設けたノズルヘッドを支持するノズルヘッド支持ユニットを水平面内で旋回させ、前記ノズルヘッド支持ユニットの旋回による慣性力を打ち消すためのカウンターバランサーを、前記ノズルヘッド支持ユニットに対し位相が水平面内で180°相違する状態で旋回させることを特徴とする。
【発明の効果】
【0010】
第1発明によれば、カウンターバランサーが、ノズルヘッド支持ユニットに対し水平面内で180°相違する位相で旋回すると、ノズルヘッド支持ユニットの旋回による慣性力を打ち消すので、不織布製造装置全体に振動も騒音も発生しなくなる。このため高速運転が可能となり、不織布生産の能率を高めることができる。
第2発明によれば、回転軸に設けた第1偏心軸部と第2偏心軸部とで、ノズルヘッド支持ユニットとカウンターバランサーを共に旋回させるが、第1偏心軸部と第2偏心軸部は互いに最大偏心位置が水平面内で180°位相が相違しているため、カウンターバランサーの旋回動作がノズルヘッド支持ユニットの旋回動作による慣性力を打ち消すことができる。このため、不織布製造装置全体に振動も騒音も発生しにくくなる。
第3発明によれば、カウンターバランサーを、ノズルヘッド支持ユニットに対し水平面内で180°相違する位相で旋回させることでノズルヘッド支持ユニットの旋回による慣性力を打ち消す。このため、不織布製造装置全体に振動も騒音も発生しなくなるので、本製造方法によれば、高速運転が可能となり不織布生産の能率を高めることができる。
【図面の簡単な説明】
(【0011】以降は省略されています)
この特許をJ-PlatPat(特許庁公式サイト)で参照する
関連特許
川之江造機株式会社
不織布製造装置およびそれを用いた製造方法
1か月前
東レ株式会社
編地
5か月前
東レ株式会社
不織布の製造装置
1か月前
日本エステル株式会社
クッション体
2か月前
東レ株式会社
編物、繊維製品および詰め物
5か月前
株式会社ワコール
充填材
5か月前
東レ株式会社
不織布およびエアフィルター濾材
5か月前
ユニチカ株式会社
化粧料含浸用基布の製造方法
3か月前
グンゼ株式会社
編地及び繊維製品
1か月前
モリト株式会社
紐体を用いた連結体
3か月前
大日本印刷株式会社
インテリア用品
23日前
ユニチカ株式会社
機能性不織布の製造方法
23日前
ユニチカトレーディング株式会社
油吸着材用不織布
2か月前
セーレン株式会社
緯編地
5か月前
東洋紡エムシー株式会社
農作物保護用生分解性不織布。
1か月前
東レ株式会社
不織布の製造装置および不織布の製造方法
2か月前
日本製紙クレシア株式会社
ローション不織布
3か月前
株式会社島精機製作所
編地の編成方法、および編地
2か月前
株式会社島精機製作所
編地の編成方法、および編地
3か月前
セイコーエプソン株式会社
シート製造装置
25日前
セイコーエプソン株式会社
シート製造装置
1か月前
セイコーエプソン株式会社
シート製造装置
25日前
帝人フロンティア株式会社
しみ防止布帛および繊維製品
5か月前
セイコーエプソン株式会社
シート製造装置
1か月前
セイコーエプソン株式会社
シート製造装置
1か月前
セイコーエプソン株式会社
シート製造装置
16日前
タイガースポリマー株式会社
耐火性不織布およびその製造方法
11日前
セイコーエプソン株式会社
シート製造装置
25日前
株式会社ヴィオレッタ
メッシュ経編地及び繊維製品
4か月前
ユニチカ株式会社
シート
4か月前
大和紡績株式会社
積層不織布、および液体含浸シート
1か月前
日本製紙クレシア株式会社
複合型不織布
2か月前
花王株式会社
吸収性物品用不織布
2か月前
東洋紡エムシー株式会社
肌への密着性に優れるフェイスマスク用基材
1か月前
東レ株式会社
不織布およびその製造方法ならびに積層体、衣料、雑貨
2か月前
日本毛織株式会社
編地及び衣類
2か月前
続きを見る
他の特許を見る