TOP
|
特許
|
意匠
|
商標
特許ウォッチ
Twitter
他の特許を見る
公開番号
2025141795
公報種別
公開特許公報(A)
公開日
2025-09-29
出願番号
2024226777
出願日
2024-12-23
発明の名称
液体吐出ヘッド及び液体吐出方法
出願人
キヤノン株式会社
代理人
個人
,
個人
,
個人
,
個人
,
個人
主分類
B41J
2/14 20060101AFI20250919BHJP(印刷;線画機;タイプライター;スタンプ)
要約
【課題】 データ量が最適化された駆動が可能な液体吐出ヘッド及び液体吐出補法を提供する。
【解決手段】 吐出口と圧力室と圧力室に設けられる第1の熱エネルギー発生素子と圧力室と連通する個別流路と個別流路に設けられる第2の熱エネルギー発生素子とを有する個別吐出ユニット、及び複数の個別吐出ユニットの個別流路に対して、液体を供給するための共通流路を有する液体吐出ヘッドを用いた液体吐出方法であって、第1の熱エネルギー発生素子と第2の熱エネルギー発生素子とが、第1の熱エネルギー発生素子を駆動する場合においては、第2の熱エネルギー発生素子は駆動されず、第1の熱エネルギー発生素子を駆動しない場合においては、第2の熱エネルギー発生素子に対する駆動を指示する駆動信号を受け取った場合に第2の熱エネルギー発生素子は駆動されるように駆動制御されることを特徴とする液体吐出方法。
【選択図】 図9
特許請求の範囲
【請求項1】
液体を吐出するための吐出口と、
前記吐出口と連通する圧力室と、
前記圧力室に設けられ、かつ、前記吐出口から液体を吐出するためのエネルギーを発生する第1の熱エネルギー発生素子と、
前記圧力室と連通する個別流路と、
前記個別流路に設けられる第2の熱エネルギー発生素子と
を有する個別吐出ユニット、及び
複数の前記個別吐出ユニットの前記個別流路に対して、液体を供給するための共通流路
を有する液体吐出ヘッドを用いた液体吐出方法であって、
前記第1の熱エネルギー発生素子と前記第2の熱エネルギー発生素子とが以下の条件で駆動制御されるように構成されていることを特徴とする液体吐出方法。
(条件)
前記第1の熱エネルギー発生素子を駆動する場合においては、前記第2の熱エネルギー発生素子は駆動されず、
前記第1の熱エネルギー発生素子を駆動しない場合においては、前記第2の熱エネルギー発生素子に対する駆動を指示する駆動信号を受け取った場合に前記第2の熱エネルギー発生素子は駆動される。
続きを表示(約 850 文字)
【請求項2】
前記液体吐出ヘッドが、前記個別吐出ユニットの、前記第1の熱エネルギー発生素子と前記第2の熱エネルギー発生素子の駆動を制御するための駆動制御手段を有する請求項1に記載の液体吐出方法。
【請求項3】
前記複数の前記個別吐出ユニットにおける、複数の前記吐出口が吐出口列を形成する請求項1に記載の液体吐出方法。
【請求項4】
前記複数の前記個別吐出ユニットの前記複数の個別流路と、前記共通流路とが、開口を介して接続する請求項1に記載の液体吐出方法。
【請求項5】
前記個別吐出ユニットの前記個別流路において、前記第1の熱エネルギー発生素子と前記第2の熱エネルギー発生素子とが前記吐出口列と交差する方向に配置されている請求項3に記載の液体吐出方法。
【請求項6】
前記個別流路は、その両端部が前記吐出口列を挟んで位置するように、前記吐出口列と交差する方向に延在する請求項5に記載の液体吐出方法。
【請求項7】
前記複数の個別流路の一端と前記共通流路とが、前記吐出口列と沿うように配列された複数の第1の開口を介して接続し、前記複数の個別流路の他端と前記共通流路とが、前記吐出口列と沿うように配列された複数の第2の開口を介して接続する請求項6に記載の液体吐出方法。
【請求項8】
前記複数の第2の開口の配列方向に対して、両側に第1の吐出口列と第2の吐出口列とが形成されている請求項7に記載の液体吐出方法。
【請求項9】
前記複数の個別流路において、前記複数の第1の熱エネルギー発生素子が、前記複数の第2の開口に近い側に配置されている請求項8に記載の液体吐出方法。
【請求項10】
前記複数の個別流路において、前記複数の第2の熱エネルギー発生素子が、前記複数の第2の開口に近い側に配置されている請求項8に記載の液体吐出方法。
(【請求項11】以降は省略されています)
発明の詳細な説明
【技術分野】
【0001】
本発明は、液体吐出ヘッド及び当該液体吐出ヘッドを用いた液体吐出方法に関する。
続きを表示(約 2,500 文字)
【背景技術】
【0002】
液体吐出ヘッド(以下、「ヘッド」ともいう)における、流路中の気泡の排出及び吐出口近傍のインクの増粘の抑制を目的として、インクを循環させる循環型の液体吐出装置が知られている。インクを循環させる方法として、圧力差を用いる方式(以下、「差圧方式」ともいう)がよく知られている。この方式では、圧力調整機構などを用いて、吐出口に対してインクを供給する側(イン側)の方がインクを回収する側(アウト側)よりも圧力を高くすることで、インクをイン側からアウト側に向かって流入させる。このとき、インクを循環させるためには、アウト側に流れたインクをイン側に戻す必要があり、そのための機構としてポンプが必要になる。尚、ポンプを記録装置本体などのヘッド外部に設けることで、液体吐出ヘッドと本体との間で液体を循環させるものもあれば、液体吐出ヘッドの内部にポンプを設けることで、液体吐出ヘッド内において液体を循環させるものもある。しかしながら、このような差圧方式の循環方法では、圧力調整機構やポンプなどの機構が必要になり、記録装置本体やヘッドが大型化しやすい。
【0003】
そこで、差圧方式以外のインクの循環方法が検討されている。具体的には、吐出口と連通する循環流路を設け、その循環流路中にインクを吐出するためのエネルギー発生素子(以下、「吐出エネルギー発生素子」ともいう)とは別のエネルギー発生素子(以下、「流動エネルギー発生素子」ともいう)を配置し、この流動エネルギー発生素子を駆動することで、循環経路においてインクを循環させる機構が知られている。
【0004】
特許文献1には、複数の吐出口が配列した吐出口列に対して交差するように延在した循環流路を設け、その循環経路中に流動エネルギー発生素子を備える構成が開示されている。
【先行技術文献】
【特許文献】
【0005】
特開2020-104312号公報
【発明の概要】
【発明が解決しようとする課題】
【0006】
しかしながら、特許文献1において、電気熱変換素子である吐出エネルギー発生素子と流動エネルギー発生素子をどのような駆動データを用いて駆動するかに関する記載まではされていない。一般的にはそれぞれのエネルギー発生素子に対して駆動データを与えることが考えられるが、エネルギー素子の数に応じてデータ量が増えることになる。そこで、特許文献1のような吐出エネルギー発生素子と流動エネルギー発生素子を併用するインク循環方式において、データ量が最適化された駆動が可能な液体吐出ヘッド及び液体吐出装置を提供することを目的とする。
【課題を解決するための手段】
【0007】
上記課題を解決するために本発明の液体吐出方法は、液体を吐出するための吐出口と、前記吐出口と連通する圧力室と、前記圧力室に設けられ、かつ、前記吐出口から液体を吐出するためのエネルギーを発生する第1の熱エネルギー発生素子と、前記圧力室と連通する個別流路と、前記個別流路に設けられる第2の熱エネルギー発生素子とを有する個別吐出ユニット、及び複数の前記個別吐出ユニットの前記個別流路に対して、液体を供給するための共通流路を有し、前記第1の熱エネルギー発生素子と前記第2の熱エネルギー発生素子とが以下の条件で駆動制御されるように構成されていることを特徴とする。
(条件)
前記第1の熱エネルギー発生素子を駆動する場合においては、前記第2の熱エネルギー発生素子は駆動されず、
前記第1の熱エネルギー発生素子を駆動しない場合においては、前記第2の熱エネルギー発生素子に対する駆動を指示する駆動信号を受け取った場合に前記第2の熱エネルギー発生素子は駆動される。
【0008】
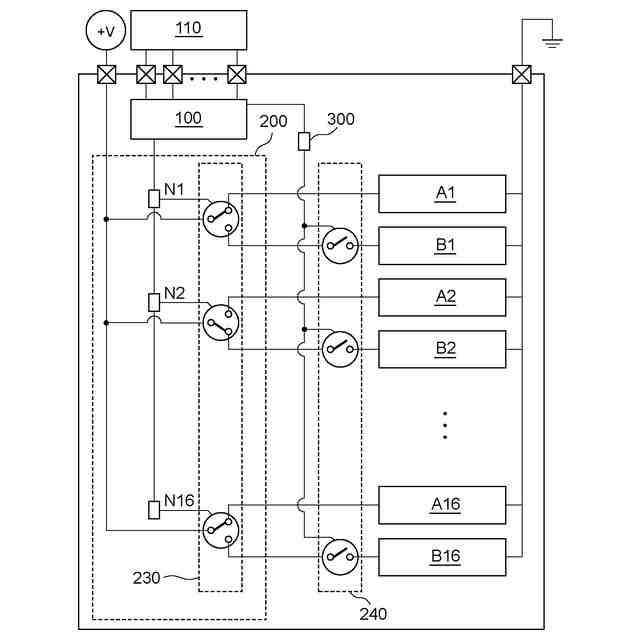
また、上記課題を解決するために本発明の液体吐出ヘッドは、液体を吐出するための吐出口と、前記吐出口と連通する圧力室と、前記圧力室に設けられ、かつ、前記吐出口から液体を吐出するためのエネルギーを発生する第1の熱エネルギー発生素子と、前記圧力室と連通する個別流路と、前記個別流路に設けられる第2の熱エネルギー発生素子と前記第1の熱エネルギー発生素子と前記第2の熱エネルギー発生素子との駆動を制御するための駆動回路と、を有し、前記駆動回路は、前記第1の熱エネルギー発生素子及び前記第2の熱エネルギー発生素子を、何れかのみが駆動可能な状態になるように、互いに排他的に切り替え可能に構成された第1のスイッチと、前記第2の熱エネルギー発生素子を、駆動可能な状態と駆動不可能な状態とに切り替え可能に構成された第2のスイッチと、
を有することを特徴とする。
【発明の効果】
【0009】
本発明によればデータ量が最適化された駆動が可能な液体吐出ヘッド及び液体吐出方法を提供することができる。
【図面の簡単な説明】
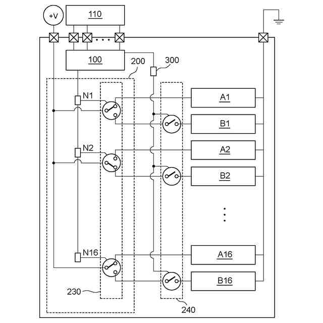
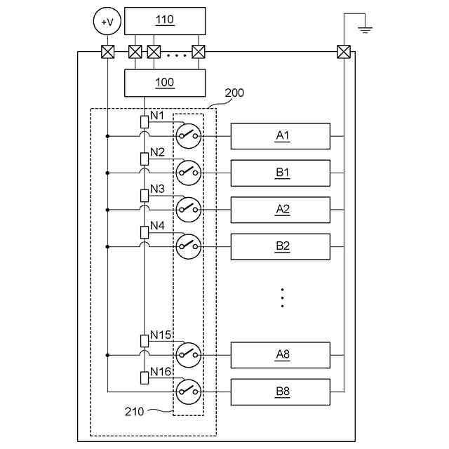
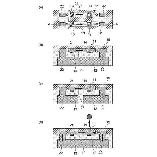
【0010】
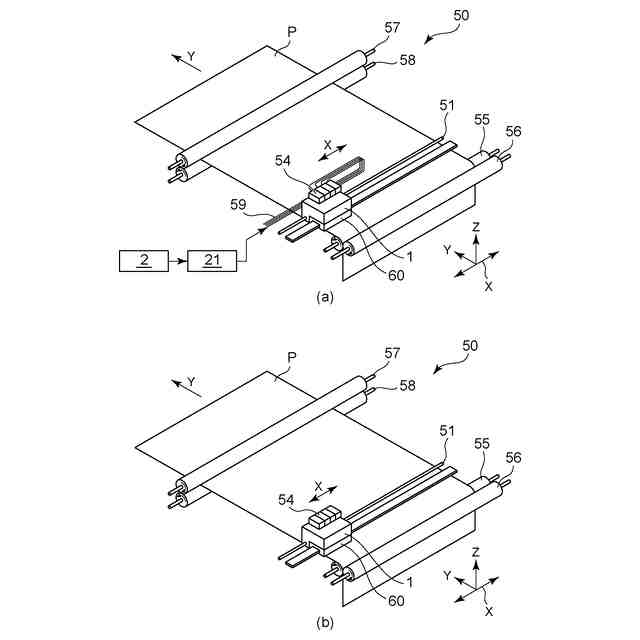
液体吐出ヘッドを利用した装置全体図
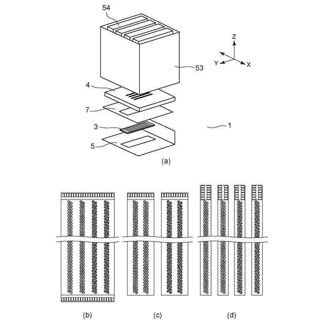
液体吐出ヘッド全体図及び液体吐出チップ全体図
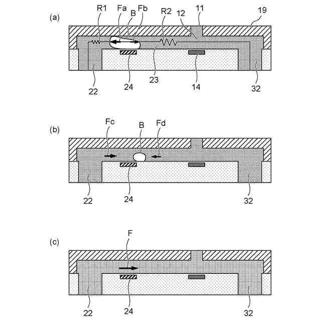
液体吐出ヘッドの吐出口近傍の模式図
液体吐出ヘッドの吐出口近傍の模式図
液体吐出ヘッドの吐出口近傍の模式図
液体吐出ヘッドの吐出口近傍の模式図
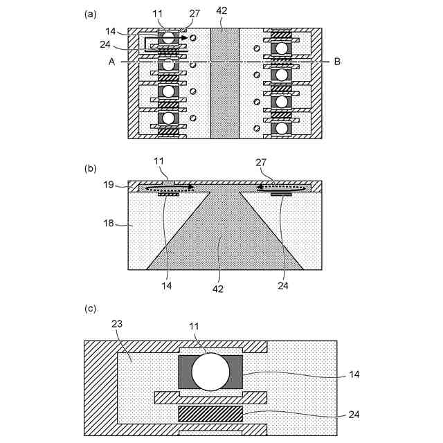
第1の実施形態における液体吐出ヘッドの吐出口近傍の模式図
比較構成における回路構成図
第1の実施形態における回路構成図
第2の実施形態における液体吐出ヘッドの吐出口近傍の模式図
第3の実施形態における液体吐出ヘッドの吐出口近傍の模式図
第4の実施形態における液体吐出ヘッドの吐出口近傍の模式図
第5の実施形態における液体吐出ヘッドの吐出口近傍の模式図
第6の実施形態における液体吐出ヘッドの吐出口近傍の模式図
第1の実施形態におけるエネルギー発生素子に対する駆動タイミングを示した図
【発明を実施するための形態】
(【0011】以降は省略されています)
この特許をJ-PlatPat(特許庁公式サイト)で参照する
関連特許
キヤノン株式会社
トナー
29日前
キヤノン株式会社
撮像装置
12日前
キヤノン株式会社
定着装置
21日前
キヤノン株式会社
撮像装置
1か月前
キヤノン株式会社
撮像装置
6日前
キヤノン株式会社
電子機器
6日前
キヤノン株式会社
電子機器
6日前
キヤノン株式会社
記録装置
13日前
キヤノン株式会社
電子機器
2日前
キヤノン株式会社
定着装置
6日前
キヤノン株式会社
電子機器
21日前
キヤノン株式会社
収容装置
6日前
キヤノン株式会社
定着装置
21日前
キヤノン株式会社
現像装置
29日前
キヤノン株式会社
電子機器
29日前
キヤノン株式会社
定着装置
21日前
キヤノン株式会社
撮像装置
1か月前
キヤノン株式会社
表示装置
5日前
キヤノン株式会社
光学装置
26日前
キヤノン株式会社
発光装置
5日前
キヤノン株式会社
電子機器
26日前
キヤノン株式会社
定着装置
12日前
キヤノン株式会社
記録装置
14日前
キヤノン株式会社
電子機器
23日前
キヤノン株式会社
電子機器
今日
キヤノン株式会社
撮像装置
23日前
キヤノン株式会社
撮像装置
26日前
キヤノン株式会社
撮像装置
13日前
キヤノン株式会社
電子機器
14日前
キヤノン株式会社
撮像装置
14日前
キヤノン株式会社
半導体装置
今日
キヤノン株式会社
容器構造体
1か月前
キヤノン株式会社
容器構造体
1か月前
キヤノン株式会社
画像処理装置
29日前
キヤノン株式会社
画像形成装置
2日前
キヤノン株式会社
画像形成装置
2日前
続きを見る
他の特許を見る