TOP
|
特許
|
意匠
|
商標
特許ウォッチ
Twitter
他の特許を見る
公開番号
2025141582
公報種別
公開特許公報(A)
公開日
2025-09-29
出願番号
2024041590
出願日
2024-03-15
発明の名称
機械学習装置、機械学習方法、および、プログラム
出願人
キヤノン株式会社
代理人
弁理士法人大塚国際特許事務所
主分類
G06N
20/00 20190101AFI20250919BHJP(計算;計数)
要約
【課題】機器の故障の種類から故障に対する処置を推定する学習モデルを学習させるために収集した学習データを機器構成情報に基づいて選択し、効率的に使用する機械学習装置、方法及びプログラムを提供する。
【解決手段】機械学習装置は、機器の種類毎の故障の種類と、故障の原因となった機器の構成部品と故障に対する処置内容とを故障処置データとして記憶する記憶手段と、機器の種類毎の故障処置データを学習データとして、機器の種類毎に故障の種類から処置内容を推定するための学習モデルの学習を行う学習手段と、を備え、学習手段は、第1の種類の機器の故障処置データと、当該処置データに含まれる機器の故障の原因となった故障部品と共通の構成部品を有する第1の種類の機器とは異なる種類の機器の共通の構成部品に関する故障処置データと、を学習データとして、第1の種類の機器について故障の種類から処置内容を推定するための学習モデルの学習を行う。
【選択図】図8
特許請求の範囲
【請求項1】
機器の種類ごとの故障の種類と、前記故障の原因となった前記機器の構成部品と、前記故障に対する処置内容を故障処置データとして記憶する記憶手段と、
前記機器の種類ごとの前記故障処置データを学習データとして、前記機器の種類ごとに故障の種類から処置内容を推定するための学習モデルの学習を行う学習手段と、
を備え、
前記学習手段は、第1の種類の機器の故障処置データと、前記第1の種類の機器の故障処置データに含まれる機器の故障の原因となった故障部品と共通の構成部品を有する前記第1の種類の機器とは異なる種類の機器の前記共通の構成部品に関する故障処置データとを学習データとして、前記第1の種類の機器について故障の種類から処置内容を推定するための学習モデルの学習を行う、
機械学習装置。
続きを表示(約 1,500 文字)
【請求項2】
前記学習モデルにより、機器の故障に対する処置内容を推定する推定手段と、
前記推定された処置内容の候補から、ユーザにより行われた処置内容を受け付け、故障処置データとして記憶手段に記憶させる受付手段と、
をさらに、備える、
請求項1に記載の機械学習装置。
【請求項3】
さらに、前記推定された処置内容の候補を情報入力端末に送信する手段を備え、
前記受付手段は、前記情報入力端末から、前記ユーザにより行われた処置内容を受け付ける、
請求項2に記載の機械学習装置。
【請求項4】
前記機器は、画像形成装置であり、
前記故障は、画像形成された画像データに含まれる画像異常である、
請求項1記載の機械学習装置。
【請求項5】
前記学習手段は、第1の種類の機器の故障処置データと、前記第1の種類の機器の故障処置データに含まれる機器の故障の原因となった故障部品と共通の構成部品を有する前記第1の種類の機器とは異なる種類の機器の前記共通の構成部品に関する故障処置データとを学習データとして、前記第1の種類の機器について故障の種類から処置内容を推定するための第1の学習モデルの学習を行い、および、前記第1の種類の機器の故障処置データを学習データとし、前記第1の種類の機器とは異なる種類の機器の前記共通の構成部品に関する故障処置データを用いずに、前記第1の種類の機器について故障の種類から処置内容を推定するための第2の学習モデルの学習を行い、
前記第1の学習モデルおよび前記第2の学習モデルを比較し、診断精度が高いモデルを選択する、
請求項1記載の機械学習装置。
【請求項6】
機器の種類ごとの故障の種類と、前記故障の原因となった前記機器の構成部品と、前記故障に対する処置内容を故障処置データとして記憶する記憶手段を備えた機械学習装置の機械学習方法であって、
学習手段は、前記機器の種類ごとの前記故障処置データを学習データとして、前記機器の種類ごとに故障の種類から処置内容を推定するための学習モデルの学習を行い、
前記学習手段は、第1の種類の機器の故障処置データと、前記第1の種類の機器の故障処置データに含まれる機器の故障の原因となった故障部品と共通の構成部品を有する前記第1の種類の機器とは異なる種類の機器の前記共通の構成部品に関する故障処置データとを学習データとして、前記第1の種類の機器について故障の種類から処置内容を推定するための学習モデルの学習を行う、
機械学習方法。
【請求項7】
機器の種類ごとの故障の種類と、前記故障の原因となった前記機器の構成部品と、前記故障に対する処置内容を故障処置データとして記憶する記憶手段を備えた機械学習装置のコンピュータを、
前記機器の種類ごとの前記故障処置データを学習データとして、前記機器の種類ごとに故障の種類から処置内容を推定するための学習モデルの学習を行う学習手段として、機能させ、
前記学習手段は、第1の種類の機器の故障処置データと、前記第1の種類の機器の故障処置データに含まれる機器の故障の原因となった故障部品と共通の構成部品を有する前記第1の種類の機器とは異なる種類の機器の前記共通の構成部品に関する故障処置データとを学習データとして、前記第1の種類の機器について故障の種類から処置内容を推定するための学習モデルの学習を行う、
プログラム。
発明の詳細な説明
【技術分野】
【0001】
本発明は、機械学習装置、機械学習方法、および、プログラムに関する。具体的には、人工知能を用いた学習モデルに入力する教師データの作成に関し、複数の機種で収集したデータを機器構成情報に基づいて教師データとして学習モデルを生成することに関する。
続きを表示(約 1,700 文字)
【背景技術】
【0002】
従来、機器のエラーや故障などの異常が発生した場合、異常の通報によりサービスマンなどの保守担当者が派遣される。保守担当者は、マニュアルを確認し部品交換などのメンテナンスを行う。
【0003】
また近年、クラウドコンピューティングの普及が進んでいる。クラウドコンピューティングは、多くのコンピューティングリソースを用いてデータ変換やデータ処理を分散して実行し、多くのクライアントからの要求を分散並列処理により並行して処理することが主な特徴である。システム開発者は、クラウドコンピューティングを利用することにより、必要なコンピューティングリソースを容易に調達でき、システム機能開発に注力することができる。
【0004】
クラウドコンピューティングとの親和性が高い要素の一つが、AI(Artificial Intelligence)である。AIを実現するコア技術の一つに機械学習がある。機械学習では大量データ(ビッグデータ)を学習アルゴリズムで解析することでデータの特徴(特性やパターン、傾向など)を抽出した学習モデルを作成することができる。こうした大量データを安全に保管・解析するためには多くのコンピューティングリソースが必要であるため、クラウドコンピューティング環境で導入される事例が多い。
【0005】
一般に機械学習では、学習用データを用いて学習モデルを訓練し、訓練が完了した学習モデルを学習済モデルとして本番運用していく。学習モデルを訓練するための学習用データは、学習済モデルの構築に不可欠であるが、実際には、不具合の種類によっては不具合情報の収集に膨大な時間がかかってしまうことも想定される。
【0006】
特許文献1では、家電機器が有する1つ以上のセンサ検出結果に基づいて、不具合の発生を予測する学習モデルが提案されている。特許文献1では、家電機器の基本形式の大分類ごとに生成された学習済モデルと、機種ごとの小分類ごとに生成された学習済モデルを有し、2つの学習済モデルを使って家電機器の故障診断を行う。これにより、機種ごとの小分類では十分な学習データが得られない場合でも、基本形式の大分類ごとではより多くの学習データを得られるため、予測精度を向上させることが可能なる。
【先行技術文献】
【特許文献】
【0007】
特開2021-177319号公報
【発明の概要】
【発明が解決しようとする課題】
【0008】
しかしながら特許文献1のように、家電機器の基本形式が同一であっても、機器構成が異なってしまう場合に、生成した学習済モデルを適用できない場合が想定される。また、特定の不具合に関する情報の収集に膨大な時間がかかってしまい十分な学習データが得られない状況は改善されない。
【0009】
本発明は、上記課題に鑑みてなされたもので、収集された学習データを機器構成情報に基いて選択し、前記収集された学習データを効率的に使用する仕組みを提供することを目的とする。
【課題を解決するための手段】
【0010】
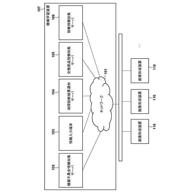
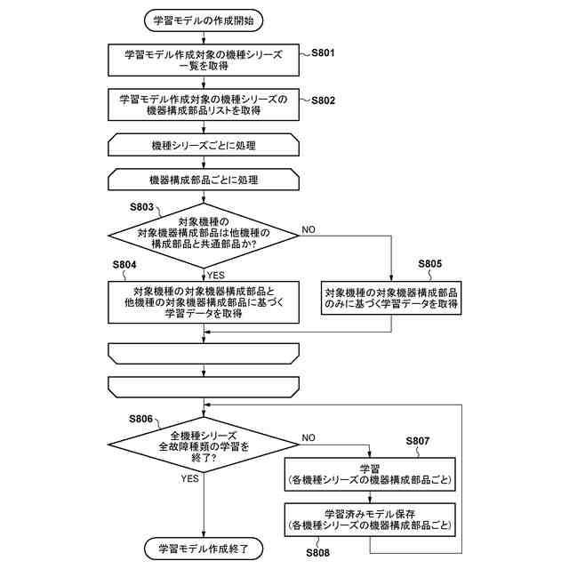
本発明の機械学習装置は、機器の種類ごとの故障の種類と、前記故障の原因となった前記機器の構成部品と、前記故障に対する処置内容を故障処置データとして記憶する記憶手段と、前記機器の種類ごとの前記故障処置データを学習データとして、前記機器の種類ごとに故障の種類から処置内容を推定するための学習モデルの学習を行う学習手段と、を備え、前記学習手段は、第1の種類の機器の故障処置データと、前記第1の種類の機器の故障処置データに含まれる機器の故障の原因となった故障部品と共通の構成部品を有する前記第1の種類の機器とは異なる種類の機器の前記共通の構成部品に関する故障処置データとを学習データとして、前記第1の種類の機器について故障の種類から処置内容を推定するための学習モデルの学習を行う、ことを特徴とする。
【発明の効果】
(【0011】以降は省略されています)
この特許をJ-PlatPat(特許庁公式サイト)で参照する
関連特許
キヤノン株式会社
トナー
2日前
キヤノン株式会社
電子機器
1か月前
キヤノン株式会社
電子機器
25日前
キヤノン株式会社
電子機器
4日前
キヤノン株式会社
撮像装置
10日前
キヤノン株式会社
電子機器
6日前
キヤノン株式会社
電子機器
1か月前
キヤノン株式会社
記録装置
17日前
キヤノン株式会社
撮像装置
16日前
キヤノン株式会社
光学装置
1か月前
キヤノン株式会社
発光装置
9日前
キヤノン株式会社
記録装置
18日前
キヤノン株式会社
表示装置
9日前
キヤノン株式会社
記録装置
2日前
キヤノン株式会社
収容装置
10日前
キヤノン株式会社
定着装置
10日前
キヤノン株式会社
定着装置
16日前
キヤノン株式会社
電子機器
10日前
キヤノン株式会社
撮像装置
1か月前
キヤノン株式会社
撮像装置
17日前
キヤノン株式会社
電子機器
10日前
キヤノン株式会社
撮像装置
2日前
キヤノン株式会社
撮像装置
27日前
キヤノン株式会社
現像装置
1か月前
キヤノン株式会社
定着装置
25日前
キヤノン株式会社
定着装置
25日前
キヤノン株式会社
撮像装置
18日前
キヤノン株式会社
電子機器
27日前
キヤノン株式会社
定着装置
25日前
キヤノン株式会社
電子機器
18日前
キヤノン株式会社
現像剤容器
3日前
キヤノン株式会社
半導体装置
4日前
キヤノン株式会社
画像形成装置
27日前
キヤノン株式会社
表示システム
3日前
キヤノン株式会社
画像形成装置
6日前
キヤノン株式会社
画像形成装置
1か月前
続きを見る
他の特許を見る