TOP
|
特許
|
意匠
|
商標
特許ウォッチ
Twitter
他の特許を見る
10個以上の画像は省略されています。
公開番号
2025141570
公報種別
公開特許公報(A)
公開日
2025-09-29
出願番号
2024041576
出願日
2024-03-15
発明の名称
冷蔵庫扉、および、冷蔵庫
出願人
日立グローバルライフソリューションズ株式会社
代理人
ポレール弁理士法人
主分類
F25D
23/00 20060101AFI20250919BHJP(冷凍または冷却;加熱と冷凍との組み合わせシステム;ヒートポンプシステム;氷の製造または貯蔵;気体の液化または固体化)
要約
【課題】 組立不良や経年劣化が発生しても、想定外の部位から光が漏洩しない冷蔵庫扉を提供する。
【解決手段】 ガラス板と基板ユニットと基板ボックスを備えた冷蔵庫扉であって、基板ユニットは、ガラス板の裏面と対向するように配置され、文字や記号が表記された表示フィルムと、該表示フィルムの裏面の一部と対向するように配置され、複数の開口を備えた不透光性のシェードと、該表示フィルムの裏面の他部と対向するように配置された透光性の導光板と、シェードの裏面および導光板の裏面と対向するように配置され、開口と対向する位置に発光源を設け、導光板と対向する位置に静電センサを設けた基板と、シェードと導光板と基板を収容する基板ホルダーと、を有しており、表示フィルムは、表示フィルムの外縁を裏面側に折り曲げた折曲部の内面で、基板ホルダーの側面に接着される冷蔵庫扉。
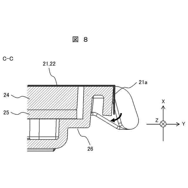
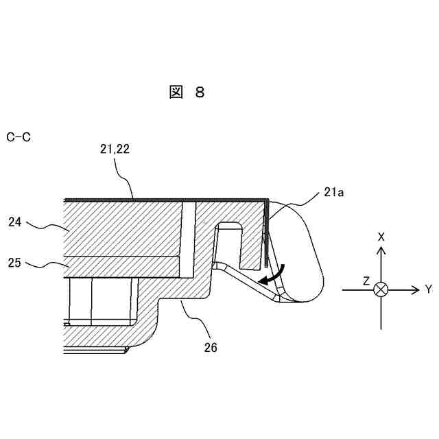
【選択図】 図8
特許請求の範囲
【請求項1】
前面に配置したガラス板と、該ガラス板の裏側に配置した基板ユニットと、該基板ユニットを収容する基板ボックスと、を備えた冷蔵庫扉であって、
前記基板ユニットは、
前記ガラス板の裏面と対向するように配置され、文字や記号が表記された表示フィルムと、
該表示フィルムの裏面の一部と対向するように配置され、複数の開口を備えた不透光性のシェードと、
前記表示フィルムの裏面の他部と対向するように配置された透光性の導光板と、
前記シェードの裏面および前記導光板の裏面と対向するように配置され、前記開口と対向する位置に発光源を設け、前記導光板と対向する位置に静電センサを設けた基板と、
前記シェードと前記導光板と前記基板を収容する基板ホルダーと、
を有しており、
前記表示フィルムは、前記表示フィルムの外縁を裏面側に折り曲げた折曲部の内面で、前記基板ホルダーの側面に接着されることを特徴とする冷蔵庫扉。
続きを表示(約 990 文字)
【請求項2】
請求項1に記載の冷蔵庫扉において、
前記表示フィルムの折曲部は、冷蔵庫扉を冷蔵庫に装着した場合に、上側となる位置に少なくとも設けられていることを特徴とする冷蔵庫扉。
【請求項3】
前面に配置したガラス板と、該ガラス板の裏側に配置した基板ユニットと、該基板ユニットを収容する基板ボックスと、を備えた冷蔵庫扉であって、
前記基板ユニットは、
前記ガラス板の裏面と対向するように配置され、文字や記号が表記された表示フィルムと、
該表示フィルムの裏面の一部と対向するように配置され、複数の開口を備えた不透光性のシェードと、
前記表示フィルムの裏面の他部と対向するように配置された透光性の導光板と、
前記シェードの裏面および前記導光板の裏面と対向するように配置され、前記開口と対向する位置に発光源を設け、前記導光板と対向する位置に静電センサを設けた基板と、
前記シェードと前記導光板と前記基板を収容する基板ホルダーと、
を有しており、
前記基板ボックスの内面は反射抑制色であることを特徴とする冷蔵庫扉。
【請求項4】
請求項3に記載の冷蔵庫扉において、
前記反射抑制色とは、マンセル表色系において明度を10段階とした場合、明度6以下の色であることを特徴とする冷蔵庫扉。
【請求項5】
請求項1または請求項3に記載の冷蔵庫扉において、
前記ガラス板の裏側には、前記基板ホルダーと前記基板ボックスの隙間と対向する形態で遮光テープが貼られていることを特徴とする冷蔵庫扉。
【請求項6】
請求項5に記載の冷蔵庫扉において、
前記遮光テープは、一体成形されていることを特徴とする冷蔵庫扉。
【請求項7】
請求項1または請求項3に記載の冷蔵庫扉において、
前記表示フィルムと前記基板ホルダーを両面テープで接着したことを特徴とする冷蔵庫扉。
【請求項8】
請求項7に記載の冷蔵庫扉において、
前記両面テープの厚さは、前記表示フィルムの厚さの2倍以上であることを特徴とする冷蔵庫扉。
【請求項9】
請求項1または請求項3に記載の冷蔵庫扉を備えた冷蔵庫。
発明の詳細な説明
【技術分野】
【0001】
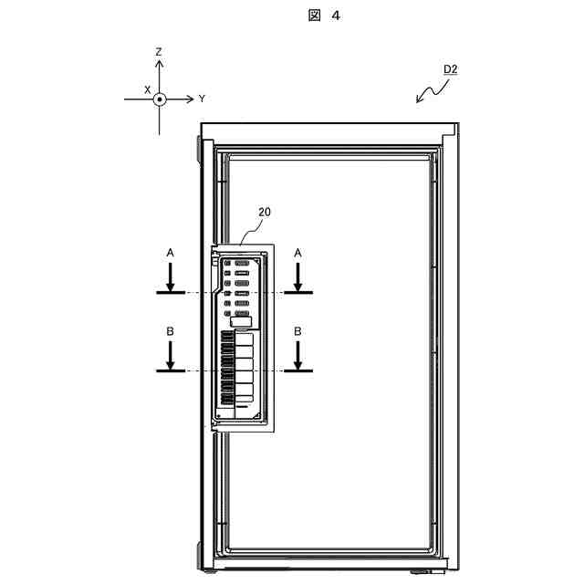
本発明は、点灯可能なタッチ操作部を前面に備えた冷蔵庫扉、および、冷蔵庫に関する。
続きを表示(約 1,900 文字)
【背景技術】
【0002】
点灯可能なタッチ操作部を前面に備えた冷蔵庫扉に関する文献として、特許文献1が知られている。例えば、同文献の要約書には、課題として「文字抜き部を有する文字表現部の視認性を維持しつつ断熱性の低減を抑制する。」との記載があり、解決手段として「基板と、基板前方に配された文字表現部と、基板後方に配された反射部と、を有し、基板は、基板窓と基板窓周囲の縁部と、縁部の長手方向中央側から、短手方向に向かって延在する凸縁部と、凸縁部に端部側を有する発光源と、を有し、文字表現部は、透光性を有する文字状の文字抜き部を含む冷蔵庫。」との記載がある。
【0003】
また、同文献の段落0002には、「透光性を有する文字抜き部の背後から光を照射することで文字抜き部の視認性を高めて文字を表示する文字表示装置を配した冷蔵庫が知られている。」との記載があり、段落0012には「図2は、文字表示装置30を前側から見たときの分解斜視図である。文字表示装置30は、前方側から順に、文字表現部90、誘電板50及び遮光板80、発光源43と検知部42とが設けられた基板40、並びに反射部を有する基板ケース60、を備えて構成されている。」との記載がある。
【0004】
このように、特許文献1には、背後から光を照射して文字抜き部を光らせることで、扉前面に表示した文字の視認性を高めた冷蔵庫が開示されている。
【先行技術文献】
【特許文献】
【0005】
特開2020-34168号公報
【発明の概要】
【発明が解決しようとする課題】
【0006】
しかしながら、特許文献1には、文字表示装置の組立不良や経年劣化が発生した場合に、文字抜き部以外の想定外の部位から光が漏洩して表面に顕現する結果、冷蔵庫扉の美観を損ねる可能性についての言及はなく、当然に、組立不良時や経年劣化時の想定外の光漏洩を抑制するための具体的な構造について開示はなかった。
【0007】
そこで、本発明は、組立不良や経年劣化が発生しても、想定外の部位から光が漏洩しない冷蔵庫扉、および、その冷蔵庫扉を備えた冷蔵庫を提供することを目的とする。
【課題を解決するための手段】
【0008】
上記課題を解決するため、本発明の冷蔵庫扉は、前面に配置したガラス板と、該ガラス板の裏側に配置した基板ユニットと、該基板ユニットを収容する基板ボックスと、を備えた冷蔵庫扉であって、前記基板ユニットは、前記ガラス板の裏面と対向するように配置され、文字や記号が表記された表示フィルムと、該表示フィルムの裏面の一部と対向するように配置され、複数の開口を備えた不透光性のシェードと、前記表示フィルムの裏面の他部と対向するように配置された透光性の導光板と、前記シェードの裏面および前記導光板の裏面と対向するように配置され、前記開口と対向する位置に発光源を設け、前記導光板と対向する位置に静電センサを設けた基板と、前記シェードと前記導光板と前記基板を収容する基板ホルダーと、を有しており、前記表示フィルムは、前記表示フィルムの外縁を裏面側に折り曲げた折曲部の内面で、前記基板ホルダーの側面に接着されるものとした。
【0009】
また、本発明の冷蔵庫扉は、前面に配置したガラス板と、該ガラス板の裏側に配置した基板ユニットと、該基板ユニットを収容する基板ボックスと、を備えた冷蔵庫扉であって、前記基板ユニットは、前記ガラス板の裏面と対向するように配置され、文字や記号が表記された表示フィルムと、該表示フィルムの裏面の一部と対向するように配置され、複数の開口を備えた不透光性のシェードと、前記表示フィルムの裏面の他部と対向するように配置された透光性の導光板と、前記シェードの裏面および前記導光板の裏面と対向するように配置され、前記開口と対向する位置に発光源を設け、前記導光板と対向する位置に静電センサを設けた基板と、前記シェードと前記導光板と前記基板を収容する基板ホルダーと、を有しており、前記基板ボックスの内面は反射抑制色であるものとした。
【発明の効果】
【0010】
本発明の冷蔵庫扉、または、その冷蔵庫扉を備えた冷蔵庫によれば、組立不良や経年劣化が発生しても、想定外の部位から光が漏洩しないので、想定外の光漏洩により冷蔵庫扉の美観を損ねることがない。
【図面の簡単な説明】
(【0011】以降は省略されています)
この特許をJ-PlatPat(特許庁公式サイト)で参照する
関連特許
タニコー株式会社
貯水槽
27日前
株式会社コロナ
空気調和装置
2か月前
株式会社コロナ
ヒートポンプ装置
1か月前
アクア株式会社
冷蔵庫
27日前
アクア株式会社
冷蔵庫
1か月前
個人
ヒートポンプ型空気調和機
11日前
ホシザキ株式会社
製氷機
5日前
富士電機株式会社
冷却装置
1か月前
富士電機株式会社
冷却装置
4日前
ホシザキ株式会社
冷凍装置
2か月前
株式会社ツインバード
スターリング機関
1か月前
フクシマガリレイ株式会社
冷却庫
2か月前
富士電機株式会社
冷却装置
1か月前
ホシザキ株式会社
製氷機
2か月前
ホシザキ株式会社
製氷機
2か月前
富士ベンダーサービス株式会社
保管庫
13日前
シャープ株式会社
冷却庫
1か月前
シャープ株式会社
冷蔵庫
1か月前
シャープ株式会社
冷却庫
2か月前
富士電機株式会社
冷却システム
20日前
シャープ株式会社
冷蔵庫
1か月前
シャープ株式会社
冷却庫
1か月前
ホシザキ株式会社
製氷機
2か月前
個人
液体窒素凝縮による冷凍サイクル
1か月前
シャープ株式会社
冷蔵庫
1か月前
シャープ株式会社
冷却装置
1か月前
シャープ株式会社
冷却装置
2か月前
シャープ株式会社
冷却装置
1か月前
シャープ株式会社
冷却装置
1か月前
三菱重工冷熱株式会社
低温冷水供給装置
11日前
株式会社ゼロカラ
冷凍装置
1か月前
株式会社前川製作所
冷凍機
1か月前
ホシザキ株式会社
液体凍結装置
25日前
シャープ株式会社
冷蔵庫
19日前
シャープ株式会社
冷蔵庫
11日前
FrostiX株式会社
急速冷凍装置
1か月前
続きを見る
他の特許を見る