TOP
|
特許
|
意匠
|
商標
特許ウォッチ
Twitter
他の特許を見る
10個以上の画像は省略されています。
公開番号
2025141279
公報種別
公開特許公報(A)
公開日
2025-09-29
出願番号
2024041148
出願日
2024-03-15
発明の名称
認証装置、認証システム、認証方法およびプログラム
出願人
日本電気株式会社
代理人
個人
,
個人
主分類
G06F
21/32 20130101AFI20250919BHJP(計算;計数)
要約
【課題】足音を用いて個人認証を行う際、なりすましの可能性を軽減できるようにする。
【解決手段】認証装置が、マイクが採取した音波のうち、前記マイクで採取可能な周波数範囲内で予め定められた周波数範囲内の音波を検出する音波検出手段と、検出された音波の特徴と、前記予め定められた周波数範囲内で、時刻に応じて音波の特徴を変化させて出力された音波の、前記マイクによる音波の採取時における特徴とが一致しないと判定した場合、なりすましが行われたと判定する照合手段と、を備える。
【選択図】図1
特許請求の範囲
【請求項1】
マイクが採取した音波のうち、前記マイクで採取可能な周波数範囲内で予め定められた周波数範囲内の音波を検出する音波検出手段と、
検出された音波の特徴と、前記予め定められた周波数範囲内で、時刻に応じて音波の特徴を変化させて出力された音波の、前記マイクによる音波の採取時における特徴とが一致しないと判定した場合、なりすましが行われたと判定する照合手段と、
を備える認証装置。
続きを表示(約 1,200 文字)
【請求項2】
前記照合手段は、前記マイクが採取した音波のうち足音を用いた認証を行い、前記足音の人物が、予め登録されている人物と同一であると判定し、かつ、前記検出された音波の特徴と、前記予め定められた周波数範囲内で、時刻に応じて音波の特徴を変化させて出力された前記音波の、前記マイクによる音波の採取時における特徴とが一致すると判定した場合、認証に成功したと判定する、
請求項1に記載の認証装置。
【請求項3】
前記予め定められている周波数範囲は、人間の可聴域内の周波数範囲である、
請求項1に記載の認証装置。
【請求項4】
前記予め定められている周波数範囲は、人間の可聴域内の周波数範囲、かつ、聴覚が困難な周波数範囲とされている周波数範囲である、
請求項3に記載の認証装置。
【請求項5】
前記予め定められた周波数範囲内で、時刻に応じて音波の特徴を変化させて出力された音波は、時刻に応じて前記音波の周波数を変化させて出力された音波である、
請求項1に記載の認証装置。
【請求項6】
前記予め定められた周波数範囲内で、時刻に応じて音波の特徴を変化させて出力された音波は、連続波による搬送波が変調された変調波であり、時刻に応じて音波の特徴が変化するように変調されている、
請求項1に記載の認証装置。
【請求項7】
マイクと、
前記マイクで採取可能な周波数範囲内で予め定められた周波数範囲内の音波を、時刻に応じて音波の特徴を変化させて出力する音波出力手段と、
マイクが採取した音波のうち、前記予め定められた周波数範囲内の音波を検出する音波検出手段と、
検出された音波の特徴と、前記音波出力手段が出力した音波の、前記マイクによる音波の採取時における特徴とが一致しないと判定した場合、なりすましが行われたと判定する照合手段と、
を備える認証システム。
【請求項8】
コンピュータが、
マイクが採取した音波のうち、前記マイクで採取可能な周波数範囲内で予め定められた周波数範囲内の音波を検出し、
検出された音波の特徴と、前記予め定められた周波数範囲内で、時刻に応じて音波の特徴を変化させて出力された音波の、前記マイクによる音波の採取時における特徴とが一致しないと判定した場合、なりすましが行われたと判定する、
ことを含む認証方法。
【請求項9】
コンピュータに、
マイクが採取した音波のうち、前記マイクで採取可能な周波数範囲内で予め定められた周波数範囲内の音波を検出することと、
検出された音波の特徴と、前記予め定められた周波数範囲内で、時刻に応じて音波の特徴を変化させて出力された音波の、前記マイクによる音波の採取時における特徴とが一致しないと判定した場合、なりすましが行われたと判定することと、
を実行させるプログラム。
発明の詳細な説明
【技術分野】
【0001】
本発明は、認証装置、認証システム、認証方法およびプログラムに関する。
続きを表示(約 1,300 文字)
【背景技術】
【0002】
足音を用いた個人認証が行われる場合がある。
例えば、特許文献1には、マイクロフォンで採集した歩行時の低周波領域の音に基づいて歩行者の認識を行うことが記載されている。
【先行技術文献】
【特許文献】
【0003】
特開2002-197437号公報
【発明の概要】
【発明が解決しようとする課題】
【0004】
足音を用いて個人認証を行う際、なりすましの可能性を軽減できることが好ましい。
【0005】
本開示の目的の一例は、上述した課題を解決することのできる認証装置、認証システム、認証方法およびプログラムを提供することである。
【課題を解決するための手段】
【0006】
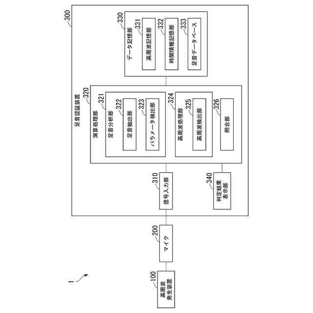
本開示の第1の態様によれば、認証装置は、マイクが採取した音波のうち、前記マイクで採取可能な周波数範囲内で予め定められた周波数範囲内の音波を検出する音波検出手段と、検出された音波の特徴と、前記予め定められた周波数範囲内で、時刻に応じて音波の特徴を変化させて出力された音波の、前記マイクによる音波の採取時における特徴とが一致しないと判定した場合、なりすましが行われたと判定する照合手段と、を備える。
【0007】
本開示の第2の態様によれば、認証システムは、マイクと、前記マイクで採取可能な周波数範囲内で予め定められた周波数範囲内の音波を、時刻に応じて音波の特徴を変化させて出力する音波出力手段と、マイクが採取した音波のうち、前記予め定められた周波数範囲内の音波を検出する音波検出手段と、検出された音波の特徴と、前記音波出力手段が出力した音波の、前記マイクによる音波の採取時における特徴とが一致しないと判定した場合、なりすましが行われたと判定する照合手段と、を備える。
【0008】
本開示の第3の態様によれば、認証方法は、コンピュータが、マイクが採取した音波のうち、前記マイクで採取可能な周波数範囲内で予め定められた周波数範囲内の音波を検出し、検出された音波の特徴と、前記予め定められた周波数範囲内で、時刻に応じて音波の特徴を変化させて出力された音波の、前記マイクによる音波の採取時における特徴とが一致しないと判定した場合、なりすましが行われたと判定する、ことを含む。
【0009】
本開示の第4の態様によれば、プログラムは、コンピュータに、マイクが採取した音波のうち、前記マイクで採取可能な周波数範囲内で予め定められた周波数範囲内の音波を検出することと、検出された音波の特徴と、前記予め定められた周波数範囲内で、時刻に応じて音波の特徴を変化させて出力された音波の、前記マイクによる音波の採取時における特徴とが一致しないと判定した場合、なりすましが行われたと判定することと、を実行させるプログラムである。
【発明の効果】
【0010】
本開示の一態様によれば、足音を用いて個人認証を行う際、なりすましの可能性を軽減することができる。
【図面の簡単な説明】
(【0011】以降は省略されています)
この特許をJ-PlatPat(特許庁公式サイト)で参照する
関連特許
日本電気株式会社
分析装置
4日前
日本電気株式会社
学習装置
1か月前
日本電気株式会社
学習装置
28日前
日本電気株式会社
原子発振器
1か月前
日本電気株式会社
超伝導量子回路
24日前
日本電気株式会社
マルチバンドバラン
22日前
日本電気株式会社
検知装置および検知方法
4日前
日本電気株式会社
量子回路装置と制御方法
4日前
日本電気株式会社
量子回路装置と制御方法
4日前
日本電気株式会社
移相器およびアンテナ装置
1か月前
日本電気株式会社
移相器およびアンテナ装置
1か月前
日本電気株式会社
移相器およびアンテナ装置
1か月前
日本電気株式会社
分析方法および分析システム
1日前
日本電気株式会社
端末装置および無線通信方法
15日前
日本電気株式会社
機器冷却装置及びその冷却方法
16日前
日本電気株式会社
TS合成装置および放送システム
1か月前
日本電気株式会社
処理装置、方法、及びプログラム
28日前
日本電気株式会社
共振器及びそれを備えた導波回路
2日前
日本電気株式会社
プログラム、算出装置、及び方法
16日前
日本電気株式会社
ケージ、光伝送装置及び挿抜方法
1か月前
日本電気株式会社
ピーク抑圧装置及びピーク抑圧方法
14日前
日本電気株式会社
システム及びマイグレーション方法
4日前
日本電気株式会社
リング共振器、およびその製造方法
1か月前
日本電気株式会社
推定装置、推定方法及びプログラム
7日前
日本電気株式会社
リング共振器、およびその製造方法
29日前
日本電気株式会社
推定装置、推定方法及びプログラム
7日前
日本電気株式会社
画像管理システムおよび画像管理方法
2日前
日本電気株式会社
処理装置、処理方法、及びプログラム
1か月前
日本電気株式会社
処理装置、処理方法、及びプログラム
1か月前
日本電気株式会社
処理装置、処理方法、及びプログラム
4日前
日本電気株式会社
推定装置、推定方法、及び、記録媒体
1日前
日本電気株式会社
管理システム、管理方法及びプログラム
14日前
日本電気株式会社
予測システム、予測方法及びプログラム
7日前
日本電気株式会社
判定装置、判定方法、及び、プログラム
24日前
日本電気株式会社
通信システム及びパケット順序補正方法
15日前
日本電気株式会社
通信装置、通信方法及び通信プログラム
1日前
続きを見る
他の特許を見る