TOP
|
特許
|
意匠
|
商標
特許ウォッチ
Twitter
他の特許を見る
公開番号
2025141150
公報種別
公開特許公報(A)
公開日
2025-09-29
出願番号
2024040944
出願日
2024-03-15
発明の名称
細胞剥離システムおよび細胞剥離方法
出願人
キヤノン株式会社
代理人
個人
,
個人
,
個人
,
個人
,
個人
主分類
C12M
3/00 20060101AFI20250919BHJP(生化学;ビール;酒精;ぶどう酒;酢;微生物学;酵素学;突然変異または遺伝子工学)
要約
【課題】 細胞シート培養物の破損を低減しながら、効率的に細胞シート培養物を剥離させる細胞剥離システムを提供する。
【解決手段】 培養容器に接着した細胞シート培養物を前記培養容器から剥離する細胞剥離システムであって、前記細胞シート培養物の剥離を開始させる剥離開始手段、前記細胞シート培養物の剥離の開始後に、前記細胞シート培養物の剥離の進行方向に関する情報を取得する情報取得手段、前記培養容器を振とうする振とう手段、及び、前記進行方向に関する情報に基づいて、前記進行方向と前記振とうの方向とを略平行に設定する設定手段を備えることを特徴とする。
【選択図】 図1
特許請求の範囲
【請求項1】
培養容器に接着した細胞シートを前記培養容器から剥離する細胞剥離システムであって、
前記細胞シートの剥離を開始させる剥離開始手段、
前記細胞シートの剥離の開始後に、前記細胞シートの剥離の進行方向に関する情報を取得する情報取得手段、
前記培養容器を振とうする振とう手段、及び、
前記進行方向に関する情報に基づいて、前記進行方向と前記振とうの方向とを略平行に設定する設定手段を備えることを特徴とする細胞剥離システム。
続きを表示(約 860 文字)
【請求項2】
前記剥離開始手段は、前記培養容器を叩打する叩打手段を含むことを特徴とする請求項1に記載の細胞剥離システム。
【請求項3】
前記設定手段は、前記進行方向に関する情報に基づいて前記叩打の方向を設定し、
前記叩打手段は、前記設定された前記叩打の方向に基づいて前記培養容器を叩打することを特徴とする請求項2に記載の細胞剥離システム。
【請求項4】
前記剥離開始手段は、液体の吐出によって水流を前記細胞シートに接触させる液体吐出手段を含むことを特徴とする請求項1に記載の細胞剥離システム。
【請求項5】
前記設定手段は、前記進行方向に関する情報に基づいて前記振とうの方向を設定し、
前記振とう手段は、前記設定された前記振とうの方向に基づいて前記培養容器を振とうすることを特徴とする請求項1に記載の細胞剥離システム。
【請求項6】
前記設定手段は、前記進行方向に関する情報に基づいて前記振とうの方向を設定し、
前記設定された前記振とうの方向に基づいて前記培養容器の向きを変更する変更手段をさらに有することを特徴とする請求項1に記載の細胞剥離システム。
【請求項7】
前記情報取得手段は、前記細胞シートの観察結果を取得することを特徴とする請求項1に記載の細胞剥離システム。
【請求項8】
前記情報取得手段は、前記培養容器に関する情報および前記進行方向に関する情報を含み構成されるデータベースを参照することを特徴とする請求項1に記載の細胞剥離システム。
【請求項9】
前記剥離開始手段は、前記培養容器に超音波帯域の振動を付与することを特徴とする請求項1に記載の細胞剥離システム。
【請求項10】
前記培養容器に超音波帯域の振動を付与する超音波発生手段をさらに有することを特徴とする請求項1に記載の細胞剥離システム。
(【請求項11】以降は省略されています)
発明の詳細な説明
【技術分野】
【0001】
本発明は、細胞剥離システムおよび細胞剥離方法に関する。
続きを表示(約 2,000 文字)
【背景技術】
【0002】
近年、再生医療・細胞医療の分野において、損傷した組織等の修復のために、細胞をシート状に培養し、シート状細胞培養物(細胞シート)を患部に移植する試みが行われている。接着性細胞を用いて細胞シートを製造する場合、例えば、培養基材の一例であるポリスチレンディッシュ上で細胞をシート状に培養し、培養基材からシート状のまま剥離、回収を行う。細胞シートの皺や破れ、穴開きなどの破損を低減しながら、効率的かつ安定的に細胞シートを製造できる製造方法の検討がなされている。
【0003】
特許文献1には、培養細胞が接着した培養容器を取り付けるための容器ホルダと、容器ホルダの往復移動を案内する案内機構を有し、非衝突部材に容器ホルダを衝突させる細胞剥離装置が開示されている。
【先行技術文献】
【特許文献】
【0004】
特開2014-113133号公報
【発明の概要】
【発明が解決しようとする課題】
【0005】
ここで、液体を保持し細胞シートが接着した培養容器から細胞シートを剥離させる際に、培養容器を往復移動させる方向と、培養容器に衝撃を与える方向とが同じ向きである場合、細胞シートが破損しやすくなることがあった。また、細胞シートの剥離をより短時間で効率的に行うための条件にした場合に、細胞シートが破損しやすくなることがあった。
【0006】
したがって、本発明の目的は、細胞シートの破損を低減しながら、効率的に細胞シートを剥離させる細胞剥離システムを提供することにある。また、本発明の別の目的は、細胞シートの破損を低減しながら、効率的に細胞シートを剥離させる細胞剥離方法を提供することにある。
【課題を解決するための手段】
【0007】
上記の目的は以下の本発明によって達成される。すなわち、本発明によれば、培養容器に接着した細胞シートを前記培養容器から剥離する細胞剥離システムであって、前記細胞シートの剥離を開始させる剥離開始手段、前記細胞シートの剥離の開始後に、前記細胞シートの剥離の進行方向に関する情報を取得する情報取得手段、前記培養容器を振とうする振とう手段、及び、前記進行方向に関する情報に基づいて、前記進行方向と前記振とうの方向とを略平行に設定する設定手段を備えることを特徴とする細胞剥離システムが提供される。
【0008】
また、本発明によれば、細胞剥離システムを用いて、培養容器に接着した細胞シートを前記培養容器から剥離する細胞剥離方法であって、前記細胞シートの剥離を開始させる剥離開始工程、前記細胞シートの剥離の開始後に、前記細胞シートの剥離の進行方向に関する情報を取得する情報取得工程、前記培養容器を振とうする振とう工程、および、前記進行方向に関する情報に基づいて、前記進行方向と前記振とうの方向とを略平行に設定する設定工程を含むことを特徴とする細胞剥離方法が提供される。
【発明の効果】
【0009】
本発明によれば、細胞シートの破損を低減しながら、効率的に細胞シートを剥離させる細胞剥離システムを提供することができる。また、本発明によれば、細胞シートの破損を低減しながら、効率的に細胞シートを剥離させる細胞剥離方法を提供することができる。
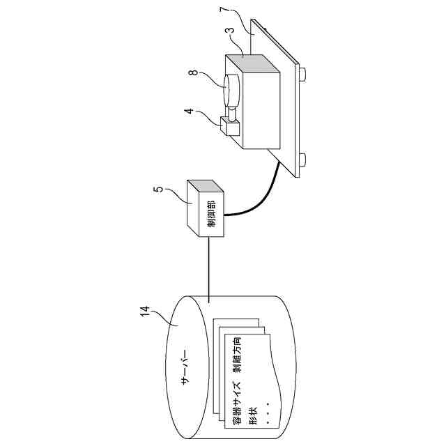
【図面の簡単な説明】
【0010】
第1の実施形態に係る細胞剥離システムを示す概略図である。
第1の実施形態における叩打手段を示す断面図である。
第1の実施形態における局所的な水流を発生させる構成を示す概略図である。
第1の実施形態における超音波振動の付与による剥離開始を行う構成を示す概略図である。
第1の実施形態における細胞シートの剥離状態を示す概略図である。
第1の実施形態におけるデータベースの参照による剥離の進行方向に関する情報取得を行う構成の概略図である。
第1の実施形態における1軸の振とう機構を示す概略図である。
第1の実施形態における2軸の振とう機構を示した概略図である。
第1の実施形態における叩打の方向を変更する機構を示す概略図である。
第1の実施形態における培養容器を回転させる機構を示した概略図である。
第1の実施形態における方向変更を含まない処理の概略を示すフローチャートである。
第1の実施形態における方向変更を含む処理の概略を示すフローチャートである。
第1の実施形態における縦振動を与える機構を示す断面図である。
【発明を実施するための形態】
(【0011】以降は省略されています)
この特許をJ-PlatPat(特許庁公式サイト)で参照する
関連特許
キヤノン株式会社
トナー
1か月前
キヤノン株式会社
トナー
2日前
キヤノン株式会社
記録装置
18日前
キヤノン株式会社
撮像装置
1か月前
キヤノン株式会社
定着装置
10日前
キヤノン株式会社
定着装置
16日前
キヤノン株式会社
収容装置
10日前
キヤノン株式会社
電子機器
10日前
キヤノン株式会社
電子機器
25日前
キヤノン株式会社
電子機器
4日前
キヤノン株式会社
光学装置
1か月前
キヤノン株式会社
撮像装置
27日前
キヤノン株式会社
電子機器
1か月前
キヤノン株式会社
表示装置
9日前
キヤノン株式会社
発光装置
9日前
キヤノン株式会社
電子機器
10日前
キヤノン株式会社
定着装置
25日前
キヤノン株式会社
定着装置
25日前
キヤノン株式会社
定着装置
25日前
キヤノン株式会社
電子機器
6日前
キヤノン株式会社
撮像装置
2日前
キヤノン株式会社
撮像装置
10日前
キヤノン株式会社
撮像装置
18日前
キヤノン株式会社
電子機器
27日前
キヤノン株式会社
電子機器
1か月前
キヤノン株式会社
記録装置
2日前
キヤノン株式会社
撮像装置
17日前
キヤノン株式会社
電子機器
18日前
キヤノン株式会社
現像装置
1か月前
キヤノン株式会社
記録装置
17日前
キヤノン株式会社
撮像装置
16日前
キヤノン株式会社
半導体装置
4日前
キヤノン株式会社
現像剤容器
3日前
キヤノン株式会社
画像形成装置
6日前
キヤノン株式会社
画像形成装置
27日前
キヤノン株式会社
画像形成装置
27日前
続きを見る
他の特許を見る