TOP
|
特許
|
意匠
|
商標
特許ウォッチ
Twitter
他の特許を見る
10個以上の画像は省略されています。
公開番号
2025140252
公報種別
公開特許公報(A)
公開日
2025-09-29
出願番号
2024039526
出願日
2024-03-14
発明の名称
後処理装置、及び、画像形成システム
出願人
株式会社リコー
代理人
個人
主分類
B65H
37/04 20060101AFI20250919BHJP(運搬;包装;貯蔵;薄板状または線条材料の取扱い)
要約
【課題】綴じ装置を駆動する駆動モータの状態を精度良く把握する。
【解決手段】駆動モータ110を駆動することでシート束PTに対して綴じ処理をおこなう綴じ装置90が設けられている。綴じ処理がおこなわれるときの駆動モータ110の電流と電圧と回転数とのうち少なくとも電流のデータを取得する電流検知部111(モータ情報取得手段)と、綴じ処理がおこなわれるシートPのサイズと厚さと種類と枚数と綴じ位置と綴じ回数とのうち少なくとも1つを取得する操作表示パネル49(綴じ処理情報取得手段)と、が設けられている。綴じ処理がおこなわれたときに電流検知部111(モータ情報取得手段)と操作表示パネル49(綴じ処理情報取得手段)とでそれぞれ取得した情報を組み合わせて得た学習データに基づいて、駆動モータ110の基準電流データを推定する制御部100(電流データ推定手段)が設けられている。
【選択図】図2
特許請求の範囲
【請求項1】
駆動モータを駆動することで、複数枚のシートからなるシート束に対して綴じ処理をおこなう綴じ装置と、
綴じ処理がおこなわれるときの前記駆動モータの電流と電圧と回転数とのうち少なくとも電流のデータを取得するモータ情報取得手段と、
綴じ処理がおこなわれるシートのサイズと厚さと種類と枚数と綴じ位置と綴じ回数とのうち少なくとも1つを取得する綴じ処理情報取得手段と、
綴じ処理がおこなわれたときに前記モータ情報取得手段と前記綴じ処理情報取得手段とでそれぞれ取得した情報を組み合わせて得た学習データに基づいて、前記駆動モータの基準電流データを推定する電流データ推定手段と、
を備えたことを特徴とする後処理装置。
続きを表示(約 820 文字)
【請求項2】
綴じ処理がおこなわれるときに前記モータ情報取得手段で取得した電流データと、前記電流データ推定手段で推定された前記基準電流データと、を比較して、前記駆動モータが正常であるか否かを判別するとともに、前記駆動モータの寿命を推定するモータ状態判別・推定手段を備えたことを特徴とする請求項1に記載の後処理装置。
【請求項3】
前記モータ状態判別・推定手段は、前記モータ状態判別・推定手段によって推定された前記駆動モータの寿命に基づいて、前記駆動モータの故障時期を予測し、
前記モータ状態判別・推定手段によって予測された前記駆動モータの故障時期がくる前に、前記駆動モータの交換を促す報知をおこなうことを特徴とする請求項2に記載の後処理装置。
【請求項4】
綴じ処理がおこなわれたときの周囲の温湿度情報を取得する温湿度取得手段を備え、
前記モータ状態判別・推定手段は、前記温湿度取得手段で取得した情報から得た教師データに基づいて、前記駆動モータの故障原因を推定することを特徴とする請求項3に記載の後処理装置。
【請求項5】
前記モータ状態判別・推定手段は、綴じ処理がおこなわれるときに前記モータ情報取得手段で取得した前記駆動モータの電流と電圧とから推定される電力効率を加味して前記駆動モータの故障時期を予測することを特徴とする請求項3又は請求項4に記載の後処理装置。
【請求項6】
シートに画像を形成する画像形成装置と、前記画像形成装置によって画像が形成されたシートに対して綴じ処理を施す請求項1又は請求項2に記載の後処理装置と、を備えたことを特徴とする画像形成システム。
【請求項7】
前記綴じ処理情報取得手段で取得する情報は、前記画像形成装置に入力された印刷情報に基づくものであることを特徴とする請求項6に記載の画像形成システム。
発明の詳細な説明
【技術分野】
【0001】
この発明は、シートに対して後処理として綴じ処理を施す後処理装置と、複写機、プリンタ、ファクシミリ、又は、それらの複合機や印刷機などの画像形成装置を備えた画像形成システムと、に関するものである。
続きを表示(約 2,200 文字)
【背景技術】
【0002】
従来から、複写機やプリンタ等の画像形成装置に接続された後処理装置において、複数枚のシートからなるシート束に対して綴じ処理を施すものが知られている(例えば、特許文献1参照。)。
【0003】
一方、特許文献1には、ステイプラ(綴じ装置)の不具合を解析するため、貫通部とクリンチ部とを駆動するモータの電流を検出する技術が開示されている。
【発明の概要】
【発明が解決しようとする課題】
【0004】
従来の技術は、綴じ装置を駆動する駆動モータの状態を精度良く把握することができなかったため、駆動モータの故障が生じてから事後的に修理をすることが多かった。そのため、綴じ装置にシートが噛み込んだ状態などになり修理の難易度が上がってしまったり、装置のダウンタイムが長くなってしまったり、していた。
【0005】
この発明は、上述のような課題を解決するためになされたもので、綴じ装置を駆動する駆動モータの状態を精度良く把握することができる、後処理装置、及び、画像形成システムを提供することにある。
【課題を解決するための手段】
【0006】
この発明における後処理装置は、駆動モータを駆動することで、複数枚のシートからなるシート束に対して綴じ処理をおこなう綴じ装置と、綴じ処理がおこなわれるときの前記駆動モータの電流と電圧と回転数とのうち少なくとも電流のデータを取得するモータ情報取得手段と、綴じ処理がおこなわれるシートのサイズと厚さと種類と枚数と綴じ位置と綴じ回数とのうち少なくとも1つを取得する綴じ処理情報取得手段と、綴じ処理がおこなわれたときに前記モータ情報取得手段と前記綴じ処理情報取得手段とでそれぞれ取得した情報を組み合わせて得た学習データに基づいて、前記駆動モータの基準電流データを推定する電流データ推定手段と、を備えたものである。
【発明の効果】
【0007】
本発明によれば、綴じ装置を駆動する駆動モータの状態を精度良く把握することができる、後処理装置、及び、画像形成システムを提供することができる。
【図面の簡単な説明】
【0008】
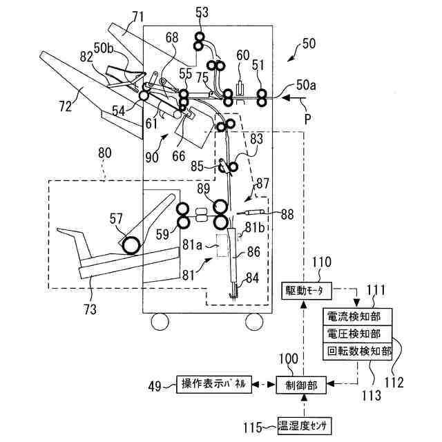
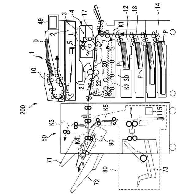
この発明の実施の形態における画像形成システムを示す全体構成図である。
後処理装置を示す構成図である。
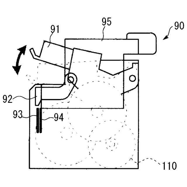
綴じ装置を示す構成図である。
綴じ処理がおこなわれるときに実施される前処理を示すフロー図である。
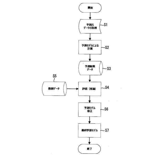
綴じ処理がおこなわれるときの学習モデルの生成ステップを示すフロー図である。
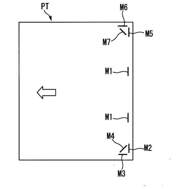
シート束に対する綴じ位置を示す図である。
シート情報と綴じ処理情報と駆動モータの基準電流データとの組み合わせの一例を示す表図である。
綴じ装置でおこなわれる制御の一例を示すフローチャートである。
駆動モータの電流と負荷トルクと回転数との関係を示すグラフである。
変形例としての、綴じ装置でおこなわれる制御の一例を示すフローチャートである。
図10の綴じ装置において、温湿度情報を含めて故障予測をおこなうときに用いられるデータの組み合わせの一例を示す表図である。
【発明を実施するための形態】
【0009】
以下、この発明を実施するための形態について、図面を参照して詳細に説明する。なお、各図中、同一又は相当する部分には同一の符号を付しており、その重複説明は適宜に簡略化ないし省略する。
【0010】
まず、図1にて、画像形成システム200の全体の構成・動作について説明する。
本実施の形態において、画像形成装置1は、後処理装置50が着脱可能に設置されていて、後処理装置50とともに1つの画像形成システム200を構成している。
図1において、1は複写機として機能する画像形成装置、2は原稿Dの画像情報を光学的に読み込む原稿読込部、3は原稿読込部2で読み込んだ画像情報に基づいた露光光Lを感光体ドラム5上に照射する露光部、を示す。
また、4は感光体ドラム5上にトナー像(画像)を形成する作像部、7は感光体ドラム5上に形成されたトナー像をシートPに転写する転写部(画像形成部)、10はセットされた原稿Dを原稿読込部2に搬送する原稿搬送部、を示す。
また、12~14は用紙等のシートPが収納された給送部、17は転写部7に向けてシートPを搬送するレジストローラ対(タイミングローラ対)、を示す。
また、20はシートP上の未定着画像を定着する定着装置、21は定着装置20に設置された定着ローラ、22は定着装置20に設置された加圧ローラ、を示す。
また、30はオモテ面に画像が形成された後のシートPを反転して画像形成部に向けて搬送する両面搬送部、49は印刷動作(画像形成動作)や後処理動作に関わる情報が表示されたり操作をおこなったりするための操作表示パネル、を示す。
また、50は画像形成装置1から排出されて搬入されたシートPに後処理を施す後処理装置、71~73は後処理後のシートP(又は、シート束)が積載される排出トレイ、80は後処理装置50に設置された製本処理装置、90は後処理装置50に設置された綴じ装置、111は後処理装置50の周囲環境(温湿度)を検知する温湿度センサ、を示す。
(【0011】以降は省略されています)
この特許をJ-PlatPat(特許庁公式サイト)で参照する
関連特許
株式会社リコー
綴じ装置
1か月前
株式会社リコー
画像形成装置
22日前
株式会社リコー
画像形成装置
3日前
株式会社リコー
感熱記録媒体
今日
株式会社リコー
映像表示装置
24日前
株式会社リコー
画像形成装置
21日前
株式会社リコー
印刷システム
3日前
株式会社リコー
画像形成装置
1か月前
株式会社リコー
画像形成装置
14日前
株式会社リコー
画像形成装置
1か月前
株式会社リコー
画像形成装置
3日前
株式会社リコー
液体吐出装置
1か月前
株式会社リコー
画像形成装置
3日前
株式会社リコー
液体塗布装置
7日前
株式会社リコー
画像形成装置
6日前
株式会社リコー
履帯式走行体
1か月前
株式会社リコー
画像投射システム
14日前
株式会社リコー
投薬管理システム
22日前
株式会社リコー
情報処理システム
24日前
株式会社リコー
拡張アンテナ装置
6日前
株式会社リコー
印刷応答補償機構
7日前
株式会社リコー
生体情報測定装置
今日
株式会社リコー
液体を吐出する装置
今日
株式会社リコー
マーキングシステム
6日前
株式会社リコー
電極及びその製造方法
1日前
株式会社リコー
電極及びその製造方法
3日前
株式会社リコー
測定装置および測定方法
23日前
株式会社リコー
多孔質構造体の製造方法
3日前
株式会社リコー
測定装置および測定方法
23日前
株式会社リコー
測定装置および測定方法
23日前
株式会社リコー
定着装置及び画像形成装置
7日前
株式会社リコー
定着装置及び画像形成装置
13日前
株式会社リコー
給送装置及び画像形成装置
1か月前
株式会社リコー
樹脂粒子およびその製造方法
22日前
株式会社リコー
塗装システム、及び塗装方法
3日前
株式会社リコー
センサ素子及びセンサアレイ
13日前
続きを見る
他の特許を見る