TOP
|
特許
|
意匠
|
商標
特許ウォッチ
Twitter
他の特許を見る
10個以上の画像は省略されています。
公開番号
2025139899
公報種別
公開特許公報(A)
公開日
2025-09-29
出願番号
2024038983
出願日
2024-03-13
発明の名称
認証システム、認証方法、認証装置、及びプログラム
出願人
日本電気株式会社
代理人
個人
主分類
G06F
21/44 20130101AFI20250919BHJP(計算;計数)
要約
【課題】端末の真正性を精度よく検証できる認証システム、認証方法、認証装置、及びプログラムを提供すること。
【解決手段】本開示に係る認証システムは、端末自身の識別子情報に基づいて生成されたデバイス証明書と、端末自身のハードウェア構成情報とデバイス証明書とに基づいて生成されたプラットフォーム証明書とを保管する記憶部を備えた端末と、デバイス証明書及びプラットフォーム証明書のそれぞれの正当性を検証する検証システムと、を備えるものである。
【選択図】図1
特許請求の範囲
【請求項1】
端末自身の識別子情報に基づいて生成されたデバイス証明書と、端末自身のハードウェア構成情報と前記デバイス証明書とに基づいて生成されたプラットフォーム証明書とを保管する記憶部を備えた端末と、
前記デバイス証明書及び前記プラットフォーム証明書のそれぞれの正当性を検証する検証システムと、を備える、
認証システム。
続きを表示(約 1,500 文字)
【請求項2】
前記記憶部は、前記記憶部の製造元が生成した記憶部証明書を保管し、
前記デバイス証明書は、前記記憶部証明書と前記識別子情報とに基づいて生成される、
請求項1に記載の認証システム。
【請求項3】
前記記憶部は、該記憶部が生成した記憶部秘密鍵を保管し、
前記デバイス証明書は、前記記憶部秘密鍵と前記識別子情報とに基づいて生成される、
請求項1に記載の認証システム。
【請求項4】
前記端末の生産時において、前記デバイス証明書と前記プラットフォーム証明書とを生成し、生成した前記デバイス証明書及び前記プラットフォーム証明書を前記端末へ送信する生産システムをさらに備える、
請求項2又は3に記載の認証システム。
【請求項5】
前記端末の前記識別子情報及び前記ハードウェア構成情報を保管するデータベースをさらに備える、
請求項4に記載の認証システム。
【請求項6】
前記検証システムは、
前記検証システムに接続された端末の記憶部に保管されたデバイス証明書と前記データベースに保管された前記識別子情報とを比較 することにより、前記デバイス証明書の正当性を検証し、
前記検証システムに接続された端末の記憶部に保管されたプラットフォーム証明書と前記データベースに保管された前記ハードウェア構成情報とを比較 することにより、前記プラットフォーム証明書の正当性を検証する、
請求項5に記載の認証システム。
【請求項7】
前記データベースは、生産システムから受信した、前記端末の生産時における前記端末のソフトウェア構成情報を保管し、
前記検証システムは、前記検証システムに接続された端末のソフトウェア構成情報と、前記データベースに保管されたソフトウェア構成情報とを比較することにより、前記端末のソフトウェア構成情報の正当性をさらに検証する、
請求項6に記載の認証システム。
【請求項8】
業務システムをさらに備え、
前記検証システムは、前記デバイス証明書と前記プラットフォーム証明書と前記ソフトウェア構成情報とのそれぞれの正当性が認められた場合に、前記端末が前記業務システムを利用するのを認証する、
請求項7に記載の認証システム。
【請求項9】
前記記憶部は耐タンパ性を有するセキュリティチップである、
請求項8に記載の認証システム。
【請求項10】
生産システムによりデバイス証明書とプラットフォーム証明書とを生成するステップと、
前記デバイス証明書と前記プラットフォーム証明書とを端末に備えられた記憶部に保管するステップと、
前記記憶部に保管された前記デバイス証明書とデータベースへ保管された識別子情報とを比較することにより、前記デバイス証明書の正当性を検証するステップと、
前記デバイス証明書の正当性が検証できた後に、前記記憶部に保管された前記プラットフォーム証明書と前記データベースへ保管されたハードウェア構成情報とを比較することにより、前記プラットフォーム証明書の正当性を検証するステップと、を備えた、
認証方法であって、
前記デバイス証明書は、前記端末の前記識別子情報に基づいて生成され、
前記プラットフォーム証明書は、前記デバイス証明書と前記端末のハードウェア構成情報とに基づいて生成される、
認証方法。
(【請求項11】以降は省略されています)
発明の詳細な説明
【技術分野】
【0001】
本開示は、認証システム、認証方法、認証装置、及びプログラムに関する。
続きを表示(約 2,300 文字)
【背景技術】
【0002】
生産や、出荷、物流などのサプライチェーンにおける、端末に搭載されたハードウェアやソフトウェアのすり替えや、バックドアの設置など、セキュリティリスクが高まっている。そのため、調達した端末を初めて使用する際に、端末の真正性を検証する必要がある。例えば、端末の識別子と電子証明書とを用いたデバイス認証により、端末の真正性を検証するシステムが特許文献1により提案されている。
【先行技術文献】
【特許文献】
【0003】
特開2020-113928号公報
【発明の概要】
【発明が解決しようとする課題】
【0004】
しかしながら、特許文献1が開示する検証システムでは、端末の識別子の真正性は検証できても、端末に搭載されたハードウェアやソフトウェアの構成情報の真正性は検証できない。例えば、端末に対して、バックドアを仕込まれたPCI Expressなどの拡張ボードの置き換えが行われた場合でも、端末が保管する電子証明書が正しい状態のままであれば、正常な端末と判断して認証が実行されてしまう課題があった。したがって、端末の識別子の真正性だけではなく、端末に搭載されたハードウェアやソフトウェアの構成情報の真正性も検証する必要がある。
【課題を解決するための手段】
【0005】
本開示に係る認証システムは、端末自身の識別子情報に基づいて生成されたデバイス証明書と、端末自身のハードウェア構成情報と前記デバイス証明書とに基づいて生成されたプラットフォーム証明書とを保管する記憶部を備えた端末と、前記デバイス証明書及び前記プラットフォーム証明書のそれぞれの正当性を検証する検証システムと、を備えるものである。
【0006】
本開示に係る認証方法は、生産システムによりデバイス証明書とプラットフォーム証明書とを生成するステップと、前記デバイス証明書と前記プラットフォーム証明書とを端末に備えられた記憶部に保管するステップと、前記記憶部に保管された前記デバイス証明書とデータベースへ保管された識別子情報とを比較することにより、前記デバイス証明書の正当性を検証するステップと、前記デバイス証明書の正当性が検証できた後に、前記記憶部に保管された前記プラットフォーム証明書と前記データベースへ保管されたハードウェア構成情報とを比較することにより、前記プラットフォーム証明書の正当性を検証するステップと、を備えた、認証方法であって、前記デバイス証明書は、前記端末の前記識別子情報に基づいて生成され、前記プラットフォーム証明書は、前記デバイス証明書と前記端末のハードウェア構成情報とに基づいて生成されるものである。
【0007】
本開示に係る認証装置は、接続された端末が備える記憶部に保管されている、前記端末の識別子情報に基づいて生成されたデバイス証明書の正当性を検証する手段と、前記記憶部に保管されている、前記デバイス証明書と前記端末のハードウェア構成情報とに基づいて生成されたプラットフォーム証明書の正当性を検証する手段と、を備えるものである。
【0008】
本開示に係るプログラムは、生産システムによりデバイス証明書とプラットフォーム証明書とを生成し、前記デバイス証明書と前記プラットフォーム証明書とを端末に備えられた記憶部に保管し、前記記憶部に保管された前記デバイス証明書とデータベースへ保管された識別子情報とを比較することにより、前記デバイス証明書の正当性を検証し、前記デバイス証明書の正当性が検証できた後に、前記記憶部に保管された前記プラットフォーム証明書と前記データベースへ保管されたハードウェア構成情報とを比較することにより、前記プラットフォーム証明書の正当性を検証することをコンピュータに実行させるプログラムであって、前記デバイス証明書は、前記端末の前記識別子情報に基づいて生成され、前記プラットフォーム証明書は、前記デバイス証明書と前記端末の前記ハードウェア構成情報とに基づいて生成されるものである。
【発明の効果】
【0009】
本開示により、端末の真正性を精度よく検証できる認証システム、認証方法、認証装置、及びプログラムを提供することができる。
【図面の簡単な説明】
【0010】
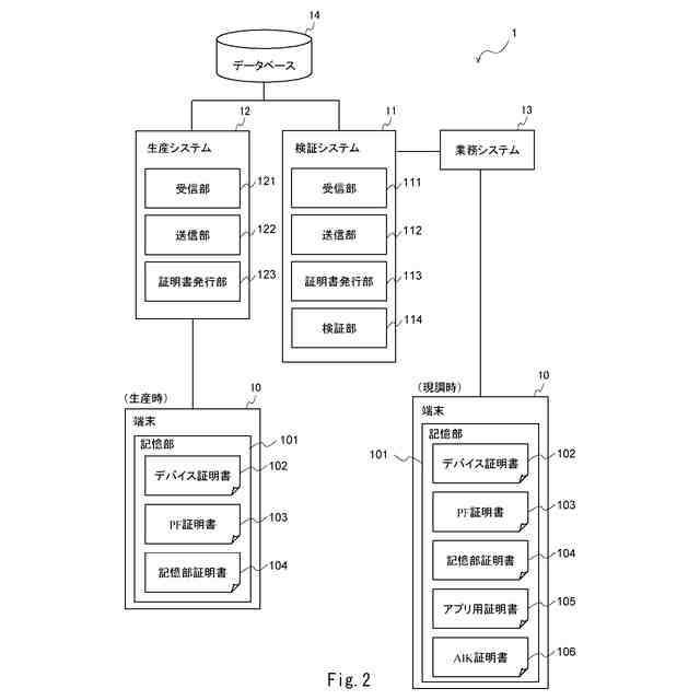
図1は、本開示に係る認証システムの一例を示すブロック図である。
図2は、本開示に係る認証システムの他の一例を示すブロック図である。
図3は、記憶部が保有する証明書の信頼チェーンの一例を示す説明図である。
図4は、本開示に係る端末の生産時における電子証明書の生成の一例を示すシーケンス図である。
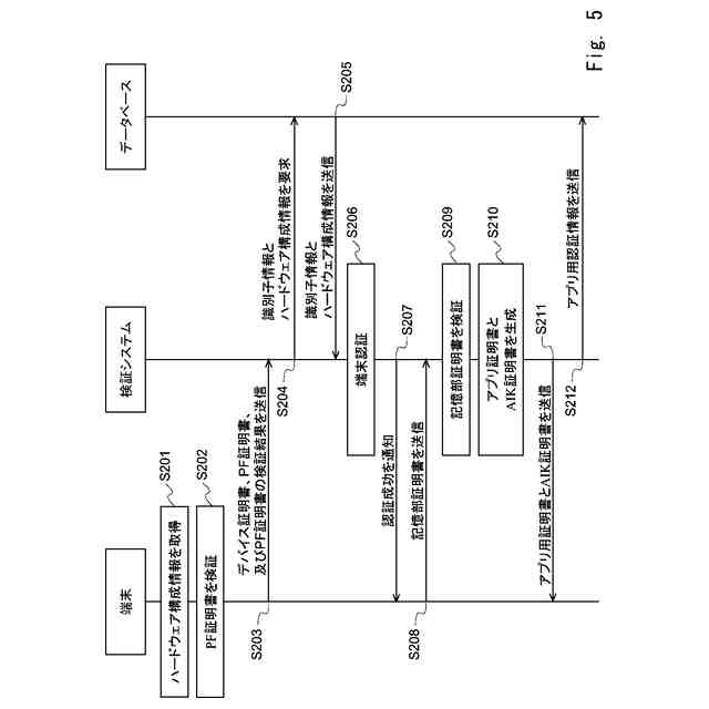
図5は、本開示に係る端末の現調時における端末認証の一例を示すシーケンス図である。
図6は、本開示に係る端末の現調時における構成チェック方法の一例を示すシーケンス図である。
図7は、本開示に係る認証システムの他の一例を示すブロック図である。
図8は、本開示に係る端末の生産時における電子証明書の生成の他の一例を示すシーケンス図である。
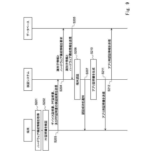
図9は、本開示に係る端末の現調時における端末認証の他の一例を示すシーケンス図である。
図10は、本開示に係る認証装置の認証機能を実現するハードウェア構成の一例を示すブロック図である。
【発明を実施するための形態】
(【0011】以降は省略されています)
この特許をJ-PlatPat(特許庁公式サイト)で参照する
関連特許
日本電気株式会社
学習装置
1か月前
日本電気株式会社
学習装置
1か月前
日本電気株式会社
分析装置
7日前
日本電気株式会社
原子発振器
1か月前
日本電気株式会社
超伝導量子回路
27日前
日本電気株式会社
マルチバンドバラン
25日前
日本電気株式会社
通信装置および通信方法
3日前
日本電気株式会社
検知装置および検知方法
7日前
日本電気株式会社
量子回路装置と制御方法
7日前
日本電気株式会社
送信装置および通信装置
3日前
日本電気株式会社
量子回路装置と制御方法
7日前
日本電気株式会社
端末装置および無線通信方法
18日前
日本電気株式会社
分析方法および分析システム
4日前
日本電気株式会社
機器冷却装置及びその冷却方法
19日前
日本電気株式会社
共振器及びそれを備えた導波回路
5日前
日本電気株式会社
処理装置、方法、及びプログラム
1か月前
日本電気株式会社
TS合成装置および放送システム
1か月前
日本電気株式会社
プログラム、算出装置、及び方法
19日前
日本電気株式会社
ピーク抑圧装置及びピーク抑圧方法
17日前
日本電気株式会社
リング共振器、およびその製造方法
1か月前
日本電気株式会社
推定装置、推定方法及びプログラム
10日前
日本電気株式会社
推定装置、推定方法及びプログラム
10日前
日本電気株式会社
リング共振器、およびその製造方法
1か月前
日本電気株式会社
システム及びマイグレーション方法
7日前
日本電気株式会社
処理装置、処理方法、及びプログラム
7日前
日本電気株式会社
画像管理システムおよび画像管理方法
5日前
日本電気株式会社
波長可変レーザ装置及びその構成方法
3日前
日本電気株式会社
推定装置、推定方法、及び、記録媒体
4日前
日本電気株式会社
予測システム、予測方法及びプログラム
10日前
日本電気株式会社
注文端末、注文受付方法及びプログラム
3日前
日本電気株式会社
判定装置、判定方法、及び、プログラム
27日前
日本電気株式会社
管理システム、管理方法及びプログラム
17日前
日本電気株式会社
通信装置、通信方法及び通信プログラム
4日前
日本電気株式会社
通信システム及びパケット順序補正方法
18日前
日本電気株式会社
映像処理装置、映像処理方法、プログラム
7日前
日本電気株式会社
画像選択装置、画像選択方法及び記憶媒体
5日前
続きを見る
他の特許を見る