TOP
|
特許
|
意匠
|
商標
特許ウォッチ
Twitter
他の特許を見る
公開番号
2025139558
公報種別
公開特許公報(A)
公開日
2025-09-26
出願番号
2025032873
出願日
2025-03-03
発明の名称
融解凝固センサ素子、及び、融解凝固センサ
出願人
三菱マテリアル株式会社
代理人
個人
,
個人
,
個人
,
個人
主分類
G01N
27/06 20060101AFI20250918BHJP(測定;試験)
要約
【課題】構造が簡単で、液体状態で導電性を有する対象物質における固体と液体の状態変化を精度良く検出することが可能な融解凝固センサ素子を提供する。
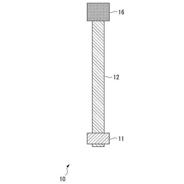
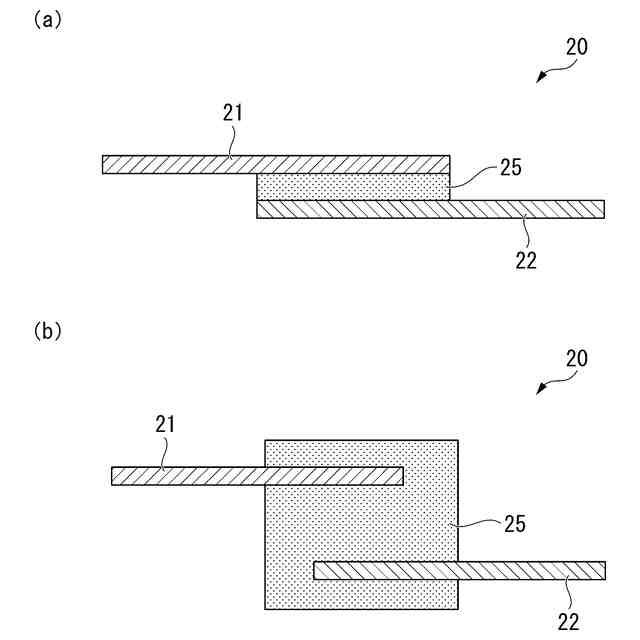
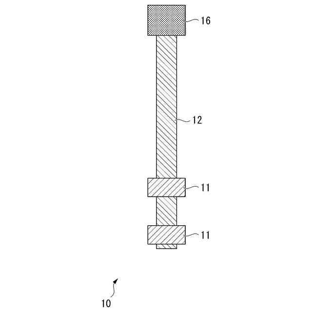
【解決手段】液体状態で導電性を有する対象物質における固体と液体の状態変化を検出する融解凝固センサ素子20であって、液体状態の前記対象物質が含侵されて保持される液体保持部25と、液体保持部25を介して配設された第1電極部21および第2電極部22と、を有し、第1電極部21と第2電極部22との間に生じる電気信号により、液体保持部25に保持された前記対象物質の固体と液体の状態変化を検出することを特徴とする。
【選択図】図1
特許請求の範囲
【請求項1】
液体状態で導電性を有する対象物質における固体と液体の状態変化を検出する融解凝固センサ素子であって、
液体状態の前記対象物質が含侵されて保持される液体保持部と、前記液体保持部を介して配設された第1電極部および第2電極部と、を有し、
前記第1電極部と前記第2電極部との間に生じる電気信号により、前記液体保持部に保持された前記対象物質の固体と液体の状態変化を検出することを特徴とする融解凝固センサ素子。
続きを表示(約 1,000 文字)
【請求項2】
前記第1電極部と前記第2電極部が同一の材質で構成されていることを特徴とする請求項1に記載の融解凝固センサ素子。
【請求項3】
前記第1電極部と前記第2電極部が互いに異なる金属材料で構成されていることを特徴とする請求項1に記載の融解凝固センサ素子。
【請求項4】
前記液体保持部が、紙、糸、不織布、布、吸水ポリマーのいずれか一種または二種以上で構成されていることを特徴とする請求項1に記載の融解凝固センサ素子。
【請求項5】
前記液体保持部が、前記第1電極部および前記第2電極部の間から外側にはみ出していることを特徴とする請求項1に記載の融解凝固センサ素子。
【請求項6】
液体状態で導電性を有する対象物質における固体と液体の状態変化を検出する融解凝固センサであって、
請求項1に記載の融解凝固センサ素子が配設されたセンサ部と、前記センサ部を支持する支持部材と、前記第1電極部と前記第2電極部との間に生じる電気信号から前記液体保持部に保持された前記対象物質の固体と液体の状態変化を判定する判定部と、を備えていることを特徴とする融解凝固センサ。
【請求項7】
液体状態で導電性を有する対象物質における固体と液体の状態変化を検出する融解凝固センサであって、
請求項3に記載の融解凝固センサ素子が複数配設されたセンサ部と、前記センサ部を支持する支持部材と、前記第1電極部と前記第2電極部との間に生じる電気信号から前記液体保持部に保持された前記対象物質の固体と液体の状態変化を判定する判定部と、を備えていることを特徴とする融解凝固センサ。
【請求項8】
前記判定部と前記センサ部とが同一の基板上に配設されていることを特徴とする請求項6又は請求項7に記載の融解凝固センサ。
【請求項9】
前記判定部は、前記第1電極部と前記第2電極部との間に生じる電気信号の変化から、前記対象物質の固体と液体の共存状況の変化を判定することを特徴とする請求項6又は請求項7に記載の融解凝固センサ。
【請求項10】
前記判定部は、前記対象物質の固体と液体の状態変化の判定結果に応じて警報信号を発信することを特徴とする請求項6又は請求項7に記載の融解凝固センサ。
発明の詳細な説明
【技術分野】
【0001】
この発明は、液体状態で導電性を有する対象物質における固体と液体の状態変化を検出する融解凝固センサ素子、および、融解凝固センサに関するものである。
続きを表示(約 1,900 文字)
【背景技術】
【0002】
山間部等の積雪地方においては、気温の上昇にともない、雪崩が発生することがある。積雪地方においては、雪崩の発生によって、鉄道や道路等の交通手段が遮断されてしまうことがあった。
さらに、雪崩によって電線等の送電設備、ガス管、水道管等のインフラ設備が破壊され、生活環境が大きく影響を受けることがあった。
【0003】
ここで、雪崩の発生原因として、気温上昇による融雪や降雨によって積雪層の中に帯水層が形成され、積雪の強度が低下することが挙げられる。
なお、構造物の屋根からの落雪においても、同様に、積雪層の中に帯水層が形成されることによって発生することになる。
また、積雪した表面の雪が融解と再凍結を繰り返すことで、結晶が大きなザラメ雪となり、その上に新雪が積もることでザラメ雪との界面に雪崩の起点となる弱層が発生することが挙げられる。
【0004】
雪崩や落雪の発生の兆候を早期に検知するには、積雪層の表面を含む任意の深さの融雪や、積雪層の中での帯水層の形成を検出することが有効である。すなわち、積雪層の表面および層中で、雪(固体)が水(液体)に状態変化することを検出すればよい。
なお、例えば冷凍品等の温度管理が必要な製品を管理、運搬する際に、冷凍品が溶解しない温度管理を行う必要がある。ここで、氷(固体)が水(液体)に状態変化を検出することにより、温度管理を行うことが可能となる。
【0005】
ここで、例えば、特許文献1-3においては、一対の電極の間に水分が存在した際の電気抵抗の低下によって水分の発生(降雨、降雪)の有無を検知するセンサが提案されている。
また、特許文献4,5においては、収容した液体を凝固させておき、この凝固した液体が溶融した際に色が変化するように構成することにより、目視によって温度を検出する手段が提案されている。
【先行技術文献】
【特許文献】
【0006】
特開平07-020074号公報
特開2000-284065号公報
特開2004-028617号公報
特開2003-232687号公報
特開2015-165212号公報
【発明の概要】
【発明が解決しようとする課題】
【0007】
ところで、最近では、情報通信技術(インターネット)を活用して、無人で雪崩や落雪の検知、温度管理を行うことが試行されている。
ここで、特許文献1-3に開示されたセンサにおいては、一対の電極間に水分が存在しないと検知できないため、帯水層の形成を精度良く検出することができないおそれがあった。
また、特許文献4,5においては、色の変化を確認する必要があり、遠隔で検出することは困難であった。
【0008】
この発明は、前述した事情に鑑みてなされたものであって、構造が簡単で、液体状態で導電性を有する対象物質における固体と液体の状態変化を精度良く検出することが可能な融解凝固センサ素子、および、融解凝固センサを提供することを目的とする。
【課題を解決するための手段】
【0009】
上記課題を解決するために、本発明の態様1の融解凝固センサ素子は、液体状態で導電性を有する対象物質における固体と液体の状態変化を検出する融解凝固センサ素子であって、液体状態の前記対象物質が含侵されて保持される液体保持部と、前記液体保持部を介して配設された第1電極部および第2電極部と、を有し、前記第1電極部と前記第2電極部との間に生じる電気信号により、前記液体保持部に保持された前記対象物質の固体と液体の状態変化を検出することを特徴としている。
【0010】
本発明の態様1の融解凝固センサ素子によれば、液体状態の前記対象物質が含侵されて保持される液体保持部を有しているので、第1電極部と第2電極部との間に確実に前記対象物質を配設することができる。
そして、第1電極部と第2電極部との間に配設された前記対象物質が固体から液体への状態変化(融解)、または、液体から固体への状態変化(凝固)した際には、前記第1電極部と前記第2電極部との間に電気信号が生じることから、この電気信号を検知することで、第1電極部と第2電極部との間に配設された前記対象物質の融解および凝固を精度良く、かつ、確実に検出することが可能となる。
(【0011】以降は省略されています)
この特許をJ-PlatPat(特許庁公式サイト)で参照する
関連特許
個人
計量スプーン
26日前
個人
微小振動検出装置
1か月前
株式会社イシダ
X線検査装置
1か月前
日本精機株式会社
位置検出装置
4日前
日本精機株式会社
位置検出装置
4日前
日本精機株式会社
位置検出装置
4日前
大和製衡株式会社
組合せ秤
9日前
大和製衡株式会社
組合せ秤
9日前
アズビル株式会社
圧力センサ
3日前
ダイハツ工業株式会社
測定用具
1か月前
アンリツ株式会社
分光器
1か月前
トヨタ自動車株式会社
検査装置
6日前
アンリツ株式会社
分光器
1か月前
トヨタ自動車株式会社
表示装置
18日前
株式会社ユーシン
操作検出装置
6日前
エイブリック株式会社
磁気センサ回路
3日前
株式会社東芝
センサ
1か月前
株式会社東芝
センサ
9日前
株式会社東芝
センサ
9日前
TDK株式会社
ガスセンサ
3日前
株式会社ヨコオ
コンタクタ
1か月前
株式会社精工技研
光電圧プローブ
1か月前
個人
粘塑性を用いた有限要素法の定式化
18日前
TDK株式会社
磁気センサ
26日前
東レエンジニアリング株式会社
計量装置
6日前
株式会社ナリス化粧品
角層細胞採取用具
16日前
TDK株式会社
ガスセンサ
2日前
株式会社東芝
重量測定装置
2日前
TDK株式会社
磁気センサ
1か月前
富士電機株式会社
半導体パッケージ
26日前
大同特殊鋼株式会社
超音波探傷方法
26日前
個人
材料特性パラメータの算定方法
26日前
大陽日酸株式会社
液面センサ
1か月前
富士電機株式会社
エンコーダ
3日前
日本碍子株式会社
ガスセンサ
27日前
国立大学法人京都大学
バイオセンサ
1か月前
続きを見る
他の特許を見る