TOP
|
特許
|
意匠
|
商標
特許ウォッチ
Twitter
他の特許を見る
公開番号
2025137372
公報種別
公開特許公報(A)
公開日
2025-09-19
出願番号
2024201532
出願日
2024-11-19
発明の名称
保護部材形成装置および保護部材の形成方法
出願人
株式会社ディスコ
代理人
弁理士法人東京アルパ特許事務所
主分類
H01L
21/683 20060101AFI20250911BHJP(基本的電気素子)
要約
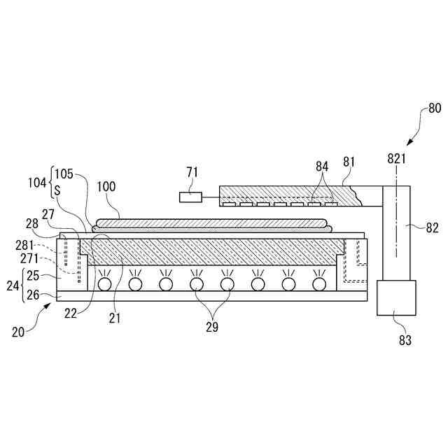
【課題】ガラスステージ上にウェーハが残っているか否かを良好に検知する。
【解決手段】ウェーハ保持パッドによってウェーハ100を保持することが困難となって連続加工が一時停止したときに、検知部71が、光量測定部80によって測定される光量を用いて、ガラステーブル21におけるウェーハ100の有無を検知する。これにより、ガラステーブル21におけるウェーハの有無を明確に検知することができる。したがって、たとえば、ウェーハ保持パッドによって保持することが困難なウェーハ100がガラステーブル21に残されているにも関わらず、連続加工が再開されて、このウェーハ100にシートSが重ねて配置され、さらにシートS上に液状樹脂が供給されて、ウェーハ100、シートSおよび液状樹脂が無駄になってしまうことを抑制することができる。
【選択図】図3
特許請求の範囲
【請求項1】
ウェーハの一方の面よりも広い面積のシートを載置するためのガラステーブルと、
該ガラステーブルの上方でウェーハを保持する保持テーブルと、
該ガラステーブルに載置された該シートに紫外線硬化型の液状樹脂を供給する液状樹脂供給部と、
該ガラステーブルと該保持テーブルとを相対的に接近させることによって、ウェーハの一方の面の全面に該液状樹脂を押し広げる昇降機構と、
該ガラステーブル側から該液状樹脂に紫外線を照射することによって、硬化された該液状樹脂からなる保護部材をウェーハの一方の面に形成するUV光源と、
該保護部材が形成されたウェーハを該ガラステーブルから搬送するウェーハ搬送機構と、を備える保護部材形成装置であって、
該UV光源から照射されて該ガラステーブルを透過する紫外線の光量を測定する光量測定部と、
該光量測定部によって測定された光量が所定の閾値以下であることによって、該ガラステーブルにウェーハがあることを検知する検知部と、
をさらに備える、保護部材形成装置。
続きを表示(約 500 文字)
【請求項2】
該検知部が該ガラステーブルにウェーハがあることを検知した場合に、該ガラステーブルにウェーハがあることを作業者に通知する通知部をさらに備える、
請求項1に記載の保護部材形成装置。
【請求項3】
請求項1記載の保護部材形成装置を用いた保護部材の形成方法であって、
ウェーハの一方の面に保護部材を形成する保護部材形成工程と、
該保護部材形成工程の停止中に実施される、該UV光源から照射されて該ガラステーブルを透過する紫外線の光量を該光量測定部によって測定し、測定された光量に基づいて該ガラステーブルにおけるウェーハの有無を該検知部によって検知するウェーハ検知工程と、を含み、
該ウェーハ検知工程において該検知部によって該ガラステーブルにウェーハが有ることが検知された場合に、該保護部材形成装置の通知部によって作業者にウェーハが有ることを通知する通知工程が実施される一方、
該ウェーハ検知工程において該検知部によって該ガラステーブルにウェーハが無いことが検知された場合に、該保護部材形成工程が実施される、
保護部材の形成方法。
発明の詳細な説明
【技術分野】
【0001】
本発明は、保護部材形成装置および保護部材の形成方法に関する。
続きを表示(約 1,400 文字)
【背景技術】
【0002】
特許文献1および2に開示のように、インゴットをスライスしてスライスウェーハを形成し、その両面を研削してウェーハを製造するウェーハの製造工程がある。この工程において、スライスウェーハの一方の面を研削する際に、他方の面に、液状樹脂を拡張および硬化させることによって保護部材を形成している。
【0003】
この保護部材を形成する保護部材形成装置では、ガラスステージの上にシートを配置し、そのシートの上に液状樹脂を供給して、その液状樹脂をウェーハで押し広げて硬化させることによって、ウェーハに保護部材を形成する。
【0004】
その後、保護部材が形成されたウェーハは、ウェーハ搬送機構によって吸引保持されて、ガラスステージからカットステージに搬送される。そして、カットステージ上で、ウェーハの外周に沿って円形にシートがカットされる。
【先行技術文献】
【特許文献】
【0005】
特開2010-155297号公報
特開2020-188230号公報
【発明の概要】
【発明が解決しようとする課題】
【0006】
上述した保護部材形成装置のウェーハ搬送機構は、例えば、ウェーハの反りやうねりが大きいために、ウェーハを吸引保持することが困難となり、ガラスステージからウェーハを搬出することが困難なことがある。
【0007】
このような状態のとき、ガラスステージからウェーハを取り除く旨のメッセージを、タッチパネルに表示して、作業者に通知している。
【0008】
しかし、作業者がウェーハを取り除くことなく、保護部材形成が続行されることがある。この場合、ガラスステージに残されているウェーハの上に、さらにシートが載置されることなどによって、ウェーハ、シートおよび液状樹脂が無駄になる可能性がある。
【0009】
したがって、本発明の目的は、ウェーハに保護部材を形成する際、ガラスステージ上にウェーハが残っているか否かを良好に検知することにある。
【課題を解決するための手段】
【0010】
本発明の保護部材形成装置(本保護部材形成装置)は、ウェーハの一方の面よりも広い面積のシートを載置するためのガラステーブルと、該ガラステーブルの上方でウェーハを保持する保持テーブルと、該ガラステーブルに載置された該シートに紫外線硬化型の液状樹脂を供給する液状樹脂供給部と、該ガラステーブルと該保持テーブルとを相対的に接近させることによって、ウェーハの一方の面の全面に該液状樹脂を押し広げる昇降機構と、該ガラステーブル側から該液状樹脂に紫外線を照射することによって、硬化された該液状樹脂からなる保護部材をウェーハの一方の面に形成するUV光源と、該保護部材が形成されたウェーハを該ガラステーブルから搬送するウェーハ搬送機構と、を備える保護部材形成装置であって、該UV光源から照射されて該ガラステーブルを透過する紫外線の光量を測定する光量測定部と、該光量測定部によって測定された光量が所定の閾値以下であることによって、該ガラステーブルにウェーハがあることを検知する検知部と、をさらに備える。
(【0011】以降は省略されています)
この特許をJ-PlatPat(特許庁公式サイト)で参照する
関連特許
東ソー株式会社
絶縁電線
今日
個人
フレキシブル電気化学素子
12日前
株式会社ユーシン
操作装置
12日前
日新イオン機器株式会社
イオン源
8日前
株式会社GSユアサ
蓄電設備
12日前
株式会社GSユアサ
蓄電設備
12日前
株式会社ホロン
冷陰極電子源
6日前
太陽誘電株式会社
コイル部品
12日前
ノリタケ株式会社
熱伝導シート
12日前
トヨタ自動車株式会社
蓄電装置
12日前
トヨタ自動車株式会社
冷却構造
今日
サクサ株式会社
電池の固定構造
12日前
日本特殊陶業株式会社
保持装置
1日前
古河電気工業株式会社
端子
12日前
住友電装株式会社
コネクタ
今日
ローム株式会社
半導体装置
今日
トヨタ自動車株式会社
電池パック
5日前
株式会社ダイヘン
搬送装置
12日前
トヨタ自動車株式会社
電池パック
5日前
株式会社トクヤマ
シリコンエッチング液
6日前
株式会社トクヤマ
シリコンエッチング液
6日前
ベストテック株式会社
装置支持具
12日前
APB株式会社
二次電池モジュール
12日前
エイブリック株式会社
半導体集積回路装置
8日前
APB株式会社
二次電池モジュール
12日前
太陽誘電株式会社
コイル部品
8日前
株式会社村田製作所
二次電池
6日前
太陽誘電株式会社
コイル部品
12日前
株式会社東芝
高周波回路
1日前
株式会社半導体エネルギー研究所
二次電池
5日前
株式会社村田製作所
コイル部品
今日
TDK株式会社
電子部品
12日前
トヨタ自動車株式会社
電池モジュール
今日
本田技研工業株式会社
発電セル
12日前
株式会社AESCジャパン
電池パック
8日前
株式会社AESCジャパン
電池パック
8日前
続きを見る
他の特許を見る