TOP
|
特許
|
意匠
|
商標
特許ウォッチ
Twitter
他の特許を見る
10個以上の画像は省略されています。
公開番号
2025136711
公報種別
公開特許公報(A)
公開日
2025-09-19
出願番号
2024035496
出願日
2024-03-08
発明の名称
布類反転装置
出願人
株式会社プレックス
代理人
弁理士法人山内特許事務所
主分類
D06F
67/04 20060101AFI20250911BHJP(繊維または類似のものの処理;洗濯;他に分類されない可とう性材料)
要約
【課題】布類の表裏を反転できる布類反転装置を提供する。
【解決手段】布類反転装置は、布類を搬送する第1コンベア30と、第1コンベア30の下流端31から垂下する布類Cを受け取る第2コンベア40とを有する。第2コンベア40は、布類Cが反転対象である場合、布類Cを受け取る間は逆方向に布類Cを搬送し、布類Cを受け取った後は正方向に布類Cを搬送する。これにより、布類Cの表裏を反転できる。第2コンベア40は、布類Cが反転対象でない場合、正方向に布類Cを搬送する。
【選択図】図6
特許請求の範囲
【請求項1】
下流側に配置された前端と上流側に配置された後端とを有する布類を搬送する第1コンベアと、
前記第1コンベアの下流端の下方に位置する受取領域を有し、前記下流端から垂下する前記布類を受け取る第2コンベアと、を備え、
前記第2コンベアは、
前記布類が反転対象である場合、前記布類の前記前端から前記後端までの全体を受け取る間は前記第1コンベアの搬送方向とは逆方向に前記布類を搬送し、前記布類の前記後端を受け取った後は前記第1コンベアの搬送方向と同じ正方向に前記布類を搬送し、
前記布類が反転対象でない場合、前記正方向に前記布類を搬送する
ことを特徴とする布類反転装置。
続きを表示(約 840 文字)
【請求項2】
前記第1コンベアの前記下流端と前記第2コンベアの前記受取領域とを接近させた接近状態と、前記第1コンベアの前記下流端と前記第2コンベアの前記受取領域とを離隔させた離隔状態と、で切り替わる切替機構を備える
ことを特徴とする請求項1記載の布類反転装置。
【請求項3】
前記切替機構は、前記第1コンベアの前記下流端を含むフラップ部を上下に旋回させるフラップ機構である
ことを特徴とする請求項2記載の布類反転装置。
【請求項4】
前記切替機構は、前記第2コンベアの前記受取領域を昇降させる昇降機構である
ことを特徴とする請求項2記載の布類反転装置。
【請求項5】
前記第1コンベアの前記下流端から垂下する前記布類に対して空気を吹き付け、該布類を前記第1コンベアと前記第2コンベアとの間に導くエアブローを備える
ことを特徴とする請求項1記載の布類反転装置。
【請求項6】
前記切替機構は、前記布類が反転対象でない場合、前記接近状態である
ことを特徴とする請求項2記載の布類反転装置。
【請求項7】
前記切替機構は、前記布類が反転対象である場合、前記第2コンベアが前記布類の前記前端を含む前部を受け取る間、前記離隔状態である
ことを特徴とする請求項2記載の布類反転装置。
【請求項8】
前記切替機構は、前記布類が反転対象である場合、前記第2コンベアが前記布類の前記後端を含む後部を受け取る間、前記接近状態である
ことを特徴とする請求項2記載の布類反転装置。
【請求項9】
前記切替機構は、前記布類が反転対象である場合、前記第2コンベア上の前記布類が前記第1コンベアの前記下流端と前記第2コンベアの前記受取領域との間を前記正方向に通過する間、前記離隔状態である
ことを特徴とする請求項2記載の布類反転装置。
発明の詳細な説明
【技術分野】
【0001】
本発明は、布類反転装置に関する。さらに詳しくは、本発明は、布類の表裏を反転する装置に関する。
続きを表示(約 3,100 文字)
【背景技術】
【0002】
ホテル、病院などでは大量にタオル、シーツなどの布類が使用される。使用済みの布類は回収してランドリー工場で洗濯・乾燥・折り畳みが行われ、再度ホテル、病院などに運んで、そこで使用されることが一般的である。ランドリー工場では折畳装置を用いて洗濯・乾燥済みの布類を折り畳む。
【0003】
布類にはロゴマークが付されているものがある。この種の布類はロゴマークが外側に現れるように折り畳むことが求められる。そこで、従来は、作業員が布類の表裏を確認し、布類の向きを正しくした状態で折畳装置に投入していた。しかし、この作業は作業員にとって負担が大きいため、装置による自動処理が求められている。
【0004】
特許文献1には、コンベアで搬送されている布類の上面が表面であるか裏面であるかを判別する姿勢判別装置が開示されている。姿勢判別装置により布類の裏面が上面となっていることが確認された場合には、表面が上面となるように布類を反転する必要がある。
【先行技術文献】
【特許文献】
【0005】
特開2020-69204号公報
【発明の概要】
【発明が解決しようとする課題】
【0006】
本発明は上記事情に鑑み、布類の表裏を反転できる布類反転装置を提供することを目的とする。
【課題を解決するための手段】
【0007】
第1態様の布類反転装置は、下流側に配置された前端と上流側に配置された後端とを有する布類を搬送する第1コンベアと、前記第1コンベアの下流端の下方に位置する受取領域を有し、前記下流端から垂下する前記布類を受け取る第2コンベアと、を備え、前記第2コンベアは、前記布類が反転対象である場合、前記布類の前記前端から前記後端までの全体を受け取る間は前記第1コンベアの搬送方向とは逆方向に前記布類を搬送し、前記布類の前記後端を受け取った後は前記第1コンベアの搬送方向と同じ正方向に前記布類を搬送し、前記布類が反転対象でない場合、前記正方向に前記布類を搬送することを特徴とする。
第2態様の布類反転装置は、第1態様において、前記第1コンベアの前記下流端と前記第2コンベアの前記受取領域とを接近させた接近状態と、前記第1コンベアの前記下流端と前記第2コンベアの前記受取領域とを離隔させた離隔状態と、で切り替わる切替機構を備えることを特徴とする。
第3態様の布類反転装置は、第2態様において、前記切替機構は、前記第1コンベアの前記下流端を含むフラップ部を上下に旋回させるフラップ機構であることを特徴とする。
第4態様の布類反転装置は、第2態様において、前記切替機構は、前記第2コンベアの前記受取領域を昇降させる昇降機構であることを特徴とする。
第5態様の布類反転装置は、第1~第4態様のいずれかにおいて、前記第1コンベアの前記下流端から垂下する前記布類に対して空気を吹き付け、該布類を前記第1コンベアと前記第2コンベアとの間に導くエアブローを備えることを特徴とする。
第6態様の布類反転装置は、第2~第4態様のいずれかにおいて、前記切替機構は、前記布類が反転対象でない場合、前記接近状態であることを特徴とする。
第7態様の布類反転装置は、第2~第4態様のいずれかにおいて、前記切替機構は、前記布類が反転対象である場合、前記第2コンベアが前記布類の前記前端を含む前部を受け取る間、前記離隔状態であることを特徴とする。
第8態様の布類反転装置は、第2~第4態様のいずれかにおいて、前記切替機構は、前記布類が反転対象である場合、前記第2コンベアが前記布類の前記後端を含む後部を受け取る間、前記接近状態であることを特徴とする。
第9態様の布類反転装置は、第2~第4態様のいずれかにおいて、前記切替機構は、前記布類が反転対象である場合、前記第2コンベア上の前記布類が前記第1コンベアの前記下流端と前記第2コンベアの前記受取領域との間を前記正方向に通過する間、前記離隔状態であることを特徴とする。
【発明の効果】
【0008】
第1態様によれば、第1コンベアから下垂した布類を第2コンベアで逆方向に搬送した後に正方向に搬送することで、布類の表裏を反転できる。
第2態様によれば、第1コンベアの下流端と第2コンベアの受取領域とを接近させることで、布類の第1コンベアから第2コンベアへの移乗が円滑となり、布類にシワやめくれなどが生じることを抑制できる。また、第1コンベアの下流端と第2コンベアの受取領域とを離隔させることで、それらの間を布類が通過する際に第1コンベアが布類に干渉することを抑制できる。
第3態様によれば、フラップ部を上下に旋回させることで、接近状態と離隔状態とで切り替わる。
第4態様によれば、受取領域を昇降させることで、接近状態と離隔状態とで切り替わる。
第5態様によれば、布類に対して空気を吹き付けることにより、布類を確実に第1コンベアと第2コンベアとの間に導くことができる。
第6態様によれば、第1コンベアの下流端と第2コンベアの受取領域とが接近しているため、布類の第1コンベアから第2コンベアへの移乗が円滑となり、布類にシワやめくれなどが生じることを抑制できる。
第7態様によれば、第1コンベアの下流端と第2コンベアの受取領域とが離隔しているため、これらの間に布類が通過するのに十分な隙間を確保でき、布類を確実に第1コンベアと第2コンベアとの間に導くことができる。
第8態様によれば、第1コンベアの下流端と第2コンベアの受取領域とが接近しているため、布類の後部の第1コンベアから第2コンベアへの移乗が円滑となり、布類にシワやめくれなどが生じることを抑制できる。
第9態様によれば、第1コンベアの下流端と第2コンベアの受取領域とが離隔しているため、これらの間に布類が通過するのに十分な隙間を確保でき、第2コンベアで布類を正方向に搬送する際に第1コンベアが布類に干渉することを抑制できる。
【図面の簡単な説明】
【0009】
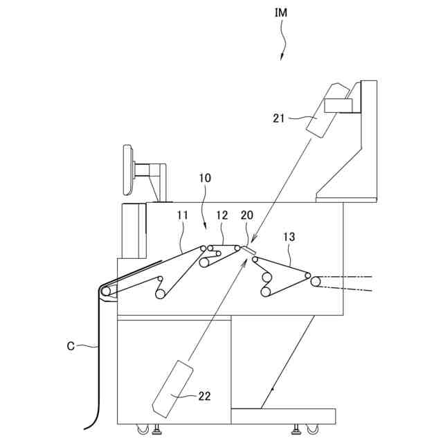
一実施形態に係るリネン設備の側面図である。
一実施形態に係る検査装置の側面図である。
第1実施形態に係る布類反転装置の側面図である。
第1コンベアの平面図である。
布類が反転対象でない場合の布類反転装置の動作の説明図である。
布類が反転対象である場合の布類反転装置の動作の説明図である。
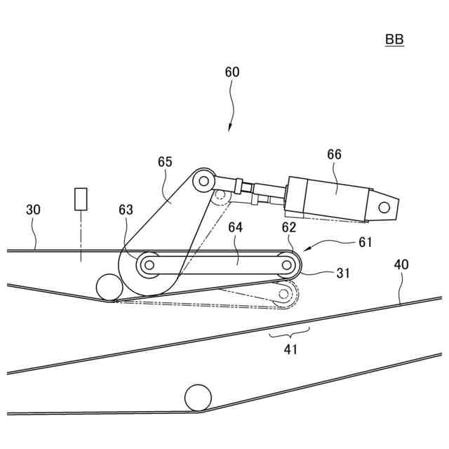
フラップ機構の側面図である。
布類が反転対象でない場合の布類反転装置の動作の説明図である。
布類が反転対象である場合の布類反転装置の動作の説明図である。
昇降機構の側面図である。
布類が反転対象でない場合の布類反転装置の動作の説明図である。
布類が反転対象である場合の布類反転装置の動作の説明図である。
【発明を実施するための形態】
【0010】
つぎに、本発明の実施形態を図面に基づき説明する。
〔第1実施形態〕
(リネン設備)
図1に示すように、本発明の第1実施形態に係る布類反転装置AAは、布類Cを処理するリネン設備LFの一部を構成する。図1に示す例では、リネン設備LFは、検査装置IM、布類反転装置AA、および折畳装置FDがこの順に接続されて構成されている。
(【0011】以降は省略されています)
この特許をJ-PlatPat(特許庁公式サイト)で参照する
関連特許
個人
洗濯装置
1か月前
東レ株式会社
繊維断面の検査方法
8日前
株式会社青柳
染め加工方法
29日前
日本バイリーン株式会社
内装用表面材
3か月前
東レ株式会社
炭素繊維シートの製造方法
1か月前
有限会社高田紙器製作所
紙製洗濯バサミ
2か月前
東レ株式会社
樹脂含浸繊維束の製造方法
2か月前
東レ株式会社
ゴム補強用合成繊維コード
15日前
株式会社槌屋
加飾用表皮材
1日前
花王株式会社
洗浄剤組成物
3か月前
株式会社創和
ボックス状洗濯ネット
1か月前
株式会社大阪ソーダ
撥水撥油性繊維処理剤
1か月前
個人
洗濯用洗剤容器の蓋
1か月前
シャープ株式会社
洗濯機
1か月前
リンテック株式会社
耐水性基材
今日
株式会社コーワ
フィルター清掃装置及び乾燥機
3か月前
株式会社コーワ
フィルター清掃装置及び乾燥機
3か月前
日本バイリーン株式会社
表皮材とその製造方法
3か月前
大阪瓦斯株式会社
衣類乾燥機
1か月前
松本油脂製薬株式会社
繊維用処理剤及びその利用
1か月前
大阪瓦斯株式会社
衣類乾燥機
1か月前
大阪瓦斯株式会社
衣類乾燥機
1か月前
シャープ株式会社
洗濯機
2か月前
シャープ株式会社
洗濯機
2か月前
個人
開閉角度調整可能な角型折畳みピンチハンガー
1か月前
株式会社コーワ
フィルター装置及び洗濯機又は乾燥機
3か月前
東芝ライフスタイル株式会社
洗濯機
21日前
東芝ライフスタイル株式会社
洗濯機
1か月前
東レ株式会社
抗菌性アクリル系繊維およびその製造方法
1か月前
シャープ株式会社
衣類処理システム
1か月前
シャープ株式会社
洗濯機
2か月前
シャープ株式会社
洗濯機
2か月前
東芝ライフスタイル株式会社
洗濯機
3か月前
東芝ライフスタイル株式会社
洗濯機
3か月前
東レ株式会社
人工皮革およびその製造方法ならびに雑貨
1か月前
株式会社コーワ
乾燥機のフィルター清掃装置及び乾燥機
今日
続きを見る
他の特許を見る