TOP
|
特許
|
意匠
|
商標
特許ウォッチ
Twitter
他の特許を見る
10個以上の画像は省略されています。
公開番号
2025136575
公報種別
公開特許公報(A)
公開日
2025-09-19
出願番号
2024035246
出願日
2024-03-07
発明の名称
経路情報処理システム
出願人
三菱自動車工業株式会社
代理人
弁理士法人相原国際知財事務所
主分類
G01C
21/36 20060101AFI20250911BHJP(測定;試験)
要約
【課題】取得する情報量の増加抑制と、ユーザに与える情報量の確保との両立を図ることが可能な経路情報処理システムを提供する。
【解決手段】経路情報処理システム1は、車両が走行する始点SPから終点EPまでの経路Rの情報を取得する経路検索部42と、地図上で経路Rを含む所定領域を格子状に区分する複数のメッシュを設定するメッシュ設定部47(第1メッシュ設定部442、第2メッシュ設定部462)と、複数のメッシュごとに路面状態情報、気象情報を取得する情報取得部48(路面状態情報取得部444、気象情報取得部464)とを備える。メッシュ設定部47は、車両の現在位置から近いほど細かく、車両の現在位置から遠いほど粗くなるように複数のメッシュを設定する。
【選択図】図1
特許請求の範囲
【請求項1】
車両が走行する始点から終点までの経路の情報を取得する経路検索部と、
地図上で前記経路を含む所定領域を格子状に区分する複数のメッシュを設定するメッシュ設定部と、
前記複数のメッシュごとに、路面状態情報および気象情報の少なくともいずれか一方を取得する情報取得部と
を備え、
前記メッシュ設定部は、前記車両の現在位置から近いほど細かく、前記車両の現在位置から遠いほど粗くなるように前記複数のメッシュを設定する経路情報処理システム。
続きを表示(約 810 文字)
【請求項2】
前記メッシュ設定部は、前記経路を構成するセグメントに対して、前記セグメントに沿った方向において所定長さごとに区分された複数の第1メッシュを設定する第1メッシュ設定部を有し、
前記情報取得部は、前記複数の第1メッシュごとに前記路面状態情報を取得する路面状態情報取得部を有し、
前記第1メッシュ設定部は、前記車両の現在位置から近いほど前記所定長さが短く、前記車両の現在位置から遠いほど前記所定長さが長くなるように前記第1メッシュを設定する請求項1に記載の経路情報処理システム。
【請求項3】
前記メッシュ設定部は、緯線と経線とにより区分された複数の第2メッシュを設定する第2メッシュ設定部を有し、
前記情報取得部は、前記複数の第2メッシュごとに前記気象情報を取得する気象情報取得部を有する請求項1に記載の経路情報処理システム。
【請求項4】
前記第2メッシュ設定部は、前記第2メッシュの周囲の地域環境が天候の変わりやすさに関連した所定条件を満たす場合、前記第2メッシュをより細かく設定する請求項3に記載の経路情報処理システム。
【請求項5】
前記所定条件は、所定勾配が所定距離以上にわたって続く場合、海が存在する場合、所定高さより高い構造物が所定密度以上である場合の少なくともいずれか1つを含む請求項4に記載の経路情報処理システム。
【請求項6】
前記第1メッシュの前記所定長さは、予め複数個に区分された前記車両の現在位置から前記セグメントまでの距離範囲ごとに、段階的な長さで予め定義される請求項2に記載の経路情報処理システム。
【請求項7】
前記経路と前記複数のメッシュごとに取得した前記路面状態情報および前記気象情報とを合成して表示させる請求項1から請求項6のいずれか一項に記載の経路情報処理システム。
発明の詳細な説明
【技術分野】
【0001】
本発明は、経路情報処理システムに関する。
続きを表示(約 1,900 文字)
【背景技術】
【0002】
従来、任意の経路を含んで区分される複数のメッシュごとに路面状態情報や気象情報を取得する経路情報処理システムが知られている。例えば、特許文献1には、メッシュ単位で天気情報を取得し、走行経路を含むメッシュを移動対象領域とし、移動対象領域が降水エリアであれば透過率を高くして天気画像を描画する情報提供システムが記載されている。
【先行技術文献】
【特許文献】
【0003】
特開2017-67528号公報
【発明の概要】
【発明が解決しようとする課題】
【0004】
しかしながら、上記特許文献1に記載のシステムのように、メッシュ単位で各種情報を取得して利用する構成においては、取得する情報量が多すぎると各種の計算処理に長い時間を要してしまうことがある。また、例えば外部サービスから気象情報を取得する場合、取得する情報量の増加は、コスト増加、システム負荷の増加による他利用者への影響、公共サービスな過剰な利用による批判などを招く恐れがある。一方で、取得する情報量が少なすぎれば、ユーザに十分な情報を与えることができなくなってしまう。
【0005】
本発明はこのような課題に鑑みてなされたものであり、その目的とするところは、取得する情報量の増加抑制と、ユーザに与える情報量の確保との両立を図ることが可能な経路情報処理システムを提供することにある。
【課題を解決するための手段】
【0006】
上記目的を達成するため、本発明の経路情報処理システムは、車両が走行する始点から終点までの経路の情報を取得する経路検索部と、地図上で前記経路を含む所定領域を格子状に区分する複数のメッシュを設定するメッシュ設定部と、前記複数のメッシュごとに、路面状態情報および気象情報の少なくともいずれか一方を取得する情報取得部とを備え、前記メッシュ設定部は、前記車両の現在位置から近いほど細かく、前記車両の現在位置から遠いほど粗くなるように前記複数のメッシュを設定する経路情報処理システム。
【発明の効果】
【0007】
本発明の経路情報処理システムによれば、取得する情報量の増加抑制と、ユーザに与える情報量の確保との両立を図ることが可能となる。
【図面の簡単な説明】
【0008】
実施形態にかかる経路情報処理システムを示す概略構成図である。
経路の一例を示す説明図である。
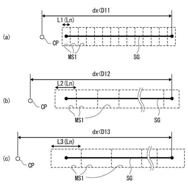
1つのセグメントに対して設けられる複数の第1メッシュの一例を示す説明図である。
複数のセグメントに対して設けられる複数の第1メッシュの一例を示す説明図である。
経路検索制御の一例を示すフローチャートである。
第1回避エリア設定処理の一例を示すフローチャートである。
車両からの距離が異なる任意のセグメントに対して設けられる複数の第1メッシュの一例を示す説明図である。
第2回避エリア設定処理の一例を示すフローチャートである。
第2回避エリア設定処理の一例を示すフローチャートである。
複数の第2メッシュの一例を示す説明図である。
図10よりも車両の走行が進んだときの複数の第2メッシュの一例を示す説明図である。
スケールを再調整した複数の第2メッシュの一例を示す説明図である。
経路、路面状態情報および気象情報を合成して表示する例を示す説明図である。
【発明を実施するための形態】
【0009】
以下、図面に基づき本発明の実施形態について説明する。図1は、実施形態にかかる経路情報処理システムを示す概略構成図である。また、図2は、経路の一例を示す説明図である。経路情報処理システム1は、車両に搭乗したユーザが入力した始点SPから終点EPまでの経路Rを複数の検索条件にしたがって検索するシステムであり、車両に搭載される車両側システム2と、車両とは別に設けられるサーバ3とを備えている。
【0010】
(車両側システム)
車両側システム2は、入力装置12と、表示装置14と、制御部20とを備えている。車両側システム2は、外部ネットワークを介してサーバ3と通信し、各種情報をやり取りする。なお、図示省略するが、車両側システム2は、ROM、RAM、不揮発性RAMなどで構成される記憶部も備えている。車両側システム2は、例えばナビゲーション装置として構成されればよい。
(【0011】以降は省略されています)
この特許をJ-PlatPat(特許庁公式サイト)で参照する
関連特許
個人
計量スプーン
26日前
日本精機株式会社
位置検出装置
4日前
日本精機株式会社
位置検出装置
4日前
日本精機株式会社
位置検出装置
4日前
大和製衡株式会社
組合せ秤
9日前
大和製衡株式会社
組合せ秤
9日前
アズビル株式会社
圧力センサ
3日前
トヨタ自動車株式会社
表示装置
18日前
ダイハツ工業株式会社
測定用具
1か月前
トヨタ自動車株式会社
検査装置
6日前
アンリツ株式会社
分光器
1か月前
株式会社東芝
センサ
9日前
アンリツ株式会社
分光器
1か月前
株式会社東芝
センサ
9日前
エイブリック株式会社
磁気センサ回路
3日前
株式会社ユーシン
操作検出装置
6日前
TDK株式会社
磁気センサ
26日前
東レエンジニアリング株式会社
計量装置
6日前
株式会社ヨコオ
コンタクタ
1か月前
TDK株式会社
ガスセンサ
3日前
個人
粘塑性を用いた有限要素法の定式化
18日前
TDK株式会社
ガスセンサ
2日前
株式会社ナリス化粧品
角層細胞採取用具
16日前
株式会社東芝
重量測定装置
2日前
TDK株式会社
磁気センサ
1か月前
中国電力株式会社
異常箇所検出装置
17日前
日本碍子株式会社
ガスセンサ
27日前
株式会社関電工
検相器用治具
24日前
大陽日酸株式会社
液面センサ
1か月前
国立大学法人京都大学
バイオセンサ
1か月前
TDK株式会社
磁気計測装置
17日前
成田空港給油施設株式会社
保持治具
17日前
三菱マテリアル株式会社
温度センサ
16日前
大同特殊鋼株式会社
超音波探傷方法
26日前
個人
材料特性パラメータの算定方法
26日前
富士電機株式会社
半導体パッケージ
26日前
続きを見る
他の特許を見る