TOP
|
特許
|
意匠
|
商標
特許ウォッチ
Twitter
他の特許を見る
公開番号
2025135271
公報種別
公開特許公報(A)
公開日
2025-09-18
出願番号
2024033033
出願日
2024-03-05
発明の名称
扉、収納ボックス、及び建築物
出願人
積水ハウス株式会社
代理人
個人
,
個人
主分類
E04F
19/08 20060101AFI20250910BHJP(建築物)
要約
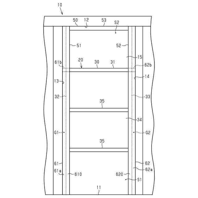
【課題】扉の強度を確保しつつ、扉の高さ方向の寸法を容易に調整できる扉、収納ボックス、及び建築物を提供する。
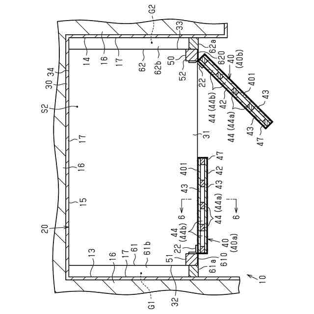
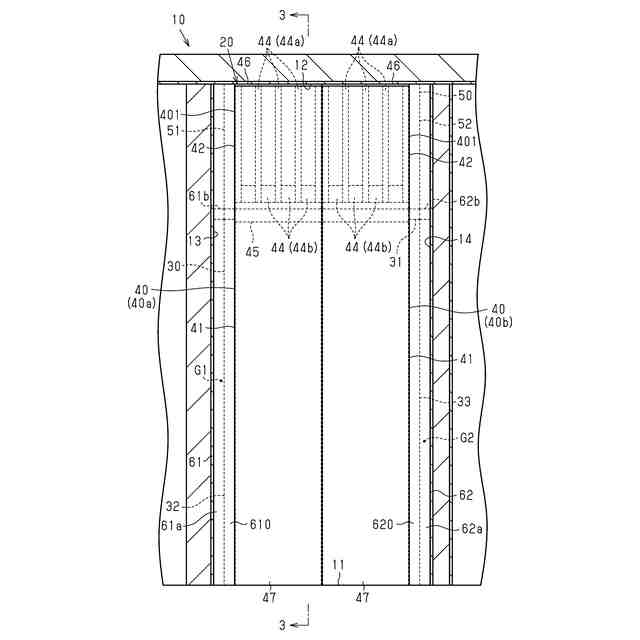
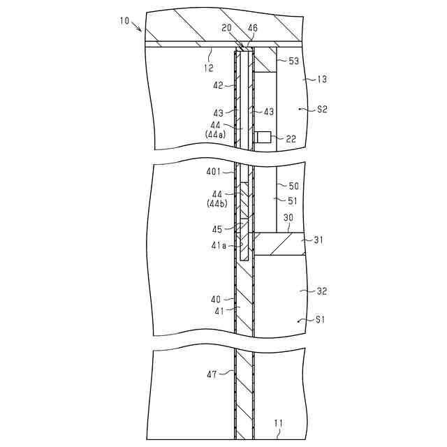
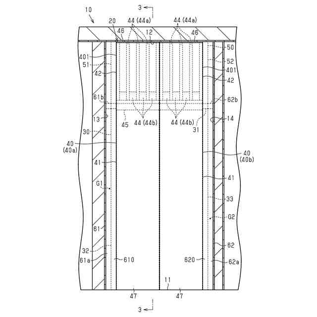
【解決手段】建築物10は、床11と、天井12と、床11と天井12とを接続する第3壁と、第3壁に沿うように床11と天井12との間に設けられた収納ボックス20とを備えている。収納ボックス20は、物を収容可能なボックス本体30と、ボックス本体30の開口を開閉する扉40とを有している。扉40は、板状の第1構成部41と、2つの板材の間に芯材44が配置されたフラッシュ構造を有する第2構成部42とを備えている。第2構成部42は、扉40の高さ方向において第1構成部41よりも上側又は下側に設けられている。芯材44は、扉40の高さ方向に延びるとともに扉40の幅方向において間隔を空けて配列されている。
【選択図】図2
特許請求の範囲
【請求項1】
物を収容可能なボックス本体に設けられる扉であって、
板状の第1構成部と、
2つの板材の間に芯材が配置されたフラッシュ構造を有する第2構成部と、
を備え、
前記第2構成部は、高さ方向において前記第1構成部よりも上側又は下側に設けられ、
前記芯材は、高さ方向に延びるとともに幅方向において間隔を空けて配列されている扉。
続きを表示(約 1,700 文字)
【請求項2】
補強部材をさらに備え、
前記第1構成部における前記第2構成部との接続面には溝が設けられ、
前記補強部材は、前記第1構成部と前記第2構成部との接続部において、前記溝に挿入されるとともに前記2つの板材の間に配置されている請求項1に記載の扉。
【請求項3】
前記第2構成部における前記第1構成部との接続面とは反対側の面には、エッジテープが貼り付けられている請求項1に記載の扉。
【請求項4】
物を収容可能なボックス本体と前記ボックス本体の開口を開閉する扉とを備え、
前記扉は、請求項1に記載の扉である収納ボックス。
【請求項5】
床と、
天井と、
前記床と前記天井とを接続する主壁と、
前記主壁に沿うように前記床と前記天井との間に設けられた収納ボックスと、
を備え、
前記収納ボックスは、請求項4に記載の収納ボックスである建築物。
【請求項6】
前記床と前記天井とを接続する第1壁と、
前記床と前記天井とを接続するとともに前記第1壁と対向する第2壁と、
をさらに備え、
前記主壁は、前記第1壁と前記第2壁とを接続し、
前記ボックス本体は、天板と第1側板と第2側板と背板とを有するとともに、前記第1側板が前記第1壁に沿い、かつ前記第2側板が前記第2壁に沿うように設けられ、
前記床と前記天板と前記第1側板と前記第2側板と前記背板とによって第1収納空間が区画され、
前記天板と前記天井と前記第1壁と前記第2壁と前記主壁とによって第2収納空間が区画され、
前記扉は、前記ボックス本体の高さ方向において前記天板の上面よりも上側まで延びる上側延長部を有し、
前記上側延長部は、前記第2構成部によって構成されている請求項5に記載の建築物。
【請求項7】
前記ボックス本体と前記天井との間に配置された枠部材を備え、
前記枠部材は、
前記収納ボックスの奥行方向において前記ボックス本体の開口側に配置されるとともに前記収納ボックスの高さ方向において前記第1側板と並ぶ第1縦フレームと、
前記収納ボックスの奥行方向において前記ボックス本体の開口側に配置されるとともに前記収納ボックスの高さ方向において前記第2側板と並ぶ第2縦フレームと、
を有し、
前記扉は、前記第1側板及び前記第1縦フレームのそれぞれ、又は前記第2側板及び前記第2縦フレームのそれぞれに対して回転可能に取り付けられている請求項6に記載の建築物。
【請求項8】
前記第1壁と前記第1側板及び前記第1縦フレームとの間に配置される第1フィラーと、
前記第2壁と前記第2側板及び前記第2縦フレームとの間に配置される第2フィラーと、
を備え、
前記第1フィラーは、前記収納ボックスの奥行方向において前記ボックス本体の開口側に配置されるとともに前記床から前記天井まで延びる第1縦フィラー部を有し、
前記第2フィラーは、前記収納ボックスの奥行方向において前記ボックス本体の開口側に配置されるとともに前記床から前記天井まで延びる第2縦フィラー部を有する請求項7に記載の建築物。
【請求項9】
前記第1フィラーは、前記収納ボックスの高さ方向において前記天板と同じ位置に配置され、前記ボックス本体の開口面から前記主壁まで延びる第1横フィラー部をさらに有し、
前記第2フィラーは、前記収納ボックスの高さ方向において前記天板と同じ位置に配置され、前記ボックス本体の開口面から前記主壁まで延びる第2横フィラー部をさらに有する請求項8に記載の建築物。
【請求項10】
前記主壁は、石膏ボードと、前記石膏ボードに貼り付けられたクロスとを有し、
前記主壁における前記第2収納空間を区画する部分の前記クロスの色は、前記背板における前記第1収納空間を区画する面の色と同じである請求項6に記載の建築物。
発明の詳細な説明
【技術分野】
【0001】
本発明は、扉、収納ボックス、及び建築物に関する。
続きを表示(約 1,300 文字)
【背景技術】
【0002】
建築物には、ボックス本体とボックス本体の開口を開閉する扉とを有する収納ボックスが設けられることがある。特許文献1には、扉の高さ方向の寸法が所望の寸法となるように、現場において扉が切断されることが記載されている。
【先行技術文献】
【特許文献】
【0003】
特開2008-110019号公報
【発明の概要】
【発明が解決しようとする課題】
【0004】
強度の高い材料によって扉が構成されている場合、扉の切断作業は困難になる。一方で、強度の低い材料によって扉が構成されている場合、扉の切断作業は容易になるものの、扉の強度が低下することにより、扉が損傷しやすくなる。
【課題を解決するための手段】
【0005】
(1)上記課題を解決する扉は、物を収容可能なボックス本体に設けられる扉であって、板状の第1構成部と、2つの板材の間に芯材が配置されたフラッシュ構造を有する第2構成部と、を備え、前記第2構成部は、高さ方向において前記第1構成部よりも上側又は下側に設けられ、前記芯材は、高さ方向に延びるとともに幅方向において間隔を空けて配列されている。
【0006】
この構成によれば、第1構成部よりも強度の低い第2構成部が第1構成部よりも上側又は下側に設けられているため、第2構成部を切断することによって、扉の強度を確保しつつ、扉の高さ方向の寸法を容易に調整することができる。
【0007】
また、上記構成によれば、芯材は扉の高さ方向に延びるとともに扉の幅方向において間隔を空けて配列されているため、第2構成部の切断位置に依らず、第2構成部の強度を確保することができる。したがって、例えば地震等によって扉に対して高さ方向の衝撃が加わった際に第2構成部が破損しにくくなる。
【0008】
(2)上記(1)の扉において、補強部材をさらに備え、前記第1構成部における前記第2構成部との接続面には溝が設けられ、前記補強部材は、前記第1構成部と前記第2構成部との接続部において、前記溝に挿入されるとともに前記2つの板材の間に配置されている。
この構成によれば、補強部材によって第1構成部と第2構成部との接続部の強度が高くなるため、扉に対して厚さ方向の衝撃が加わった際に扉が損傷しにくくなる。
【0009】
(3)上記(1)又は(2)の扉において、前記第2構成部における前記第1構成部との接続面とは反対側の面には、エッジテープが貼り付けられている。
【0010】
この構成によれば、エッジテープによって第2構成部の切断面が隠されるため、扉の外観が向上する。上述したように、芯材は、扉の高さ方向に延びるとともに扉の幅方向において間隔を空けて配列されているため、第2構成部の切断位置に依らず、芯材の切断面が形成される。したがって、第2構成部におけるエッジテープの貼付面を確保することができる。
(【0011】以降は省略されています)
この特許をJ-PlatPat(特許庁公式サイト)で参照する
関連特許
個人
接合構造
2か月前
個人
タッチミー
2か月前
個人
屋台
2か月前
個人
野良猫ハウス
3か月前
個人
転落防止用手摺
3か月前
個人
フェンス
3か月前
個人
安心補助てすり
1か月前
ニチハ株式会社
建築板
3か月前
個人
居住車両用駐車場
3か月前
個人
筋交自動設定装置
2か月前
積水樹脂株式会社
柵体
2か月前
個人
ベンリナアングル
2か月前
個人
免震建築構造
3日前
個人
熱抵抗多層断熱建材
3か月前
個人
柵
4か月前
個人
補強部材
3か月前
株式会社シンケン
住宅
1か月前
個人
防災建築物
1か月前
成友建設株式会社
建物
3か月前
個人
身体用シェルター
2か月前
個人
身体用シェルター
2か月前
鹿島建設株式会社
壁体
3か月前
株式会社フジタ
合成床
3日前
株式会社熊谷組
木質材料
2か月前
三協立山株式会社
構造体
26日前
三協立山株式会社
構造体
2か月前
三協立山株式会社
構造体
1か月前
三協立山株式会社
構造体
2か月前
株式会社大林組
接合構造
1か月前
三協立山株式会社
構造体
2か月前
三協立山株式会社
構造体
2か月前
三洋工業株式会社
床構造
1か月前
三協立山株式会社
構造体
2か月前
株式会社熊谷組
吊り治具
2か月前
三協立山株式会社
構造体
1か月前
個人
可搬型供養墓
2か月前
続きを見る
他の特許を見る