TOP
|
特許
|
意匠
|
商標
特許ウォッチ
Twitter
他の特許を見る
公開番号
2025133394
公報種別
公開特許公報(A)
公開日
2025-09-11
出願番号
2024031313
出願日
2024-03-01
発明の名称
構造材どうしの接合構造
出願人
住友林業株式会社
代理人
個人
,
個人
,
個人
主分類
E04B
1/58 20060101AFI20250904BHJP(建築物)
要約
【課題】耐火性を確保しつつ加工が簡素化でき、かつ、容易に施工することができる構造材どうしの接合構造を提供する。
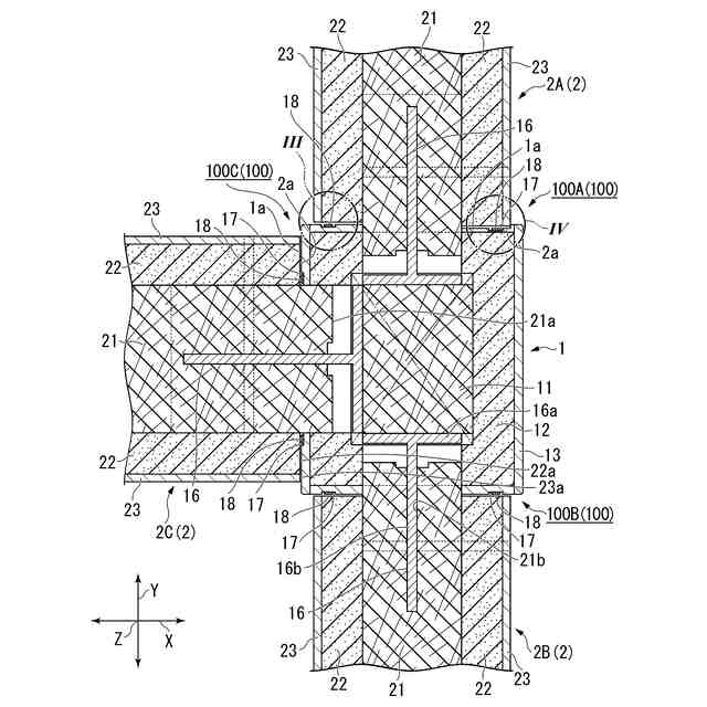
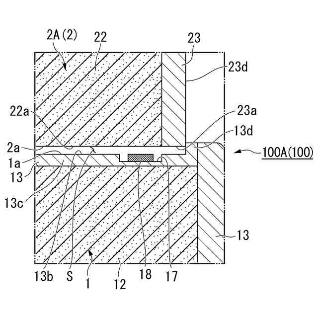
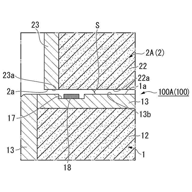
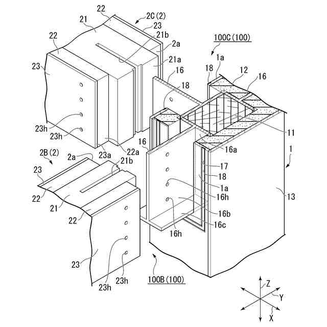
【解決手段】構造材どうしの接合構造100は、第1構造材2の第1接合面2aに第2構造材1の第2接合面1aに対向するように配置された構造材どうしの接合構造であって、第1構造材2及び前記第2構造材1は、それぞれ、荷重を支持し、木材を含む荷重支持部11,21と、荷重支持部11,21の外側に配置され、荷重支持部11,21よりも耐火性の高い燃え止まり層12,22と、燃え止まり層12,22の外側に配置された表層13,23と、を備え、第1接合面2aには、第1構造材2の燃え止まり層22が配置され、第2接合面1aには、第2構造材1の表層13が配置され、第1接合面2a及び第2接合面1aの少なくともいずれか一方の一部には、耐火膨張材18が配置されている。
【選択図】図1
特許請求の範囲
【請求項1】
第1構造材の第1接合面に第2構造材の第2接合面に対向するように配置された構造材どうしの接合構造であって、
前記第1構造材及び前記第2構造材は、それぞれ、
荷重を支持し、木材を含む荷重支持部と、
前記荷重支持部の外側に配置され、前記荷重支持部よりも耐火性の高い燃え止まり層と、
前記燃え止まり層の外側に配置された表層と、を備え、
前記第1接合面には、前記第1構造材の前記燃え止まり層が配置され、
前記第2接合面には、前記第2構造材の前記表層が配置され、
前記第1接合面及び前記第2接合面の少なくともいずれか一方の一部には、耐火膨張材が配置されている構造材どうしの接合構造。
続きを表示(約 370 文字)
【請求項2】
前記第2接合面の前記表層には、前記第1接合面から離れる方向に凹む溝部が形成され、
前記耐火膨張材は、前記溝部に配置されている請求項1に記載の構造材どうしの接合構造。
【請求項3】
前記第1接合面の前記燃え止まり層には、前記第2接合面から離れる方向に凹む溝部が形成され、
前記耐火膨張材は、前記溝部に配置されている請求項1に記載の構造材どうしの接合構造。
【請求項4】
前記第1構造材は、梁であり、
前記第2構造材は、柱である請求項1または2に記載の構造材どうしの接合構造。
【請求項5】
前記第2接合面には、前記第1構造材側に突出し、前記第1接合面を印籠嵌合する嵌合部が設けられている請求項1から3のいずれか一項に記載の構造材どうしの接合構造。
発明の詳細な説明
【技術分野】
【0001】
本発明は、構造材どうしの接合構造に関するものである。
続きを表示(約 1,600 文字)
【背景技術】
【0002】
木質材料で構成されている柱や梁等の木質耐火部材どうしの接合部分では、火災終了時まで荷重を支持するために重要な荷重支持部の燃焼を防ぐ必要があった。接合部分に設計や施工上の対応から隙間が生じる場合、その隙間から荷重支持部への燃えこみが懸念されるため、隙間に無機被覆材等を充填し、さらに、意匠性を良くするために木材で蓋をする等の追加の耐火処置作業が必要であった。
【0003】
下記の特許文献1では、表層となる燃えしろ層と、表層の内側に配置された燃え止まり層とを備えた柱と梁の接合方法であって、柱の燃え止まり層が露出するように凹部を形成して、柱の露出した燃え止まり層に梁の燃え止まり層の端面を当接するようにして接合する方法が提案されている。
【先行技術文献】
【特許文献】
【0004】
特許第4848213号公報
【発明の概要】
【発明が解決しようとする課題】
【0005】
しかしながら、特許文献1の接合方法では、柱の燃え止まり層が露出するように加工するため、加工が複雑で手間がかかるという問題点がある。
【0006】
そこで、本発明は、上記事情に鑑みてなされたものであり、耐火性を確保しつつ加工が簡素化でき、かつ、容易に施工することができる構造材どうしの接合構造を提供する。
【課題を解決するための手段】
【0007】
上記目的を達成するために、本発明は以下の手段を採用している。
すなわち、本発明に係る構造材どうしの接合構造は、第1構造材の第1接合面に第2構造材の第2接合面に対向するように配置された構造材どうしの接合構造であって、前記第1構造材及び前記第2構造材は、それぞれ、荷重を支持し、木材を含む荷重支持部と、前記荷重支持部の外側に配置され、前記荷重支持部よりも耐火性の高い燃え止まり層と、記燃え止まり層の外側に配置された表層と、を備え、前記第1接合面には、前記第1構造材の前記燃え止まり層が配置され、前記第2接合面には、前記第2構造材の前記表層が配置され、前記第1接合面及び前記第2接合面の少なくともいずれか一方の一部には、耐火膨張材が配置されている。
【0008】
このように構成された構造材どうしの接合構造では、第1構造材の第1接合面には、第1構造材の燃え止まり層が配置されている。第2構造材の第2接合面には、第2構造材の表層が配置されている。第1接合面及び第2接合面の少なくともいずれか一方の一部には、耐火膨張材が配置されている。火災時には、耐火膨張材が、膨張して、第1構造材の第1接合面と第2構造材の第2接合面との間を封止するため、熱の遮蔽効果を発現し、荷重支持部が外部からの熱に晒されて着火することが抑制されることにより、耐火性を確保することができる。
また、耐火膨張材は、第1構造材の第1接合面の燃え止まり層と第2構造材の第2接合面の表層の少なくとも一部に配置すればよいため、加工が簡素化でき、かつ、容易に施工することができる。
【0009】
また、本発明に係る構造材どうしの接合構造は、前記第2接合面の前記表層には、前記第1接合面から離れる方向に凹む溝部が形成され、前記耐火膨張材は、前記溝部に配置されていてもよい。
【0010】
このように構成された構造材どうしの接合構造では、第2構造材の第2接合面の表層には溝部が形成され、溝部には耐火膨張材が配置されている。よって、第1構造材及び第2構造材の一方に対して、第1構造材及び第2構造材の他方を上方から下方に移動させて設置する際に、耐火膨張材が第1構造材の第1接合面に接触してずり落ちることが抑制される。
(【0011】以降は省略されています)
この特許をJ-PlatPat(特許庁公式サイト)で参照する
関連特許
住友林業株式会社
鉄骨梁と木質床版との接合部構造
1か月前
個人
接合構造
2か月前
個人
屋台
2か月前
個人
タッチミー
2か月前
個人
野良猫ハウス
3か月前
個人
転落防止用手摺
3か月前
個人
安心補助てすり
1か月前
積水樹脂株式会社
柵体
2か月前
個人
居住車両用駐車場
3か月前
個人
筋交自動設定装置
2か月前
ニチハ株式会社
建築板
3か月前
個人
ベンリナアングル
2か月前
個人
免震建築構造
3日前
個人
熱抵抗多層断熱建材
3か月前
個人
補強部材
3か月前
成友建設株式会社
建物
3か月前
個人
防災建築物
1か月前
個人
身体用シェルター
2か月前
株式会社フジタ
合成床
3日前
鹿島建設株式会社
壁体
3か月前
個人
身体用シェルター
2か月前
株式会社シンケン
住宅
1か月前
三洋工業株式会社
床構造
1か月前
三協立山株式会社
構造体
1か月前
三協立山株式会社
構造体
26日前
株式会社大林組
接合構造
1か月前
三協立山株式会社
構造体
2か月前
三協立山株式会社
構造体
2か月前
三協立山株式会社
構造体
2か月前
三協立山株式会社
構造体
2か月前
三協立山株式会社
構造体
1か月前
三協立山株式会社
構造体
2か月前
三協立山株式会社
構造体
2か月前
株式会社熊谷組
床構成材
2か月前
イワブチ株式会社
組立柱
2か月前
株式会社熊谷組
木質材料
2か月前
続きを見る
他の特許を見る