TOP
|
特許
|
意匠
|
商標
特許ウォッチ
Twitter
他の特許を見る
公開番号
2025132073
公報種別
公開特許公報(A)
公開日
2025-09-10
出願番号
2024029401
出願日
2024-02-29
発明の名称
電力変換装置および空気調和装置
出願人
ダイキン工業株式会社
代理人
個人
主分類
H02M
7/48 20070101AFI20250903BHJP(電力の発電,変換,配電)
要約
【課題】電力変換装置が負荷停止時に基本波電流成分を出力する場合に、高調波電流成分の制御における発振を抑制する。
【解決手段】電力変換装置は、電源に接続された負荷と、電源に接続され負荷と並列な電力変換装置であって、負荷が接続された電源に、基本波電流成分と高調波電流成分とを出力する電流源と、電流源により出力される電流を制御する制御器と、を備え、制御器は、高調波電流成分における予め定められた周波数の整数倍の周波数成分に対して利得を持つ要素を含み、負荷の駆動状態が予め定められた駆動状態の場合、利得を持つ要素を無効化する。
【選択図】図1
特許請求の範囲
【請求項1】
電源に接続された負荷と、当該電源に接続され当該負荷と並列な電力変換装置であって、
前記負荷が接続された前記電源に、基本波電流成分と高調波電流成分とを出力する電流源と、
前記電流源により出力される電流を制御する制御器と、
を備え、
前記制御器は、
前記高調波電流成分における予め定められた周波数の整数倍の周波数成分に対して利得を持つ要素を含み、
前記負荷の駆動状態が予め定められた駆動状態の場合、前記利得を持つ要素を無効化する、
電力変換装置。
続きを表示(約 1,000 文字)
【請求項2】
電源に接続された負荷と、当該電源に接続され当該負荷と並列な電力変換装置であって、
前記負荷が接続された前記電源に、基本波電流成分と高調波電流成分とを出力する電流源と、
前記電流源により出力される電流を制御する制御器と、
を備え、
前記制御器は、
前記負荷の駆動状態が予め定められた駆動状態の場合、前記高調波電流成分の制御を無効化する、
電力変換装置。
【請求項3】
前記予め定められた駆動状態は、前記負荷の電力、前記負荷を流れる電流、前記負荷に生じるDC電圧リプルまたは前記負荷の回転数の何れかが予め定められた値以下の状態であることを特徴とする、請求項1または2に記載の電力変換装置。
【請求項4】
前記予め定められた駆動状態は、外部より前記負荷の停止信号を受信した状態であることを特徴とする、請求項1または2に記載の電力変換装置。
【請求項5】
前記制御器は、
前記電力変換装置に流れる電流から、前記基本波電流成分と、前記高調波電流成分とを算出し、
前記電源の情報を取得し、
取得した前記電源の情報に基づき、前記基本波電流成分の第1の目標値を設定し、
前記負荷に流れる電流に基づき、前記高調波電流成分の第2の目標値を設定し、
前記第1の目標値および前記第2の目標値に基づき、前記基本波電流成分および前記高調波電流成分を制御する、
請求項1または2に記載の電力変換装置。
【請求項6】
前記制御器は、
前記予め定められた周波数の整数倍の周波数成分に対して利得を持つ要素に繰り返し制御を含み、前記負荷の駆動に関する状態値が予め定められた値以下の場合、当該繰り返し制御を無効化する、
請求項1に記載の電力変換装置。
【請求項7】
前記制御器は、
前記基本波電流成分の制御と、前記高調波電流成分の制御とを別々に行う、
請求項1または2に記載の電力変換装置。
【請求項8】
前記負荷は、空気調和装置に組み込まれている、請求項1または2に記載の電力変換装置。
【請求項9】
請求項1または2に記載の電力変換装置が組み込まれている空気調和装置。
【請求項10】
請求項1または2に記載の電力変換装置を複数台備え、複数台の当該電力変換装置が分担して前記基本波電流成分と前記高調波電流成分とを出力する空気調和装置。
発明の詳細な説明
【技術分野】
【0001】
本開示は、電力変換装置および空気調和装置に関する。
続きを表示(約 4,100 文字)
【背景技術】
【0002】
特許文献1には、高調波発生機器に接続されたアクティブフィルタ装置において、力率を改善するための補償電流(Ic)を、高調波発生機器が接続された電力系統に流す電流源と、電力系統から高調波発生機器に流れる電流の負荷電流に、高調波発生機器以外の機器における無効電流に相当する設定値を上乗せして補償電流の大きさを求める力率制御器と、を備えたアクティブフィルタ装置が開示されている。
【先行技術文献】
【特許文献】
【0003】
特開2018-191375号公報
【発明の概要】
【発明が解決しようとする課題】
【0004】
電源に接続された負荷と並列に接続される電力変換装置が、高調波電流成分に加え、基本波電流成分を出力して配電系統の電圧を調整する場合、負荷が停止している時も、基本波電流成分を出力させることがある。負荷停止時に電力変換装置が基本波電流成分を出力する場合、例えば電源のラインインピーダンスや負荷前段に挿入するノイズフィルタの定数等によっては高調波電流成分の制御において発振が生じることがある。
本開示は、電力変換装置が負荷停止時に基本波電流成分を出力する場合に、高調波電流成分の制御における発振を抑制することを目的とする。
【課題を解決するための手段】
【0005】
本開示の電力変換装置は、電源に接続された負荷と、当該電源に接続され当該負荷と並列な電力変換装置であって、前記負荷が接続された前記電源に、基本波電流成分と高調波電流成分とを出力する電流源と、前記電流源により出力される電流を制御する制御器と、を備え、前記制御器は、前記高調波電流成分における予め定められた周波数の整数倍の周波数成分に対して利得を持つ要素を含み、前記負荷の駆動状態が予め定められた駆動状態の場合、前記利得を持つ要素を無効化する。この場合、電力変換装置が負荷停止時に基本波電流成分を出力する場合に、高調波電流成分の制御における発振を抑制することができる。
別の観点から見ると、本開示の電力変換装置は、電源に接続された負荷と、当該電源に接続され当該負荷と並列な電力変換装置であって、前記負荷が接続された前記電源に、基本波電流成分と高調波電流成分とを出力する電流源と、前記電流源により出力される電流を制御する制御器と、を備え、前記制御器は、前記負荷の駆動状態が予め定められた駆動状態の場合、前記高調波電流成分の制御を無効化する。この場合、電力変換装置が負荷停止時に基本波電流成分を出力する場合に、高調波電流成分の制御における発振を抑制することができる。
ここで、前記予め定められた駆動状態は、前記負荷の電力、前記負荷を流れる電流、前記負荷に生じるDC電圧リプルまたは前記負荷の回転数の何れかが予め定められた値以下の状態である。この場合、負荷の駆動状態に応じた高調波電流成分の制御における発振の抑制が可能となる。
また、前記予め定められた駆動状態は、外部より前記負荷の停止信号を受信した状態である。この場合、外部からの信号に応じた高調波電流成分の制御における発振の抑制が可能となる。
また、前記制御器は、前記電力変換装置に流れる電流から、前記基本波電流成分と、前記高調波電流成分とを算出し、前記電源の情報を取得し、取得した前記電源の情報に基づき、前記基本波電流成分の第1の目標値を設定し、前記負荷に流れる電流に基づき、前記高調波電流成分の第2の目標値を設定し、前記第1の目標値および前記第2の目標値に基づき、前記基本波電流成分および前記高調波電流成分を制御する。この場合、電力変換装置により配電系統の電圧を調整することができる。
また、前記制御器は、前記予め定められた周波数の整数倍の周波数成分に対して利得を持つ要素に繰り返し制御を含み、前記負荷の駆動に関する状態値が予め定められた値以下の場合、当該繰り返し制御を無効化する。この場合、電力変換装置が負荷停止時に基本波電流成分を出力する場合に、繰り返し制御における発振を抑制することができる。
また、前記制御器は、前記基本波電流成分の制御と、前記高調波電流成分の制御とを別々に行う。この場合、別々に制御応答を設定して周波数に応じた制御性能を得ることができる。
また、前記負荷は、空気調和装置に組み込まれている。この場合、空気調和装置により発生した高調波電流成分を電力変換装置により補償することができる。
また、本開示の空気調和装置は、請求項1または2に記載の電力変換装置が組み込まれている。この場合、電力変換装置が空気調和装置における負荷停止時に基本波電流成分を出力する場合に、高調波電流成分の制御における発振を抑制することができる。
また、本開示の空気調和装置は、請求項1または2に記載の電力変換装置を複数台備え、複数台の当該電力変換装置が分担して前記基本波電流成分と前記高調波電流成分とを出力する。この場合、電力変換装置一台当たりの出力量を抑制することができる。
【図面の簡単な説明】
【0006】
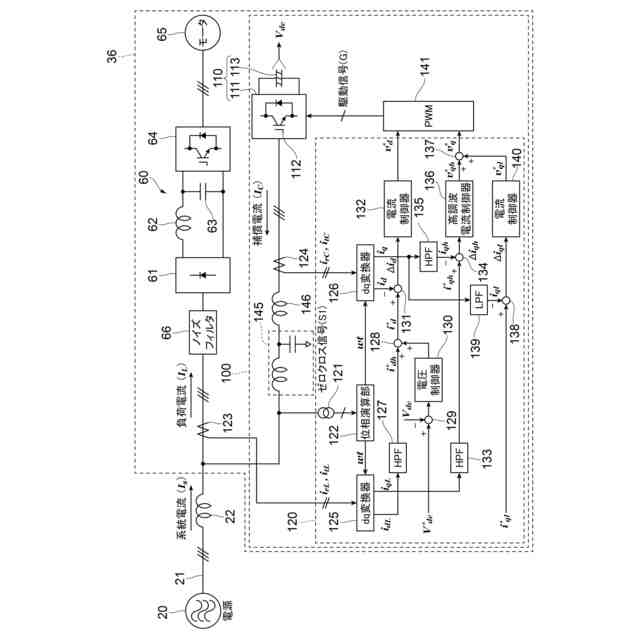
本実施の形態に係るアクティブフィルタ装置の構成例を示す図である。
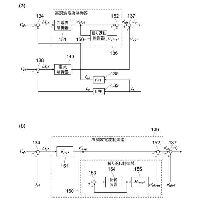
繰り返し制御器について説明する図であり、(a)は高調波電流制御器の基本的な構成例を、(b)は高調波電流制御器の具体的な構成例を示す。
繰り返し制御器の周波数特性の例を示す図であり、(a)は周波数-振幅特性を、(b)は周波数-位相特性を示す。
PI電流制御器の前に繰り返し制御器を備える場合の高調波電流制御器の構成例を示す図である。
制御の無効化について説明する図であり、(a)は高調波電流制御器における制御を無効化する例を、(b)は繰り返し制御器における繰り返し制御を無効化する例を示す。
負荷停止時にアクティブフィルタ装置が補償電流を出力したときの電流波形を示す図であり、(a)は繰り返し制御器における繰り返し制御を動作させた状態における電流波形を、(b)は繰り返し制御器における繰り返し制御を無効化した状態における電流波形を示す。
q軸成分の高調波電流制御と基本波電流制御とを実行する電流制御器の構成例を示す図であり、(a)は乗算器の後ろに繰り返し制御器を備える場合の電流制御器の構成例を、(b)は乗算器の前に繰り返し制御器を備える場合の電流制御器の構成例を示す。
【発明を実施するための形態】
【0007】
以下、添付図面を参照して、実施の形態について詳細に説明する。
<アクティブフィルタ装置の構成>
図1は、本実施の形態に係るアクティブフィルタ装置100の構成例を示す図である。図1では、アクティブフィルタ装置100が空気調和装置36に組み込まれている場合を示している。アクティブフィルタ装置100は、電力変換装置の一例である。
なお、図示の例では、アクティブフィルタ装置100が空気調和装置36に組み込まれている構成を示したが、これに限定されない。アクティブフィルタ装置100が空気調和装置36とは異なる場所に設置されてもよい。
また、図示の例では、空気調和装置36を負荷とする構成を示したが、これに限定されない。負荷としては電力変換器60を有する機器等が挙げられる。電力変換器60を有する機器としては、給湯器や工場のラインのインバータ等が挙げられる。
【0008】
負荷にインバータ回路が含まれていると、インバータ回路は電源20の基本波周波数よりも高い周波数でスイッチングを行うため、配電系統の電流に高調波電流が加わり電源に影響を与える。そこで、アクティブフィルタ装置100により、配電系統に補償電流を流して高調波電流の抑制が行われる。
なお、基本波とは、電源20の周波数成分からなる正弦波である。例えば、電源の周波数が50Hzならば基本波の周波数は50Hzになる。また、高調波とは、基本波の整数倍の周波数成分である。また、整数倍は2倍以上である。そのため、基本波は、高調波には含まれない。本開示では、電流のうちの基本波の成分を基本波電流と称し、電流のうちの高調波の成分を高調波電流と称する。また、本開示で扱う高調波電流は2次以上40次以下の高調波の成分を含む電流とする。
【0009】
また、本実施の形態で説明するアクティブフィルタ装置100は配電系統の電圧を調整する機能を有し、高調波電流に加えて基本波電流の補償電流を出力するように構成されている。アクティブフィルタ装置100が高調波電流のみを出力する場合には、負荷の停止時において高調波電流が発生しないため、アクティブフィルタ装置100を停止してもよい。しかし、アクティブフィルタ装置100が高調波電流に加え基本波電流も出力する場合には、アクティブフィルタ装置100を停止せず、基本波電流の出力を行ってもよい。アクティブフィルタ装置100は、高調波電流に加え基本波成分も出力し、負荷停止時においても、停止させないで基本波電流を出力する。
【0010】
空気調和装置36は、ビル、工場、マンション、病院、一戸建て等の建物に設置される。ビル等には、電源20から配電線21を介して電力が供給されている。ここでは、電源20と配電線21とをまとめて配電系統と表記する。配電線21は、配電線インピーダンス22を有している。電源20は、例えば、三相の交流電源(商用電源)である。
空気調和装置36は、冷媒が循環して冷凍サイクル運転動作を行う冷媒回路(不図示)を備え、ビル等において室内の冷房や暖房を行う。空気調和装置の冷媒回路は、冷媒を圧縮する圧縮機を備える。
空気調和装置36は、電力変換器60を備える。
(【0011】以降は省略されています)
この特許をJ-PlatPat(特許庁公式サイト)で参照する
関連特許
ダイキン工業株式会社
調湿装置
13日前
ダイキン工業株式会社
冷凍装置
3日前
ダイキン工業株式会社
冷凍装置
3日前
ダイキン工業株式会社
冷凍装置
7日前
ダイキン工業株式会社
発電システム
3日前
ダイキン工業株式会社
回転電気機械
6日前
ダイキン工業株式会社
エッチングガス
13日前
ダイキン工業株式会社
デポジションガス
13日前
ダイキン工業株式会社
熱交換器及び冷凍装置
1日前
ダイキン工業株式会社
室内機、空気調和装置
14日前
ダイキン工業株式会社
室内機、空気調和装置
14日前
ダイキン工業株式会社
室内機、空気調和装置
14日前
ダイキン工業株式会社
フルオロポリマーの製造方法
13日前
ダイキン工業株式会社
圧縮機の製造方法および圧縮機
15日前
ダイキン工業株式会社
冷凍サイクル装置および冷凍機油
6日前
ダイキン工業株式会社
冷凍サイクル装置および冷凍機油
6日前
ダイキン工業株式会社
フルオロポリマー水性分散液の製造方法
13日前
ダイキン工業株式会社
金属カーバイドおよび炭化水素の製造方法
3日前
ダイキン工業株式会社
組成物、それを用いたシート及びその製造方法
14日前
ダイキン工業株式会社
フルオロポリマーの製造方法および水性分散液
13日前
ダイキン工業株式会社
固定子コア、回転電機、圧縮機、および、冷凍装置
3日前
ダイキン工業株式会社
シート、銅張積層体、回路基板及びシートの製造方法
13日前
ダイキン工業株式会社
電子材料用樹脂組成物用充填剤
14日前
ダイキン工業株式会社
アルキレン鎖含有シラン化合物
13日前
ダイキン工業株式会社
組成物、ペースト状組成物、シート、金属張積層体、回路基板及びシートの製造方法
13日前
ダイキン工業株式会社
フッ素系炭化水素化合物の脱水方法
15日前
ダイキン工業株式会社
冷媒を含む組成物、その使用、並びにそれを有する冷凍機及びその冷凍機の運転方法
1日前
ダイキン工業株式会社
故障診断システム、冷凍サイクルシステム、故障診断方法、故障診断プログラム及び空調機
3日前
ダイキン工業株式会社
フルオロポリマーの製造方法、ポリテトラフルオロエチレンの製造方法および組成物
2日前
個人
電源装置
14日前
個人
永久磁石モーター
1か月前
個人
バッテリ内蔵直流電源
13日前
株式会社FUJI
制御盤
3日前
オムロン株式会社
電源回路
7日前
オムロン株式会社
電源回路
7日前
オムロン株式会社
電源回路
7日前
続きを見る
他の特許を見る