TOP
|
特許
|
意匠
|
商標
特許ウォッチ
Twitter
他の特許を見る
10個以上の画像は省略されています。
公開番号
2025129828
公報種別
公開特許公報(A)
公開日
2025-09-05
出願番号
2024026739
出願日
2024-02-26
発明の名称
物干具及び物干具の取付方法
出願人
株式会社LIXIL
代理人
弁理士法人 快友国際特許事務所
主分類
D06F
57/12 20060101AFI20250829BHJP(繊維または類似のものの処理;洗濯;他に分類されない可とう性材料)
要約
【課題】棒状部材を適切に保持し得る新規な技術を開示する。
【解決手段】物干具は、棒状部材と、前記棒状部材の端部を収容する収容部と、前記収容部から前記棒状部材と反対側に突出する突出部と、を備える端部部材と、前記突出部を保持する保持部を備える保持部材と、を備えていてもよい。前記収容部は、前記保持部材から露出していてもよい。
【選択図】図1
特許請求の範囲
【請求項1】
棒状部材と、
前記棒状部材の端部を収容する収容部と、前記収容部から前記棒状部材と反対側に突出する突出部と、を備える端部部材と、
前記突出部を保持する保持部を備える保持部材と、を備え、
前記収容部は、前記保持部材から露出している、物干具。
続きを表示(約 950 文字)
【請求項2】
前記収容部の前記棒状部材の周方向に沿った最外周面は、前記保持部材の前記棒状部材の周方向に沿った最外周面と同一平面上に配置される、請求項1に記載の物干具。
【請求項3】
前記棒状部材は、樹脂部を備え、
前記樹脂部は、平面視において、
前記棒状部材の延伸方向に垂直な方向における前記棒状部材の全長を覆うとともに、
前記棒状部材の前記延伸方向における前記棒状部材の少なくとも一部を覆う、請求項1から2のいずれか一項に記載の物干具。
【請求項4】
前記保持部は、前記突出部が収容される収容空間を画定しており、
前記保持部は、
前記突出部が通過可能な開口と、
前記収容空間に配置されている前記突出部が前記開口を通過して前記収容空間から脱落することを防止する防止機構と、を備える、請求項1から2のいずれか一項に記載の物干具。
【請求項5】
前記開口は、前記収容空間の上方に配置されており、
前記防止機構は、
前記突出部の第1挿入部に挿入される固定部材と、
前記第1挿入部に並んで配置され、前記固定部材が挿入される第2挿入部であって、前記保持部材に配置される前記第2挿入部と、を備える、請求項4に記載の物干具。
【請求項6】
前記突出部は、前記棒状部材の軸回りに回転することによって、平面視において、前記開口を通過可能な第1形状と、前記開口を通過不可な第2形状と、を有する外径形状を有し、
前記収容空間は、前記突出部が前記第1形状と前記第2形状との間で前記棒状部材の軸回りに回転可能な空間形状を有する、請求項4に記載の物干具。
【請求項7】
請求項1から2のいずれか一項に記載の物干具の取付方法であって、
棒状部材を切断する切断工程と、
端部部材の収容部に、前記棒状部材の端部を挿入する挿入工程と、
保持部材を取付面に取り付ける取付工程と、
前記取付面に取り付けられた前記保持部材の保持部に、前記収容部に前記棒状部材の前記端部を挿入した前記端部部材の突出部を保持させる保持工程と、を備える、物干具の取付方法。
発明の詳細な説明
【技術分野】
【0001】
本明細書が開示する技術は、物干具及び物干具の取付方法に関する。
続きを表示(約 1,600 文字)
【背景技術】
【0002】
特許文献1には、両端部が壁面に固定されている上部ハンガーパイプが開示されている。
【先行技術文献】
【特許文献】
【0003】
特開2023-32583号公報
【発明の概要】
【発明が解決しようとする課題】
【0004】
上記の文献には、上部ハンガーパイプの両端部と壁面との固定方法について何ら開示されていない。本明細書では、棒状部材を適切に保持し得る新規な技術を開示する。
【課題を解決するための手段】
【0005】
本明細書で開示の技術は、物干具に関する。物干具は、棒状部材と、前記棒状部材の端部を収容する収容部と、前記収容部から前記棒状部材と反対側に突出する突出部と、を備える端部部材と、前記突出部を保持する保持部を備える保持部材と、を備えていてもよい。前記収容部は、前記保持部材から露出していてもよい。
【図面の簡単な説明】
【0006】
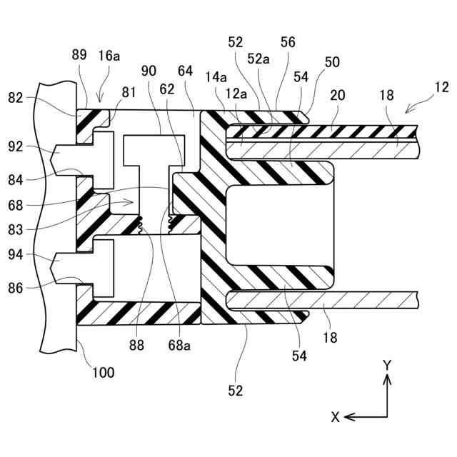
本実施形態の物干具の正面図を示す。
本実施形態の棒状部材の端部の斜視図を示す。
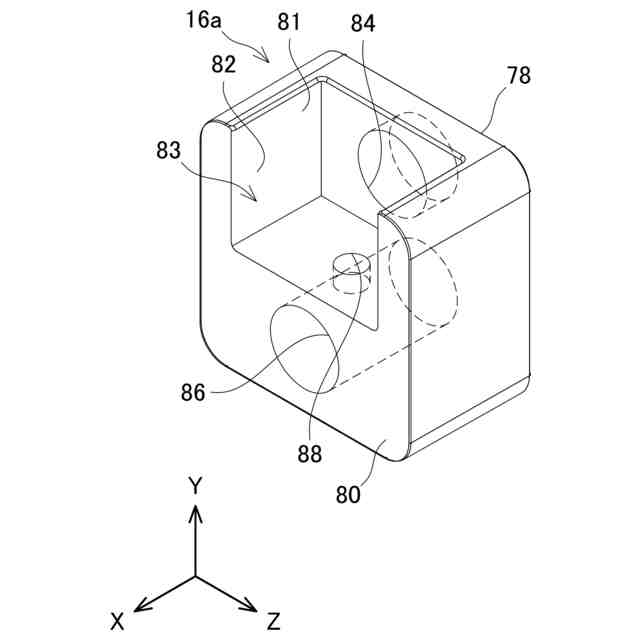
本実施形態の端部部材の第1面側の斜視図を示す。
本実施形態の端部部材の第2面側の斜視図を示す。
本実施形態の保持部材の第1面側の斜視図を示す。
本実施形態の物干具の取付方法を説明するための斜視図を示す。
第2実施形態の端部部材の第2面側の斜視図を示す。
第2実施形態の保持部材の第1面側の斜視図を示す。
第2実施形態の端部部材と保持部材との接続を説明するための断面模式図を示す。
【発明を実施するための形態】
【0007】
本実施形態の物干具10を説明する。図1から図9に示した座標系では、物干具10の棒状部材12の延伸方向をX軸とし、棒状部材12の高さ方向をY軸とし、棒状部材12の幅方向をZ軸とする。
【0008】
(第1実施形態)
(物干具10の構成)
図1に物干具10を示す。物干具10は、物を引っ掛けるためのものである。物干具10は、棒状部材12と、端部部材14と、保持部材16と、を備える。棒状部材12は、X軸方向に沿って延びる。棒状部材12は、長尺の棒材である。棒状部材12は、四角筒形状を有する。図2に棒状部材12の左端部12aを示す。棒状部材12は、本体18と、樹脂部20とを備える。本体18は、第1内部空間22と、複数の溝24,26とを備える。第1内部空間22は、棒状部材12の左端部12aにおいて開口している。第1内部空間22は、概して長方形の閉断面を形成する。このため、本体18は剛性を有する。本体18は、アルミニウム等の金属製である。本体18の表面は、任意の色に塗装されていてもよく、例えばアルマイト処理のように加飾されていてもよい。
【0009】
複数の溝24,26は、本体18の上面において、本体18に沿ってX軸方向に延びる。第1溝24及び第2溝26は、下方及び本体18の外側に向かって凹んでいる。第1溝24と第2溝26とは、本体18の上面にXY平面に面対称に配置されている。
【0010】
樹脂部20は、本体18の上部に配置される。樹脂部20は樹脂製である。樹脂部20は、カバー部28と、複数の突出部30,32とを備える。カバー部28は、XZ平面に延びる平板部材である。第1突出部30及び第2突出部32は、カバー部28の下部からY軸下方向に向かって突出する。第1突出部30が、本体18の第1溝24に挿入される。第2突出部32が、第2溝26に挿入される。これによって樹脂部20は、本体18に接続される。
(【0011】以降は省略されています)
この特許をJ-PlatPat(特許庁公式サイト)で参照する
関連特許
株式会社LIXIL
シリンダ錠
1日前
株式会社LIXIL
シリンダ錠及び建物設備機器群
1日前
株式会社LIXIL
トイレ装置、トイレシステム及び排卵推測装置
5日前
株式会社LIXIL
改装サッシ
5日前
株式会社LIXIL
表示制御装置、表示制御システム、プログラム及び表示制御方法
1日前
個人
洗濯装置
1か月前
個人
ハンガー保持具
3か月前
株式会社青柳
染め加工方法
27日前
東レ株式会社
繊維断面の検査方法
6日前
シャープ株式会社
洗濯機
3か月前
日本バイリーン株式会社
内装用表面材
3か月前
花王株式会社
洗浄剤組成物
3か月前
東レ株式会社
ゴム補強用合成繊維コード
13日前
東レ株式会社
炭素繊維シートの製造方法
1か月前
東レ株式会社
樹脂含浸繊維束の製造方法
2か月前
有限会社高田紙器製作所
紙製洗濯バサミ
2か月前
株式会社大阪ソーダ
撥水撥油性繊維処理剤
1か月前
株式会社創和
ボックス状洗濯ネット
28日前
個人
洗濯用洗剤容器の蓋
1か月前
シャープ株式会社
洗濯機
1か月前
日本バイリーン株式会社
表皮材とその製造方法
3か月前
株式会社コーワ
フィルター清掃装置及び乾燥機
3か月前
株式会社コーワ
フィルター清掃装置及び乾燥機
3か月前
松本油脂製薬株式会社
繊維用処理剤及びその利用
1か月前
大阪瓦斯株式会社
衣類乾燥機
1か月前
大阪瓦斯株式会社
衣類乾燥機
1か月前
大阪瓦斯株式会社
衣類乾燥機
1か月前
シャープ株式会社
洗濯機
2か月前
個人
開閉角度調整可能な角型折畳みピンチハンガー
1か月前
東レ株式会社
人工皮革、乗物用内装材、および座席
3か月前
シャープ株式会社
洗濯機
2か月前
株式会社コーワ
フィルター装置及び洗濯機又は乾燥機
3か月前
東レ株式会社
人工皮革およびその製造方法ならびに雑貨
28日前
東芝ライフスタイル株式会社
洗濯機
3か月前
セイコーエプソン株式会社
記録装置
3か月前
東芝ライフスタイル株式会社
洗濯機
19日前
続きを見る
他の特許を見る