TOP
|
特許
|
意匠
|
商標
特許ウォッチ
Twitter
他の特許を見る
公開番号
2025127136
公報種別
公開特許公報(A)
公開日
2025-09-01
出願番号
2024023672
出願日
2024-02-20
発明の名称
メールシステムおよび中継装置
出願人
サクサ株式会社
代理人
個人
主分類
H04L
51/212 20220101AFI20250825BHJP(電気通信技術)
要約
【課題】同報メールのうち部外メールのみがメール処理装置で一時保留される場合でも、部外メールと部内メールの送達状況を一致させる。
【解決手段】部内ユーザと部外ユーザの両方を宛先に含む同報メールが情報端末20から送信要求された場合、メール処理装置30が部外メールを保留するとともに、中継装置10が、部内メールに関する情報端末への転送制限を設定し、メール処理装置30において部外メールの保留が解除されたと判断した場合に、保留が解除された部外メールに対応する部内メールに関する転送制限を解除する。
【選択図】 図1
特許請求の範囲
【請求項1】
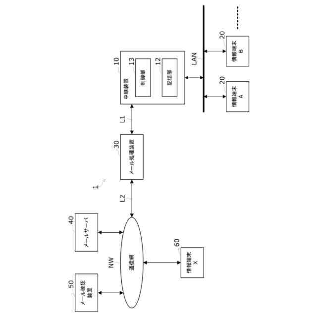
所定のグループに属する部内ユーザがやり取りするメールを処理し、メールサーバに対してメールの送信要求を行うように構成されたメール処理装置と、
配下に接続された前記部内ユーザの情報端末からのメールの送受信要求を、前記メール処理装置へ中継転送し、前記メール処理装置から配信されたメールを前記情報端末へ中継転送するように構成された中継装置と
を備え、
前記メール処理装置は、
前記中継装置から前記部内ユーザと前記部内ユーザ以外の部外ユーザを宛先に含む同報メールが送信要求された場合に、
前記部外ユーザ宛の部外メールについては前記メールサーバへの送信要求を保留して、前記同報メールの送信元ユーザからの指示に応じて、前記メールサーバへの送信要求の保留を解除するように構成され、
前記中継装置は、
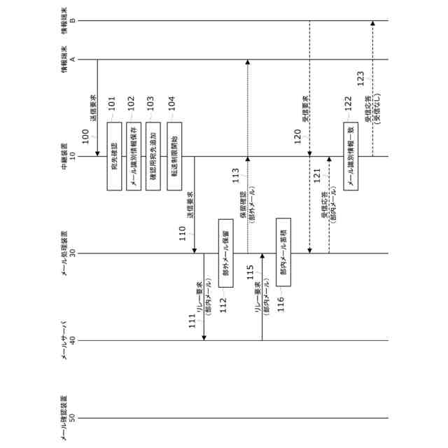
前記情報端末から前記同報メールが送信要求された場合に、前記部内ユーザ宛の部内メールの前記情報端末への転送制限を設定し、
前記部外メールの前記保留が解除されたと判断した場合に、前記保留が解除された前記部外メールに対応する前記部内メールの前記転送制限を解除するように構成されている
ことを特徴とするメールシステム。
続きを表示(約 460 文字)
【請求項2】
前記中継装置は、
前記情報端末から前記同報メールが送信要求された場合に、所定の部外ユーザの宛先を追加した前記同報メールの送信要求を、前記メール処理装置に送信し、
前記所定の部外ユーザの宛先に前記同報メールが送信されたことに基づいて、前記部外メールの前記保留が解除されたと判断するように構成されている
請求項1に記載のメールシステム。
【請求項3】
前記中継装置は、
前記情報端末への転送制限が設定された前記部内メールの識別情報を保存し、前記メール処理装置から送信されたメールの識別情報が、保存された前記識別情報と一致する場合には、当該メールを前記情報端末へ中継転送しないように構成されている
請求項1に記載のメールシステム。
【請求項4】
前記中継装置は、
前記情報端末への転送制限を開始した後、所定の時間が経過した場合に、前記部内メールの前記転送制限を解除するように構成されている
請求項1に記載のメールシステム。
発明の詳細な説明
【技術分野】
【0001】
本発明は、送信要求されたメールを一時保留するメール保留技術に関する。
続きを表示(約 2,000 文字)
【背景技術】
【0002】
会社や組織などの所定のグループに属するユーザがやり取りするメールを処理するメールシステムには、グループに属する部内ユーザから送信要求された、部内ユーザ以外の部外ユーザ宛のメールを一時保留して、当該メールを通信網上のメールサーバにリレー要求(送信要求)する前に、送信先メールアドレス、添付ファイルなどの誤りを、送信元ユーザが再確認できるような機能を有するものがある。
【0003】
例えば、特許文献1には、部外ユーザ宛の部外メールを一時保留し、その部外メールを送信元ユーザにのみ返送してその内容を再確認させるように構成したメールシステムが提案されている。これにより、送信元ユーザは、自分宛の受信メールと同様にして、返送された部外メールの内容を再確認でき、誤りがなければメールシステムに対して送信を指示すればよく、誤りがあれば送信をキャンセルして、訂正したメールを新たに送信することができる。
【先行技術文献】
【特許文献】
【0004】
特開2005-277976号公報
【発明の概要】
【発明が解決しようとする課題】
【0005】
特許文献1に記載のメール保留技術が適用されたメールシステムでは、部外ユーザ宛の部外メールについては一時保留されるが、部内ユーザ宛の部内メールについては保留されない。これは、部内メールの送信頻度が高いため、メール保留に要する処理や記憶領域が膨大となり、メールシステム全体のコスト増大の原因となるからである。
一方、ユーザが送信するメールには、送信先として複数の異なるメールアドレスが設定された同報メールがある。この際、メールの宛先として部外ユーザだけでなく部内ユーザを含むことも可能である。
【0006】
したがって、前述の特許文献1に記載のメール保留技術が適用されたメールシステムによれば、宛先として部外ユーザと部内ユーザの両方を含む同報メールの場合、部外ユーザ宛の部外メールについては一時保留される。しかし、部内ユーザ宛の部内メールについては保留されずに即時送信されることになり、部外メールと部内メールとでメール保留処理の不一致が発生するという問題点があった。
【0007】
このため、送信元ユーザが内容メール確認後に誤りが見つかったためそのメールの送信をキャンセルした場合、部外メールについてはキャンセルされるものの、部内ユーザに対しては誤りを含む部内メールが拡散されてしまうことになる。また、誤りがなくても、部外メールより先に部内メールが配信されるため、部外メールと部内メールとで送達タイミングにずれが生じ、同報メールの宛先となる部外ユーザと部内ユーザとの間で食い違いなどのトラブルが発生する原因となる場合がある。
【0008】
本発明はこのような課題を解決するためのものであり、同報メールのうち部外メールのみがメール処理装置で一時保留される場合でも、部外メールと部内メールの送達状況を一致させることができるメールシステムを提供することを目的としている。
【課題を解決するための手段】
【0009】
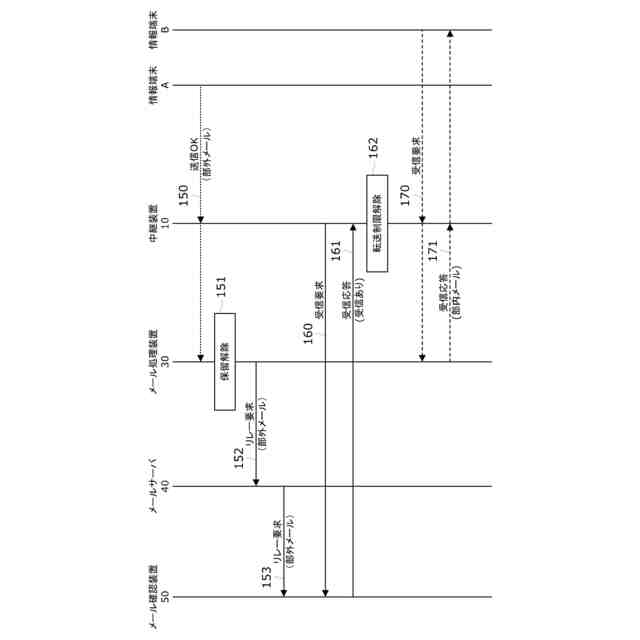
このような目的を達成するために、本発明にかかるメールシステムは、所定のグループに属する部内ユーザがやり取りするメールを処理し、メールサーバに対してメールの送信要求を行うように構成されたメール処理装置と、配下に接続された前記部内ユーザの情報端末からのメールの送受信要求を、前記メール処理装置へ中継転送し、前記メール処理装置から配信されたメールを前記情報端末へ中継転送するように構成された中継装置とを備え、前記メール処理装置は、前記中継装置から前記部内ユーザと前記部内ユーザ以外の部外ユーザを宛先に含む同報メールが送信要求された場合に、前記部外ユーザ宛の部外メールについては前記メールサーバへの送信要求を保留して、前記同報メールの送信元ユーザからの指示に応じて、前記メールサーバへの送信要求の保留を解除するように構成され、前記中継装置は、前記情報端末から前記同報メールが送信要求された場合に、前記部内ユーザ宛の部内メールの前記情報端末への転送制限を設定し、前記部外メールの前記保留が解除されたと判断した場合に、前記保留が解除された前記部外メールに対応する前記部内メールの前記転送制限を解除するように構成されている。
【0010】
また、上記メールシステムの一構成例では、前記中継装置は、前記情報端末から前記同報メールが送信要求された場合に、所定の部外ユーザの宛先を追加した前記同報メールの送信要求を、前記メール処理装置に送信し、前記所定の部外ユーザの宛先に前記同報メールが送信されたことに基づいて、前記部外メールの前記保留が解除されたと判断するように構成されている。
(【0011】以降は省略されています)
この特許をJ-PlatPat(特許庁公式サイト)で参照する
関連特許
サクサ株式会社
中継装置
24日前
サクサ株式会社
中継装置
23日前
サクサ株式会社
中継装置
1か月前
サクサ株式会社
無線システム
22日前
サクサ株式会社
無線通信装置
23日前
サクサ株式会社
無線通信装置
23日前
サクサ株式会社
電池の固定構造
22日前
サクサ株式会社
開き角度規制構造
22日前
サクサ株式会社
管理装置及び管理方法
15日前
サクサ株式会社
通信装置及びプログラム
4日前
サクサ株式会社
選曲装置及び選曲プログラム
22日前
サクサ株式会社
クッキー終端処理プログラム及び中継装置
22日前
個人
イヤーマフ
8日前
個人
監視カメラシステム
17日前
個人
スイッチシステム
2日前
キーコム株式会社
光伝送線路
18日前
サクサ株式会社
中継装置
24日前
WHISMR合同会社
収音装置
1か月前
サクサ株式会社
中継装置
23日前
個人
スキャン式車載用撮像装置
17日前
キヤノン株式会社
撮像装置
2か月前
アイホン株式会社
電気機器
1か月前
サクサ株式会社
無線通信装置
23日前
株式会社リコー
画像形成装置
2か月前
キヤノン電子株式会社
画像読取装置
1か月前
ヤマハ株式会社
放音制御装置
2日前
個人
映像表示装置、及びARグラス
3日前
株式会社リコー
画像形成装置
10日前
キヤノン電子株式会社
画像読取装置
2日前
株式会社リコー
画像形成装置
2か月前
キヤノン電子株式会社
画像読取装置
16日前
個人
ワイヤレスイヤホン対応耳掛け
1か月前
サクサ株式会社
無線通信装置
23日前
サクサ株式会社
無線システム
22日前
ブラザー工業株式会社
読取装置
2か月前
個人
発信機及び発信方法
22日前
続きを見る
他の特許を見る