TOP
|
特許
|
意匠
|
商標
特許ウォッチ
Twitter
他の特許を見る
公開番号
2025115487
公報種別
公開特許公報(A)
公開日
2025-08-07
出願番号
2024009959
出願日
2024-01-26
発明の名称
雨水取水装置
出願人
学校法人金井学園
,
デンカ株式会社
代理人
個人
,
個人
,
個人
主分類
E03B
3/03 20060101AFI20250731BHJP(上水;下水)
要約
【課題】簡便な構造で、初期雨水を確実に排除することができ、初期雨水を収容する配管部に、ゴミの蓄積を少なくできる雨水取水装置を提供する。
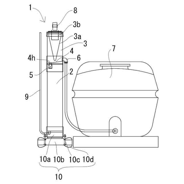
【解決手段】初期雨水配管部2を備えた雨水取水装置1であって、初期雨水配管部2の上部に、フィルター配管部3を備え、フィルター配管部3の底部4に初期雨水配管部2への逆止弁5を設置した、雨水取水装置である。フィルター配管部3の底部4より上に、取水口6を設けて、初期雨水配管部2が満水になると、フィルターを通過した雨水は初期雨水配管部2に入ることなく、取水口6より雨水貯留タンク7に給水されるようにすることが好ましい。
【選択図】図1
特許請求の範囲
【請求項1】
初期雨水配管部を備えた雨水取水装置であって、前記初期雨水配管部の上部に、フィルター配管部を備え、前記フィルター配管部の底部に初期雨水配管部への逆止弁を設置した、雨水取水装置。
続きを表示(約 580 文字)
【請求項2】
前記フィルター配管部の底部に、初期雨水を排水する底部孔を設けて、前記底部孔に前記逆止弁を設置した、請求項1に記載の雨水取水装置。
【請求項3】
前記底部孔及び前記逆止弁を、前記フィルター配管部の底部の中央からずらした位置に設置した、請求項2に記載の雨水取水装置。
【請求項4】
前記フィルター配管部には、固形ゴミをろ過する複数のフィルターを設置し、前記複数のフィルターのうちの下部のフィルターからの雨水が前記逆止弁に直接当たらないように構成した、請求項3に記載の雨水取水装置。
【請求項5】
前記フィルター配管部の底部に、前記初期雨水を排水する底部孔に向けて下降する傾斜をつけて、沈殿物を前記底部孔に流出する構造とした、請求項2に記載の雨水取水装置。
【請求項6】
前記初期雨水配管部の容量を、屋根面積に応じて設定する、請求項1に記載の雨水取水装置。
【請求項7】
前記雨水取水装置は、初期雨水配管部と雨水貯留タンクを備え、前記フィルター配管部の底部より上に、取水口を設けて、前記初期雨水配管部が満水になると、フィルターを通過した雨水は前記初期雨水配管部に入ることなく、前記取水口より前記雨水貯留タンクに給水される、請求項1~6のいずれか1項に記載の雨水取水装置。
発明の詳細な説明
【技術分野】
【0001】
本発明は、初期雨水配管部を備えた雨水取水装置に関する。
続きを表示(約 3,600 文字)
【背景技術】
【0002】
初期雨水排除手段と、初期雨水が排除された雨水を貯留するタンクを備えた雨水収集装置(雨水貯水装置)において、初期雨水排除手段の上部にフィルターを備えたものは、公知である(特許文献1及び2参照)。
【0003】
特許文献1には、「少なくとも、取水開始からの所定量の初期雨水を排除する初期雨水排除手段と、前記初期雨水が排除された雨水を貯留する貯水部を具備する雨水収集装置において、前記貯水部の底部に設けた初期雨水排出口部と、この初期雨水排出口部から流出する初期雨水を収容可能な所定の容積を有し、かつ流入する初期雨水の流量よりも少ない排水流量を設定可能な排水孔を有する初期雨水収容桝部と、少なくとも前記初期雨水収容桝部を初期雨水が満たした後に前記初期雨水排除口部を閉じる弁機構部とを有する初期雨水排除手段を備えることを特徴とする雨水収集装置。」(請求項1)、「前記貯水部は、流入する雨水が通過する際に当該雨水中の異物を除去するための着脱可能な一又は二以上のフィルタを備え、二以上のフィルタはそれぞれ異なるメッシュを設定することを特徴とする請求項1記載の雨水収集装置。」(請求項2)、「前記貯水部は、前記初期雨水排除手段を配設した基礎タンクと、この基礎タンクに所定水量の雨水が満たされ、かつ当該雨水がオーバフロー口から溢れたなら、溢れた雨水を貯留する貯留タンクを備えることを特徴とする請求項1記載の雨水収集装置。」(請求項4)が記載されている。
【0004】
また、特許文献1には、「基礎タンク3oの内部空間上部には、流入する雨水We,Wを通過させることにより当該雨水We,W中の異物Fx…を除去するための着脱可能な三つのフィルタ11a,11b,11cを配設する。・・・したがって、フィルタ11a…は、任意の数量及び種別を選定できるとともに、タンク本体部21の上端から取出可能なため、清掃やメンテナンスを容易に行うことができる。また、各フィルタ11a,11b…にそれぞれ異なるメッシュを設定するため、フィルタ11aにより大ゴミFxを、フィルタ11bにより中ゴミFmを、フィルタ11cにより小ゴミFsをそれぞれ除去できるなど、雨水We,Wに混入する大小様々な異物Fx…を有効かつ確実に除去できる利点がある。」(段落[0030]~[0031])と記載されている。
【0005】
特許文献2には、「本発明は、屋根面などに降る雨のうち、降雨初期時の屋根面の汚れなどを含んだ初期雨水を除去し、初期雨水後の通常雨水だけを貯水槽に貯水するようにした雨水貯水装置および雨水貯水方法に関する。」(段落[0001])と記載されている。
また、「すなわち、同装置の作用を、本発明の雨水貯水方法と共に説明すれば、今、降雨が始るとする。」(段落[0042])、「すると、落下してくる雨は、集水面1で受け止められ、樋11を経て、集水管10へ集水される。この降雨初期時の雨水が、受水器6内へ、上方の導入部9から、フィルター9aを通過して、流れ込む。そして、雨水がフィルター9aを通過する際に、雨水に混じった砂や石などの異物が取り除かれる。」(段落[0043])、「ここで、開放している排水口20は、導入部9の通路径より小さいから、流れ込む初期雨水は、図2および図4に示されるように一部が排水口20から外部に排水されながら残りが受水器6内に貯溜される。・・・そして、排水口20が完全に閉止され、受水器6内の雨水が、分岐管12の開口の下縁部に達すると、その下縁部を越える逃げ場のない雨水、すなわち初期雨水に続く通常雨水が、受水器6の水面沿いに、分岐管12から流れ出て、受水槽2内に貯水される。」(段落[0044]~[0048])と記載されている。
【0006】
初期雨水タンクと、初期雨水が排除された雨水を貯留するタンクを備えた雨水取水装置において、初期雨水が排除された雨水をタンクに貯留する場合、初期雨水タンクへの雨水の流入路を閉鎖する手段を設けることも公知である(特許文献3及び4参照)。
【0007】
特許文献3には、「本発明は、竪樋を流下する雨水を、屋根に積もったゴミ等を多量に含む初期雨水とそれ以外の雨水とに分離する雨水分離装置である。この雨水分離装置では、まず初期雨水を初期雨水タンクに貯めていき、初期雨水タンクが満水になれば、初期雨水タンクへの雨水の流入路を閉鎖して、雨水を雨水タンクへ導入する。本発明に係る雨水分離装置は、初期雨水の一部のみを初期雨水タンクに貯める構造とすることで、所定の降水量となるまでに初期雨水タンクに貯める雨水の量を従来構造よりも減らした。これにより、屋根面積が大きい建造物など、初期雨水が多い建造物に設置した場合でも、初期雨水タンクの大型化を抑制できる。」(段落[0011])と記載されている。
【0008】
また、特許文献3には、「次に、雨水分離装置100の動作について、図3を参照して説明する。」、「雨水分離装置100へ雨水の流入がなく、初期雨水タンク130が空の場合、図3の(a)に示すように、フロート160は、フロート本体160aがタンク部130aの底面に接しているため、止水弁は開いた状態にある。」、「雨が降り出すと、雨水取入口110aから黒矢印で示すように雨水が流入し、排水管110を流下した雨水の一部が、雨水取込み部130bから初期雨水タンク130に貯まり始め、それ以外の雨水は、初期雨水タンク130の外周壁と排水管110の内周壁との間の隙間を通って雨水排出口110bから排出される。雨水が初期雨水タンク130に貯まり、初期雨水タンク130内の水位が上昇すると、図3の(b)に示すように、水位の上昇に伴ってフロート160とともに弁体150が上昇する。」、「初期雨水タンク130に貯まった雨水が、初期雨水貯水量に達していない場合には、図3の(b)に示すように、弁体150が弁座140まで上昇しないため、弁体150が弁座140に当接せず止水弁は閉鎖されない。このため、雨水は、取水管120に導入されることなく、排水管110を流下する。」、「降雨が続き、初期雨水タンク130に貯まった雨水の量が初期雨水貯水量に達すると、図3の(c)に示すように、弁体150が弁座140へ当接する。弁体150が弁座140に当接することで止水弁は閉鎖される。止水弁が閉鎖されることにより、排水管110を流下する雨水は、弁座140よりも下方に流下することができずに取水管120へ導入される。このため、取水管120に接続された雨水タンク(図示せず)には、初期雨水を含まないゴミ等の少ない雨水が導入される。」(段落[0025]~[0029])と記載されている。
【0009】
特許文献4には、「一端が直接または間接的に軒樋に接続され、雨水を流す雨水管路と、この雨水管路の他端側に接続され、雨水を貯留する雨水タンクとを有する雨水貯留システムにおいて、前記雨水管路途中に設けられた分岐部と、この分岐部に接続され、降雨時初期の雨水を流入させる初期雨水タンクと、この初期雨水タンクに所定量雨水が流入した後は、前記雨水タンクの方向に雨水が流れるように制御する制御手段と、前記分岐部から前記雨水タンクまでの前記雨水管路途中に設けられたフィルターとを有することを特徴とする雨水貯留システム。」(請求項1)が記載されている。
【0010】
また、特許文献4には、「以上のように構成されている雨水貯留システム1について、雨水貯留機能を説明する。降雨時には、図3(a)に示すように、縦樋102から第1水平管33に初期の雨水R1が流れ込む。ここで、第2水平管34の内径と分岐管36の内径は同径である。したがって、初期の雨水R1は、第1水平管33に近い方に位置する分岐管36へ流れていき、初期雨水タンク4内に溜められる。さらに、その後の雨水R1も、分岐管36を介して初期雨水タンク4内に溜められる。このとき、初期雨水タンク4内のフロート43は、雨水R1の液面が上昇するのに伴って上昇する。」、「そして、図3(b)に示すように、初期雨水タンク4内の雨水R1が満杯になると、フロート43は、初期雨水タンク4と分岐管36との接続口4a(図3(a)参照)を塞ぐ。したがって、これ以降に第1水平管33に流れ込む雨水R2は第2水平管34へ流れていき、フィルター105を通って雨水タンク104内に溜められる。」(段落[0018]~[0019]参照)と記載されている。
【先行技術文献】
【特許文献】
(【0011】以降は省略されています)
この特許をJ-PlatPat(特許庁公式サイト)で参照する
関連特許
学校法人金井学園
雨水取水装置
2か月前
国立大学法人大阪大学
加熱装置
10か月前
学校法人金井学園
壁面への物品の固定構造及び壁面固定フレーム
2か月前
学校法人金井学園
雨水取水装置
2か月前
国立大学法人大阪大学
反応器、分離装置、処理装置、膜反応器、反応方法、および水素分離方法
3か月前
TOTO株式会社
トイレ装置
今日
個人
ドクター中まミズつクル
18日前
株式会社KVK
水栓
1か月前
TOTO株式会社
便座装置
27日前
株式会社KVK
水栓
1か月前
タイガースポリマー株式会社
側溝
27日前
株式会社KVK
水栓
1か月前
TOTO株式会社
トイレ装置
27日前
TOTO株式会社
トイレ装置
27日前
TOTO株式会社
トイレ装置
27日前
株式会社タカギ
水栓装置
2か月前
ホーコス株式会社
床置型グリース阻集器
27日前
TOTO株式会社
浴室床
2か月前
TOTO株式会社
洗面器及び洗面台
1か月前
TOTO株式会社
洗面器及び洗面台
1か月前
TOTO株式会社
洗い場床
2か月前
三興建設株式会社
下水道バイパス装置
1か月前
TOTO株式会社
トイレ装置
2か月前
TOTO株式会社
排水管継手
1か月前
TOTO株式会社
排水管継手
1か月前
TOTO株式会社
トイレ装置
2か月前
株式会社LIXIL
便器装置
6日前
株式会社LIXIL
便器装置
28日前
TOTO株式会社
トイレシステム
1か月前
株式会社タカギ
水栓
4日前
株式会社タカギ
水栓
4日前
積水化学工業株式会社
継手
27日前
新明和工業株式会社
吸引車
11日前
アクアインテック株式会社
モールド
2か月前
株式会社タカギ
吐水装置
4日前
株式会社タブチ
防水パン
1か月前
続きを見る
他の特許を見る