TOP
|
特許
|
意匠
|
商標
特許ウォッチ
Twitter
他の特許を見る
公開番号
2025112436
公報種別
公開特許公報(A)
公開日
2025-08-01
出願番号
2024006649
出願日
2024-01-19
発明の名称
点滴用輸液チューブの保持具
出願人
国立大学法人 岡山大学
,
タキゲン製造株式会社
代理人
個人
主分類
A61M
5/14 20060101AFI20250725BHJP(医学または獣医学;衛生学)
要約
【課題】複数の輸液チューブを絡まりなく並列させてベッド周辺の支持体に保持できる簡易な保持具を提供する。
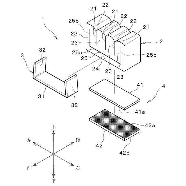
【解決手段】保持具1は、概略直方体状発泡プラスチック製の基体2、これにはめ込み固定される弾性合成樹脂製の補強部材3、基体2をベッド周辺の支持体に保持するための固定部材4を具備する。基体2は、発泡プラスチック製で、輸液チューブ103を挟持するための複数のスリット21、スリット21への輸液チューブ103の挿入を案内するための複数のガイド溝22、スリット21の両側で輸液チューブ103を弾性的に挟み込むための複数の挟持部23、補強部材3をはめ込むための切り込み24を具備する。固定部材4は、第1及び第2の面ファスナ41,42からなる。
【選択図】図2
特許請求の範囲
【請求項1】
患者につながる点滴チューブが、多連三方活栓の各活栓につながる複数の輸液チューブを介して複数の輸液ポンプ又はシリンジポンプに接続される医療用輸液セットにおいて、前記複数の輸液チューブを並列させてベッド周辺の支持体に保持するための点滴用輸液チューブの保持具であって、
前後、左右、上下の側面を有する概略直方体状の発泡プラスチック成形体からなる基体と、
前記基体内にはめ込み固定される弾性合成樹脂製の補強部材と、
前記基体を前記支持体に保持するための固定部材とを具備し、
前記基体は、左右方向に所定の相互間隔を置いて平行に並び上面から下面に向かって上下高さの1/2を越える終端位置まで延びる複数のスリットと、当該スリットの上端に沿って上方に開いて前後方向に延びる複数の断面概略V字状のガイド溝と、前記スリットにより左右が画定され下部において連続部により互いに接続される複数の挟持部と、前記連続部を前後面に貫通して下面と平行に左右に延びる横切り込み部と当該横切り込みの両端から直角上方に屈曲して左右両端の前記挟持部内を延びる縦切り込み部とからなる切り込みとを具備し、
前記補強部材は、前記横切り込み部に嵌め込まれる底板部と、当該底板部の左右両端に屈曲して連続し前記縦切り込み部に嵌め込まれる一対の起立板部とを具備する弾性合成樹脂製の屈曲板材からなり、
前記各スリット内に、輸液を阻害することなく前記輸液チューブを挟持可能に設けられることを特徴とする点滴用輸液チューブの保持具。
続きを表示(約 380 文字)
【請求項2】
前記補強部材の一対の起立板部は、自然状態において内向きに傾斜して前記底板部から延出し、相互間が拡開されて前記切り込みに挿入された後、復元により前記複数の挟持部間を弾性的に締め付けるように設けられることを特徴とする請求項1に記載の点滴用輸液チューブの保持具。
【請求項3】
前記固定部材は、係着部を下方に向けて前記基体の下面に接着される第1の面ファスナと、上面の係着部が当該第1の面ファスナに剥脱可能に係着され下面に前記支持体へ接着される粘着剤層が形成された第2の面ファスナとを具備することを特徴とする請求項1に記載の点滴用輸液チューブの保持具。
【請求項4】
前記基体は、ポリエチレン樹脂を基材とした独立気泡体で構成されることを特徴とする請求項1ないし3のいずれかに記載の点滴用輸液チューブの保持具。
発明の詳細な説明
【技術分野】
【0001】
本発明は、患者につながる点滴チューブが、多連三方活栓と、これにつながる複数の輸液チューブを介して複数の輸液ポンプ又はシリンジポンプに接続される医療用輸液セットにおいて、多連三方活栓と輸液ポンプ又はシリンジポンプとの間において、複数の輸液チューブを並列させて、絡まりなくベッド柵のようなベッド周辺の支持体に保持するための点滴用輸液チューブの保持具に関する。
続きを表示(約 2,200 文字)
【背景技術】
【0002】
従来、医療用輸液システムにおいては、薬剤別の複数の輸液ポンプ又はシリンジポンプに各々接続された複数の輸液チューブが、多連三方活栓を介して患者につながる点滴チューブに接続される。このような輸液システムにおいては、複数の輸液チューブが複雑に絡まることで、輸液チューブ内を通る薬剤の識別、確認が困難となり、薬剤別輸液チューブの迅速で正確な交換に支障をきたしている。この問題を解決するため、帯状体に一定間隔に複数の留め具を設け、それらの留め具を留めてできる各通路の中に輸液チューブを通すことで各輸液チューブを並列するように固定する輸液チューブの固定ベルトが特許文献1に提案されている。
また、1人の患者に対して複数の薬液の点滴注射がなされる場合において、患者の動作や点滴器具の交換操作を阻害しないように、点滴チューブの絡み合いを防止する点滴チューブ保持具が特許文献2に提案されている。この点滴チューブ保持具は、固定部材を介して点滴スタンドに取り付けられるもので、患者からは離れた位置にあり、患者付近の点滴チューブの混雑に対応するものではない。
【先行技術文献】
【特許文献】
【0003】
特開2007-289595号公報
特開2011-98067
【発明の概要】
【発明が解決しようとする課題】
【0004】
本発明は、複数の輸液ポンプやシリンジポンプと多連三方活栓との間において、複数の輸液チューブを絡まりなく並列させてベッド周辺の支持体に保持することができる簡易で取り扱い容易な保持具を提供することを課題とする。
【課題を解決するための手段】
【0005】
以下の説明において添付図面の符号を参照するが、本発明はこれに限定されるものではない。
上記課題を解決するための、本発明の保持具1は、前後、左右、上下の側面を有する概略直方体状の発泡プラスチック成形体からなる基体2と、当該基体2内にはめ込み固定される弾性合成樹脂製の補強部材3と、基体2をベッド柵等のベッド周辺の支持体106に保持するための固定部材4とを具備する。基体2は、左右方向に所定の相互間隔を置いて平行に並び上面から下面に向かって上下高さの1/2を越える終端位置まで延びる複数のスリット21と、当該スリット21の上端に沿って上方に開いて前後方向に延びる複数の断面概略V字状のガイド溝22と、スリット21により左右が画定され下部において連続部24により互いに接続される複数の挟持部23と、補強部材3をはめ込むための、概略上向きコ字状の切り込み25とを具備する。切り込み25は、連続部24を前後面に貫通して下面と平行に左右に延びる横切り込み部25aと、当該横切り込み25aの両端から直角上方に屈曲して左右両端に位置する挟持部23内を延びる縦切り込み部25bとからなる。補強部材3は、屈曲した板材であり、横切り込み部25aに嵌め込まれる底板部31と、底板部31の左右両端に屈曲して連続し縦切り込み部25bに嵌め込まれる一対の起立板部32とを具備する。各スリット21内には、輸液を阻害することなく輸液チューブ103を挟持することができる。
【発明の効果】
【0006】
本発明によれば、複数の輸液ポンプやシリンジポンプと多連三方活栓との間において、複数の輸液チューブを絡まりなく並列させてベッド周辺の支持体に保持することができる。チューブの着脱は容易であり、絡まりの解除やチューブの交換を短時間で行える。構造が簡易で安価に提供できるので、点滴終了後、チューブ一式と共に廃棄できる。
【図面の簡単な説明】
【0007】
本発明に係る点滴チューブの保持具を適用した一般的な点滴セットを示す概略的平面図である。
図1の保持具の分解斜視図である。
図1の保持具の正面図であり、(a)は自然状態、(b)は輸液チューブを保持した状態を示す。
図1の保持具の側面図である。
【発明を実施するための形態】
【0008】
図面を参照して本発明の実施の形態を説明する。
図1に、本発明に係る点滴チューブの保持具1を適用した一般的な点滴セットを示す。複数のシリンジポンプ101又は輸液ポンプ102からは、輸液チューブ103が延び、多連三方活栓104の各活栓に接続される。多連三方活栓104から、患者側へ点滴チューブ105が延びている。保持具1は、輸液チューブ103の延長途中で、多連三方活栓104に近い位置に介設され、ベッド柵等の患者のベッド付近の支持体106上に固定される。
【0009】
図2に示すように、保持具1は、前後、左右、上下の側面を有する概略直方体状の基体2と、当該基体2内にはめ込み固定される弾性合成樹脂製の補強部材3と、基体2を支持体106上に保持するための固定部材4とを具備する。
【0010】
基体2は、発泡プラスチック成形体で、輸液チューブ103を挟持するための複数のスリット21、スリット21への輸液チューブ103の挿入を案内するための複数のガイド溝22、スリット21の両側で輸液チューブ103を弾性的に挟み込むための複数の挟持部23、補強部材3をはめ込むための切り込み24を具備する。
(【0011】以降は省略されています)
この特許をJ-PlatPat(特許庁公式サイト)で参照する
関連特許
国立大学法人 岡山大学
化合物の薬効の予測方法
11日前
国立大学法人神戸大学
サーマルサーキットシステム
1か月前
国立大学法人 岡山大学
点滴用輸液チューブの保持具
3か月前
NTT株式会社
解析装置および解析方法
1か月前
国立大学法人 岡山大学
二酸化炭素輸送活性を有するアクアポリン
1か月前
横浜ゴム株式会社
高分子微粒子集合体の製造法
1か月前
大和ハウス工業株式会社
照射装置及び生成物の製造方法
5か月前
国立大学法人 岡山大学
ポリイミドフィルムを用いた積層体、その製造方法及びその用途
5か月前
太陽油脂株式会社
糖代謝異常改善用油脂及び腸内環境改善用油脂
5か月前
国立大学法人 岡山大学
IRE1αのS-ニトロシル化阻害剤およびそのスクリーニング方法
26日前
国立大学法人 岡山大学
六フッ化硫黄を分解するための触媒組成物及び六フッ化硫黄の分解方法
8か月前
国立大学法人 岡山大学
バイオフィルム除去剤
2か月前
国立大学法人 岡山大学
組織再生用材料及びその製造方法
6か月前
日本ケミコン株式会社
固体電解コンデンサ用モノマー、固体電解コンデンサ及び製造方法
9日前
国立大学法人 岡山大学
超音波診断装置、出力方法、及びプログラム
1か月前
ナガセヴィータ株式会社
プルラン誘導体を含有する増粘剤、及び、これを含んでなる化粧品
8か月前
国立大学法人 岡山大学
植物生育調節剤、植物生育調節方法、植物生育調節用装置、植物生育調節用システム及び植物生育調節用キット
4か月前
オンコリスバイオファーマ株式会社
ウイルスを含む抗癌関連非腫瘍細胞剤
1か月前
国立大学法人 岡山大学
RNAメチルトランスフェラーゼ阻害剤、そのスクリーニング方法、抗がん剤有効性判定マーカー、及びFTSJ1阻害剤の有効性予測のためのキット
5か月前
個人
貼付剤
6日前
個人
短下肢装具
3か月前
個人
洗井間専家。
7か月前
個人
前腕誘導装置
3か月前
個人
嚥下鍛錬装置
3か月前
個人
排尿補助器具
19日前
個人
ホバーアイロン
6か月前
個人
矯正椅子
5か月前
個人
汚れ防止シート
1か月前
個人
腰ベルト
9日前
個人
胸骨圧迫補助具
1か月前
個人
歯の修復用材料
4か月前
個人
バッグ式オムツ
4か月前
個人
アイマスク装置
2か月前
個人
ウォート指圧法
17日前
個人
湿布連続貼り機。
2か月前
個人
歯の保護用シール
5か月前
続きを見る
他の特許を見る