TOP
|
特許
|
意匠
|
商標
特許ウォッチ
Twitter
他の特許を見る
公開番号
2025084159
公報種別
公開特許公報(A)
公開日
2025-06-03
出願番号
2023197814
出願日
2023-11-22
発明の名称
照射装置及び生成物の製造方法
出願人
大和ハウス工業株式会社
,
国立大学法人 岡山大学
代理人
個人
,
個人
主分類
B01J
19/12 20060101AFI20250527BHJP(物理的または化学的方法または装置一般)
要約
【課題】反応物に対して好適に光を照射することができる照射装置及び生成物の製造方法を提供する。
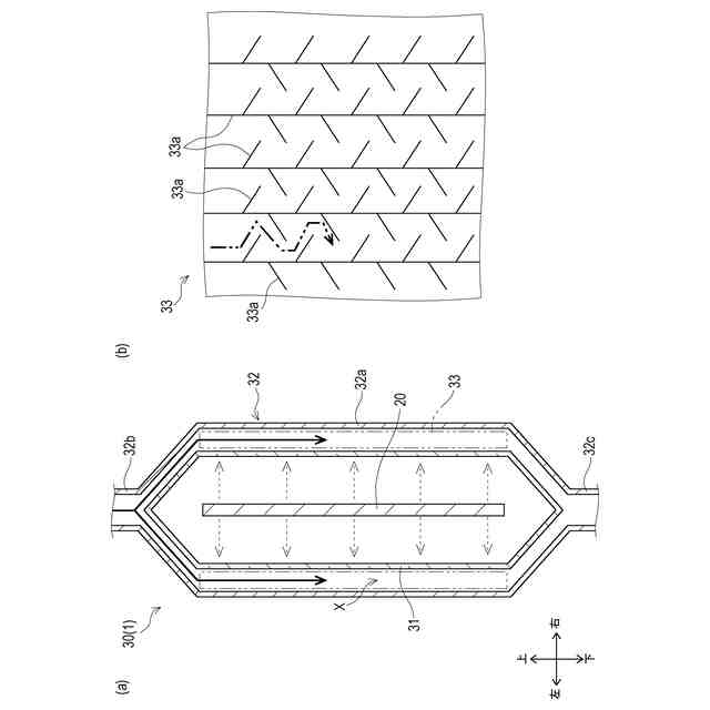
【解決手段】ゼオライト触媒2に対して光を照射して、ゼオライト触媒2を反応させる照射装置1であって、光を照射する光源20と、光源20からの光を透過可能な透明壁31と、透明壁31との間においてゼオライト触媒2を流通させる流路Xを形成可能に形成された反射壁32と、を具備する。
【選択図】図1
特許請求の範囲
【請求項1】
反応物に対して光を照射して、前記反応物を反応させる照射装置であって、
前記光を照射する光源と、
前記光源からの光を透過可能な第一壁と、
前記第一壁との間において前記反応物を流通させる流路を形成可能に形成された第二壁と、
を具備する照射装置。
続きを表示(約 960 文字)
【請求項2】
前記第二壁は、
前記第一壁を透過した光を反射可能である、
請求項1に記載の照射装置。
【請求項3】
前記流路内を流通する前記反応物を、複数の方向に動かす動作付与手段を具備する、
請求項1に記載の照射装置。
【請求項4】
前記動作付与手段は、
前記流路内において、前記反応物の流通方向を変化させるための壁部を含む、
請求項3に記載の照射装置。
【請求項5】
前記動作付与手段は、
前記流路における前記反応物の流通方向下流側から、前記流路内にガスを導入するガス導入路と、
前記流路における前記反応物の流通方向上流側から、前記ガス導入路によって導入された前記流路内のガスを排出するガス排出路と、
を含む、
請求項3に記載の照射装置。
【請求項6】
前記動作付与手段は、
前記第一壁及び前記第二壁のうちの少なくとも一方を振動させる振動機を含む、
請求項3に記載の照射装置。
【請求項7】
前記第一壁は、
筒形状に形成されており、
前記第二壁は、
筒形状に形成されていると共に、前記第一壁の外側又は内側に配置されている、
請求項1に記載の照射装置。
【請求項8】
前記光源は、
前記第一壁の内側に配置され、
前記第二壁は、
前記第一壁の外側に配置される、
請求項7に記載の照射装置。
【請求項9】
前記光源は、
前記第一壁の外側に配置され、
前記第二壁は、
前記第一壁の内側に配置され、
前記第一壁の外側に配置され、前記光源からの光を反射可能な第三壁を具備する、
請求項7に記載の照射装置。
【請求項10】
前記第一壁及び前記第二壁は、軸線方向を水平方向に向けて配置され、
前記水平方向に向く回転軸回りに、前記第一壁及び前記第二壁のうちの一方を回転させることで、前記反応物を流通させる回転手段を具備する、
請求項7に記載の照射装置。
(【請求項11】以降は省略されています)
発明の詳細な説明
【技術分野】
【0001】
本発明は、反応物に光を照射する照射装置及び生成物の製造方法の技術に関する。
続きを表示(約 990 文字)
【背景技術】
【0002】
従来、光を照射することで、反応物を反応させる技術は公知となっている。上記反応物としては、例えば特許文献1に記載されているような、粒状のゼオライト触媒が知られている。
【0003】
上記ゼオライト触媒は、光が照射されることで活性化する。ゼオライト触媒に光を照射させる方法としては、例えばシャーレ等の容器に入れたゼオライト触媒に対して、上方から光を照射する方法が考えられる。
【0004】
しかしながら、上記方法では、容器内でゼオライト触媒が積層することが想定される。このため、表層側のゼオライト触媒によって光が遮られるため、表層側以外のゼオライト触媒に光を照射することが困難となる場合がある。ゼオライト触媒が積層しないように大型の容器内でゼオライト触媒を広げることも考えられるが、この場合は広いスペースを確保する必要があり、多くのゼオライト触媒に対して満遍なく光を照射することが困難となる。
【先行技術文献】
【特許文献】
【0005】
特開2022-3013号公報
【発明の概要】
【発明が解決しようとする課題】
【0006】
本発明は以上の如き状況に鑑みてなされたものであり、その解決しようとする課題は、反応物に対して好適に光を照射することができる照射装置及び生成物の製造方法を提供することである。
【課題を解決するための手段】
【0007】
本発明の解決しようとする課題は以上の如くであり、次にこの課題を解決するための手段を説明する。
【0008】
即ち、請求項1においては、反応物に対して光を照射して、前記反応物を反応させる照射装置であって、前記光を照射する光源と、前記光源からの光を透過可能な第一壁と、前記第一壁との間において前記反応物を流通させる流路を形成可能に形成された第二壁と、を具備するものである。
【0009】
請求項2においては、前記第二壁は、前記第一壁を透過した光を反射可能であるものである。
【0010】
請求項3においては、前記流路内を流通する前記反応物を、複数の方向に動かす動作付与手段を具備するものである。
(【0011】以降は省略されています)
特許ウォッチbot のツイートを見る
この特許をJ-PlatPat(特許庁公式サイト)で参照する
関連特許
株式会社西部技研
除湿装置
19日前
株式会社日本触媒
ドロー溶質
13日前
サンノプコ株式会社
消泡剤
11日前
東レ株式会社
遠心ポッティング方法
5日前
個人
気液混合装置
11日前
大和ハウス工業株式会社
反応装置
26日前
松岡紙業 株式会社
油吸着体の製造方法
13日前
大陽日酸株式会社
CO2の回収方法
28日前
株式会社フクハラ
圧縮空気圧回路ユニット
11日前
本田技研工業株式会社
ガス回収装置
28日前
富士電機株式会社
ガス処理システム
8日前
株式会社明電舎
成膜装置
8日前
日本化薬株式会社
直鎖ブテン製造用触媒及びその使用
5日前
本田技研工業株式会社
二酸化炭素回収装置
21日前
本田技研工業株式会社
二酸化炭素回収装置
26日前
本田技研工業株式会社
二酸化炭素回収装置
26日前
本田技研工業株式会社
二酸化炭素回収装置
26日前
本田技研工業株式会社
二酸化炭素回収装置
28日前
ノリタケ株式会社
触媒材料およびその利用
26日前
本田技研工業株式会社
二酸化炭素回収装置
1か月前
ノリタケ株式会社
触媒材料およびその利用
26日前
ノリタケ株式会社
触媒材料およびその利用
26日前
本田技研工業株式会社
二酸化炭素回収装置
26日前
いであ株式会社
PFAS除去用バイオ炭の製造方法
今日
日東電工株式会社
吸着材
1か月前
Planet Savers株式会社
気体濃縮装置
28日前
株式会社プロテリアル
触媒複合物および触媒前駆体複合物
27日前
東京応化工業株式会社
ろ過処理方法、及び多孔質膜
26日前
個人
フッ化炭素糸物にフッ素をコーティングした浄水手段
11日前
三浦工業株式会社
撹拌装置
8日前
TPR株式会社
多孔質ブリーザ
26日前
日本碍子株式会社
電気加熱式担体
25日前
新甲エンジニアリング株式会社
使用済フロン再生装置
29日前
JFEエンジニアリング株式会社
二酸化炭素回収方法
28日前
JFEエンジニアリング株式会社
二酸化炭素回収方法
11日前
日本碍子株式会社
電気加熱式担体
26日前
続きを見る
他の特許を見る