TOP
|
特許
|
意匠
|
商標
特許ウォッチ
Twitter
他の特許を見る
10個以上の画像は省略されています。
公開番号
2025089904
公報種別
公開特許公報(A)
公開日
2025-06-16
出願番号
2023204872
出願日
2023-12-04
発明の名称
二酸化炭素回収装置
出願人
株式会社大気社
代理人
弁理士法人大塚国際特許事務所
主分類
B01D
53/18 20060101AFI20250609BHJP(物理的または化学的方法または装置一般)
要約
【課題】吸収剤の性質によらず、二酸化炭素の回収能力に優れた技術を提供すること。
【解決手段】処理槽の内部で、気体と吸収液を接触させることにより、気体に含まれる二酸化炭素を吸収液に吸収させる吸収処理と、吸収処理された吸収液から二酸化炭素を脱離させる脱離処理と、を交互に行うことが可能な二酸化炭素回収装置は、処理槽に貯留されている、吸収液内において固形物の生成を抑制する抑制装置を備える。
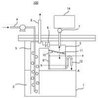
【選択図】図1
特許請求の範囲
【請求項1】
処理槽の内部で、気体と吸収液を接触させることにより、前記気体に含まれる二酸化炭素を前記吸収液に吸収させる吸収処理と、前記吸収処理された前記吸収液から前記二酸化炭素を脱離させる脱離処理と、を交互に行うことが可能な二酸化炭素回収装置であって、
前記処理槽に貯留されている、前記吸収液内において固形物の生成を抑制する抑制手段を備える
ことを特徴とする二酸化炭素回収装置。
続きを表示(約 1,400 文字)
【請求項2】
前記吸収液は、吸収剤と、溶媒とを含み、
前記吸収剤は、二酸化炭素を吸収することが可能なアミン系化合物を含み、
前記溶媒は、水、アルコール類、イオン性液体、極性溶媒のうち少なくとも一つを含む、
ことを特徴とする請求項1に記載の二酸化炭素回収装置。
【請求項3】
前記抑制手段は、
前記処理槽に貯留されている前記吸収液を攪拌する攪拌手段と、
超音波振動を前記貯留されている前記吸収液内に発生させる手段と、
前記貯留されている前記吸収液内に水流を発生させる水流発生手段と、
前記貯留されている前記吸収液に、界面活性剤を投入する投入手段と、
前記吸収液から前記固形物を遠心分離する遠心分離手段と、
前記処理槽内に貯留されている前記吸収液の液面に対して、傾斜して設置されている固液分離膜と、
前記処理槽の側面視において、前記処理槽の下方に向かって中央部が傾斜するように形成された多孔体分離層と、のうち、少なくともいずれか一つを含むことを特徴とする請求項1に記載の二酸化炭素回収装置。
【請求項4】
前記固液分離膜は、
無終端のベルト状に形成されており、
前記固液分離膜の側面視上側が前記処理槽に貯留されている前記吸収液の液面より上方に位置し、前記固液分離膜の側面視下側が前記吸収液に接触するように設置されていることを特徴とする請求項3に記載の二酸化炭素回収装置。
【請求項5】
前記固液分離膜は、駆動源により回転する駆動プーリと、従動プーリとに装着されており、
前記固液分離膜の側面視上側と、前記固液分離膜の側面視下側とは、前記吸収処理または前記脱離処理の実行に合わせて切り替えられる
ことを特徴とする請求項4に記載の二酸化炭素回収装置。
【請求項6】
前記多孔体分離層は、前記処理槽の径方向に所定の厚みで形成されていることを特徴とする請求項3に記載の二酸化炭素回収装置。
【請求項7】
前記多孔体分離層は、前記処理槽の内部に設けられた昇降手段によって、鉛直方向に昇降可能に保持されており、
前記多孔体分離層の保持位置は、前記吸収処理または前記脱離処理の実行に合わせて切り替えられることを特徴とする請求項3に記載の二酸化炭素回収装置。
【請求項8】
前記多孔体分離層は、前記吸収処理を実行する場合に、前記多孔体分離層の前記中央部が、前記処理槽に貯留されている前記吸収液の液面より上方に位置するように保持され、前記脱離処理を実行する場合に、前記多孔体分離層の前記中央部が前記吸収液に接触するように保持されていることを特徴とする請求項7に記載の二酸化炭素回収装置。
【請求項9】
前記吸収処理を実行する場合に、第1のポンプの動作により前記処理槽から圧送された前記吸収液を所定の温度に冷却する冷却手段と、
前記冷却手段により冷却された前記吸収液を前記処理槽に戻す冷却液供給手段と、を更に備える
ことを特徴とする請求項1に記載の二酸化炭素回収装置。
【請求項10】
前記冷却手段は、チラーと熱交換器とを含み、
前記チラーの動作により、前記熱交換器を介して前記吸収液は冷却されることを特徴とする請求項9に記載の二酸化炭素回収装置。
(【請求項11】以降は省略されています)
発明の詳細な説明
【技術分野】
【0001】
開示の技術は二酸化炭素回収装置に関する。
続きを表示(約 1,200 文字)
【背景技術】
【0002】
地球温暖化を抑制する観点で、空気等の気体から二酸化炭素を回収する技術が注目されている。二酸化炭素の吸収剤として、大気のような薄い濃度の二酸化炭素と反応する吸収剤や、二酸化炭素の吸収速度の向上や脱離温度の低下を目指した吸収剤など、吸収剤について種々の研究が進められている。
【0003】
吸収剤の中には二酸化炭素を吸収すると、特異な性質を示すものもあり、例えば、水溶液中から固形物が析出するものや相分離(水相・油相)をするもの、親水性がなくアルコールに溶けるものなど多岐にわたる性質がある。
【0004】
特許文献1には、吸収兼再生塔において、ガス状二酸化炭素を、二酸化炭素リーン吸収液に反応吸収させ、二酸化炭素リッチ吸収液を得る吸収工程と、二酸化炭素リッチ吸収液を加熱することにより脱離した二酸化炭素を回収すると共に、二酸化炭素リーン吸収液を得る再生工程とを、交互に繰り返す二酸化炭素の回収技術が開示されている。
【先行技術文献】
【特許文献】
【0005】
特開2022-67388号公報
【発明の概要】
【発明が解決しようとする課題】
【0006】
しかしながら、特許文献1の技術では、装置の稼働を停止して、再生及び吸収を行わない静置状態で二酸化炭素リッチ吸収液を保管した場合には、吸収液の種類によっては、二酸化炭素との反応が進み、二酸化炭素リッチ吸収液から生成された固形物の沈降や凝集が装置内で生成し得る。装置の通水管内での固形物の沈降や沈殿は、通水管内径の減少による流路の狭小化や、通水管の閉塞などの原因となり、円滑な二酸化炭素の回収に支障が生じ得る。
【0007】
すなわち、既存の技術を利用して二酸化炭素を回収した場合に、上記のような吸収剤の特異な性質に対応できていないため、二酸化炭素の回収能力の低下が生じ得る。
【0008】
上記の課題を鑑みて、開示の技術は、吸収剤の性質によらず、二酸化炭素の回収能力に優れた技術の提供を目的とする。そして、本発明の一つの側面は、持続可能な環境の改善および発展に寄与する技術を提供する。
【課題を解決するための手段】
【0009】
本発明の一態様の二酸化炭素回収装置は、処理槽の内部で、気体と吸収液を接触させることにより、前記気体に含まれる二酸化炭素を前記吸収液に吸収させる吸収処理と、前記吸収処理された前記吸収液から前記二酸化炭素を脱離させる脱離処理と、を交互に行うことが可能な二酸化炭素回収装置であって、
前記処理槽に貯留されている、前記吸収液内において固形物の生成を抑制する抑制手段を備える。
【発明の効果】
【0010】
本発明によれば、吸収剤の性質によらず、二酸化炭素の回収能力に優れた技術を提供することができる。
【図面の簡単な説明】
(【0011】以降は省略されています)
この特許をJ-PlatPat(特許庁公式サイト)で参照する
関連特許
他の特許を見る