TOP
|
特許
|
意匠
|
商標
特許ウォッチ
Twitter
他の特許を見る
10個以上の画像は省略されています。
公開番号
2025108858
公報種別
公開特許公報(A)
公開日
2025-07-24
出願番号
2024002322
出願日
2024-01-11
発明の名称
量子デバイス及び量子デバイスの制御方法
出願人
富士通株式会社
代理人
個人
,
個人
主分類
H10N
60/12 20230101AFI20250716BHJP()
要約
【課題】マヨラナ粒子を操作することができる量子デバイス及び量子デバイスの制御方法を提供する。
【解決手段】量子デバイスは、高次トポロジカル絶縁体層と、超伝導体層と、複数の圧電素子と、を有し、前記高次トポロジカル絶縁体層は、互いに平行な第1面及び第2面と、前記第2面と交わり、前記第2面よりも前記第1面側に位置する第3面と、前記第3面と交わり、前記第1面及び前記第2面と平行な第4面と、を有し、前記超伝導体層は、前記第3面を含む平面と前記第1面との交線上に形成され、前記複数の圧電素子は、前記高次トポロジカル絶縁体層に、前記交線と直交する方向の成分を含む応力を印加するように配置されている。量子デバイスは、例えば量子コンピューティングに使用できる。
【選択図】図1
特許請求の範囲
【請求項1】
高次トポロジカル絶縁体層と、
超伝導体層と、
複数の圧電素子と、
を有し、
前記高次トポロジカル絶縁体層は、
互いに平行な第1面及び第2面と、
前記第2面と交わり、前記第2面よりも前記第1面側に位置する第3面と、
前記第3面と交わり、前記第1面及び前記第2面と平行な第4面と、
を有し、
前記超伝導体層は、前記第3面を含む平面と前記第1面との交線上に形成され、
前記複数の圧電素子は、前記高次トポロジカル絶縁体層に、前記交線と直交する方向の成分を含む応力を印加するように配置されていることを特徴とする量子デバイス。
続きを表示(約 930 文字)
【請求項2】
前記圧電素子毎に1対の電極が設けられていることを特徴とする請求項1に記載の量子デバイス。
【請求項3】
前記第3面は、前記第2面と直角に交わることを特徴とする請求項1又は2に記載の量子デバイス。
【請求項4】
前記第4面は、前記第3面と直角に交わることを特徴とする請求項1又は2に記載の量子デバイス。
【請求項5】
前記高次トポロジカル絶縁体層は、多層WTe
2
層又は多層MoTe
2
層を含むことを特徴とする請求項1又は2に記載の量子デバイス。
【請求項6】
前記第2面と前記第3面との交線は、WTe
2
又はMoTe
2
のa軸に平行であることを特徴とする請求項5に記載の量子デバイス。
【請求項7】
前記高次トポロジカル絶縁体層は、多層Bi層を含むことを特徴とする請求項1又は2に記載の量子デバイス。
【請求項8】
前記第2面と前記第3面との交線は、Biの[111]軸に平行であることを特徴とする請求項7に記載の量子デバイス。
【請求項9】
高次トポロジカル絶縁体層と、
超伝導体層と、
複数の圧電素子と、
を有する量子デバイスの制御方法であって、
前記高次トポロジカル絶縁体層は、
互いに平行な第1面及び第2面と、
前記第2面と交わり、前記第2面よりも前記第1面側に位置する第3面と、
前記第3面と交わり、前記第1面及び前記第2面と平行な第4面と、
を有し、
前記超伝導体層は、前記第3面を含む平面と前記第1面との交線上に形成され、
前記複数の圧電素子は、前記高次トポロジカル絶縁体層に、前記交線と直交する方向の成分を含む応力を印加するように配置されており、
前記複数の圧電素子について前記高次トポロジカル絶縁体層に印加される応力を制御することで、前記交線上に発現する一次元伝導チャネルの長さを制御する工程を有することを特徴とする量子デバイスの制御方法。
発明の詳細な説明
【技術分野】
【0001】
本開示は、量子デバイス及び量子デバイスの制御方法に関する。
続きを表示(約 2,800 文字)
【背景技術】
【0002】
マヨラナ粒子を用いた量子演算装置についての研究が行われている。マヨラナ粒子を発生させる構造として、二次元トポロジカル絶縁体とs波超伝導体とを組み合わせた構造が提案されている。また、二次元トポロジカル絶縁体とs波超伝導体とを含む量子デバイスの制御にあたっては、磁場を用いてマヨラナ粒子を操作する方法が提案されている。
【先行技術文献】
【特許文献】
【0003】
特開2013-247267号公報
国際公開第2022/137421号
米国特許出願公開第2014/0221059号明細書
米国特許出願公開第2017/0141287号明細書
国際公開第2023/223531号
【非特許文献】
【0004】
Z. Wang et al., Phys. Rev. Lett. 123, 186401 (2019)
Y.-B. Choi et al., Nat. Mater. 19, 974 (2020)
A. Sekine et al., J. Appl. Phys. 134, 165707 (2023)
【発明の概要】
【発明が解決しようとする課題】
【0005】
マヨラナ粒子の操作の際に磁場を用いるとs波超伝導体の超伝導状態が変化し得る。また、磁場が、マヨラナ粒子の状態の読み出しに用いられる共振器等に影響を及ぼすおそれもある。
【0006】
本開示の目的は、マヨラナ粒子を操作することができる量子デバイス及び量子デバイスの制御方法を提供することにある。
【課題を解決するための手段】
【0007】
本開示の一形態によれば、高次トポロジカル絶縁体層と、超伝導体層と、複数の圧電素子と、を有し、前記高次トポロジカル絶縁体層は、互いに平行な第1面及び第2面と、前記第2面と交わり、前記第2面よりも前記第1面側に位置する第3面と、前記第3面と交わり、前記第1面及び前記第2面と平行な第4面と、を有し、前記超伝導体層は、前記第3面を含む平面と前記第1面との交線上に形成され、前記複数の圧電素子は、前記高次トポロジカル絶縁体層に、前記交線と直交する方向の成分を含む応力を印加するように配置されている量子デバイスが提供される。
【発明の効果】
【0008】
本開示によれば、圧電素子を用いてマヨラナ粒子を操作することができる。
【図面の簡単な説明】
【0009】
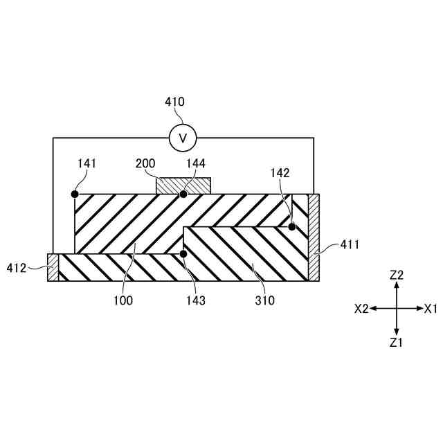
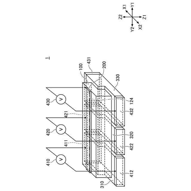
図1は、第1実施形態に係る量子デバイスを示す斜視図である。
図2は、第1実施形態における高次トポロジカル絶縁体層を示す斜視図である。
図3は、高次トポロジカル絶縁体層に作用する圧縮応力の分布を示す図(その1)である。
図4は、高次トポロジカル絶縁体層に作用する圧縮応力の分布を示す図(その2)である。
図5は、高次トポロジカル絶縁体層に作用する圧縮応力の分布を示す図(その3)である。
図6は、第1状態における一次元伝導チャネルの位置を示す断面図(その1)である。
図7は、第1状態における一次元伝導チャネルの位置を示す断面図(その2)である。
図8は、第1状態における一次元伝導チャネルの位置を示す断面図(その3)である。
図9は、第1状態における交線上の一次元伝導チャネルの状態を示す図である。
図10は、第2状態における一次元伝導チャネルの位置を示す断面図(その1)である。
図11は、第2状態における一次元伝導チャネルの位置を示す断面図(その2)である。
図12は、第2状態における一次元伝導チャネルの位置を示す断面図(その3)である。
図13は、第2状態における交線上の一次元伝導チャネルの状態を示す図である。
図14は、第3状態における一次元伝導チャネルの位置を示す断面図(その1)である。
図15は、第3状態における一次元伝導チャネルの位置を示す断面図(その2)である。
図16は、第3状態における一次元伝導チャネルの位置を示す断面図(その3)である。
図17は、第3状態における交線上の一次元伝導チャネルの状態を示す図である。
図18は、一次元伝導チャネルについての計算で用いるモデルを示す図(その1)である。
図19は、高次トポロジカル絶縁体層についての計算の結果を示す図(その1)である。
図20は、高次トポロジカル絶縁体層についての計算の結果を示す図(その2)である。
図21は、一次元伝導チャネルについての計算で用いるモデルを示す図(その2)である。
図22は、第2実施形態に係る量子デバイスを示す斜視図である。
図23は、量子演算の一例の概要を示す模式図である。
図24は、マヨラナ粒子の位置の遷移の一例を示す図(その1)である。
図25は、マヨラナ粒子の位置の遷移の一例を示す図(その2)である。
図26は、マヨラナ粒子の位置の遷移の一例を示す図(その3)である。
図27は、アダマールゲートに相当する量子演算の概要を示す模式図である。
図28は、マヨラナ粒子の位置の遷移の他の一例を示す図(その1)である。
図29は、マヨラナ粒子の位置の遷移の他の一例を示す図(その2)である。
図30は、マヨラナ粒子の位置の遷移の他の一例を示す図(その3)である。
図31は、マヨラナ粒子の位置の遷移の他の一例を示す図(その4)である。
図32は、マヨラナ粒子の位置の遷移の他の一例を示す図(その5)である。
図33は、第3実施形態に係る量子演算装置を示す図である。
【発明を実施するための形態】
【0010】
以下、本開示の実施形態について添付の図面を参照しながら具体的に説明する。なお、本明細書及び図面において、実質的に同一の機能構成を有する構成要素については、同一の符号を付することにより重複した説明を省くことがある。本開示においては、X1-X2方向、Y1-Y2方向、Z1-Z2方向を相互に直交する方向とする。X1-X2方向及びY1-Y2方向を含む面をXY面と記載し、Y1-Y2方向及びZ1-Z2方向を含む面をYZ面と記載し、Z1-Z2方向及びX1-X2方向を含む面をZX面と記載する。なお、便宜上、Z1-Z2方向を上下方向とし、Z1側を上側、Z2側を下側とする。また、平面視とは、Z1側から対象物を視ることをいい、平面形状とは、対象物をZ1側から視た形状のことをいう。
(【0011】以降は省略されています)
この特許をJ-PlatPat(特許庁公式サイト)で参照する
関連特許
富士通株式会社
半導体装置
1日前
富士通株式会社
行列演算回路
11日前
富士通株式会社
周波数変換器
14日前
富士通株式会社
メッシュ微細化
2日前
富士通株式会社
半導体デバイス
1日前
富士通株式会社
演算器及び演算方法
2日前
富士通株式会社
ハイブリッド光増幅器
1か月前
富士通株式会社
冷却装置及び電子機器
11日前
富士通株式会社
アレイアンテナモジュール
3日前
富士通株式会社
電子機器筐体及び電子機器
今日
富士通株式会社
光送信器及び光トランシーバ
今日
富士通株式会社
通信制御装置及び移動中継装置
8日前
富士通株式会社
演算処理装置及び演算処理方法
22日前
富士通株式会社
基板及びこれを備えた電子装置
3日前
富士通株式会社
動的多次元メディアコンテンツ投影
21日前
富士通株式会社
異常予測方法および異常予測プログラム
21日前
富士通株式会社
管理装置、管理方法、および管理プログラム
9日前
富士通株式会社
演算システムおよび演算システムの制御方法
29日前
富士通株式会社
生成人工知能を使用したデータセット符号化
1か月前
富士通株式会社
予測プログラム、予測方法および情報処理装置
23日前
富士通株式会社
シストリック型の演算アレイ装置及び制御方法
23日前
富士通株式会社
プログラム、情報処理方法および情報処理装置
7日前
富士通株式会社
推定プログラム、推定方法および情報処理装置
1か月前
富士通株式会社
交通シミュレーションのための方法および装置
21日前
富士通株式会社
画像を記述する構造化テキストを生成する方法
1か月前
富士通株式会社
制御プログラム、制御方法、および情報処理装置
9日前
富士通株式会社
出張情報受付方法および出張情報受付プログラム
今日
富士通株式会社
演算装置、情報処理装置及び演算装置の制御方法
23日前
富士通株式会社
キャッシュ装置およびキャッシュ装置の制御方法
1日前
富士通株式会社
プログラム、データ処理装置及びデータ処理方法
1日前
富士通株式会社
探索プログラム、探索方法、および情報処理装置
今日
富士通株式会社
情報出力プログラム、情報出力方法及び情報処理装置
今日
富士通株式会社
光送信機アナログ特性の監視装置と方法及び光送信機
1か月前
富士通株式会社
レース内容再現方法およびレース内容再現プログラム
1か月前
富士通株式会社
情報処理プログラム、情報処理装置及び情報処理方法
29日前
富士通株式会社
チェックプログラム、チェック方法及び情報処理装置
今日
続きを見る
他の特許を見る