TOP
|
特許
|
意匠
|
商標
特許ウォッチ
Twitter
他の特許を見る
10個以上の画像は省略されています。
公開番号
2025089180
公報種別
公開特許公報(A)
公開日
2025-06-12
出願番号
2023204238
出願日
2023-12-01
発明の名称
移動体
出願人
株式会社ブリヂストン
代理人
弁理士法人太陽国際特許事務所
主分類
F03G
3/00 20060101AFI20250605BHJP(液体用機械または機関;風力原動機,ばね原動機,重力原動機;他類に属さない機械動力または反動推進力を発生するもの)
要約
【課題】本開示は、流体圧アクチュエータを用いる移動体に関する技術の提供を目的とする。
【解決手段】基幹部材18と、長手方向の片端が基幹部材18に取り付けられて並ぶ複数の湾曲型流体圧アクチュエータとを有する駆動ユニット80と、複数の湾曲型流体圧アクチュエータに流体を供給する供給部16と、供給部16から湾曲型流体圧アクチュエータに供給される流体の圧力を変化させて複数の湾曲型流体圧アクチュエータの形状を制御する制御部14と、を備える移動体10であって、制御部14は、複数の湾曲型流体圧アクチュエータを変形させて、基幹部材18の重心Gを進行方向Fに移動させる。
【選択図】図1
特許請求の範囲
【請求項1】
基幹部材と、長手方向の片端が前記基幹部材に取り付けられ、前記基幹部材に放射状に配置された複数の湾曲型流体圧アクチュエータとを有する駆動ユニットと、
前記複数の湾曲型流体圧アクチュエータに流体を供給する供給部と、
前記供給部から前記湾曲型流体圧アクチュエータに供給される流体の圧力を変化させて前記複数の湾曲型流体圧アクチュエータの形状を制御する制御部と、
を備える移動体であって、
前記制御部は、前記複数の湾曲型流体圧アクチュエータを変形させて、前記基幹部材の重心を進行方向に移動させる、
移動体。
続きを表示(約 1,000 文字)
【請求項2】
前記制御部は、前記複数の前記湾曲型流体圧アクチュエータのうち、前記基幹部材に対して下側に位置するとともに前記進行方向の側にある第一の前記湾曲型流体圧アクチュエータを、前記進行方向とは反対側に向けて湾曲変形させることで前記基幹部材の重心を前記第一の前記湾曲型流体圧アクチュエータの前記片端よりも前記進行方向に移動させて、前記基幹部材を前記進行方向に向かって回転させる回転モードを実行する、
請求項1に記載の、移動体。
【請求項3】
前記制御部は、前記複数の前記湾曲型流体圧アクチュエータのうち、地面に接するとともに前記基幹部材の重心よりも前記進行方向の側にある第一の前記湾曲型流体圧アクチュエータ及び、地面に接するとともに前記基幹部材の重心よりも前記進行方向とは反対側にある第二の前記湾曲型流体圧アクチュエータを、前記進行方向の側から前記反対側に向けて湾曲変形させることで、前記第一の前記湾曲型流体圧アクチュエータ及び、前記第二の前記湾曲型流体圧アクチュエータを、地面から離しながら、前記基幹部材を前記進行方向に向けて移動させる跳躍モードを実行する、
請求項1に記載の、移動体。
【請求項4】
前記制御部は、前記複数の前記湾曲型流体圧アクチュエータのうち、地面に接する第一の前記湾曲型流体圧アクチュエータを、地面に留めながら前記進行方向とは反対側に向けて湾曲変形させる第一の変形手順と、前記第一の前記湾曲型流体圧アクチュエータを、地面を滑らせながら前記進行方向の側に向けて湾曲変形させる第二の変形手順とを実行して、前記基幹部材を前記進行方向に向かって移動させる歩行モードを実行する、
請求項1に記載の、移動体。
【請求項5】
前記複数の湾曲型流体圧アクチュエータは、前記基幹部材の中心から前記片端とは反対側の端までの長さがいずれも等しい、
請求項1から請求項4のいずれか一項に記載の、移動体。
【請求項6】
前記複数の湾曲型流体圧アクチュエータは、隣り合う湾曲型流体圧アクチュエータとの間隔がいずれも等しい、
請求項5に記載の、移動体。
【請求項7】
前記進行方向及び前記複数の湾曲型流体圧アクチュエータが並ぶ方向と直交する方向に並ぶ複数の駆動ユニットを備える、
請求項6に記載の、移動体。
発明の詳細な説明
【技術分野】
【0001】
本開示は、移動体に関する。
続きを表示(約 1,600 文字)
【背景技術】
【0002】
特許文献1には、軸方向に直交する方向に可変な流体圧アクチュエータと、前記流体圧アクチュエータを取り付ける、取り付け基部と、を備え、前記流体の圧力を付与しない状態において、前記流体圧アクチュエータは、前記取り付け基部にて、前記流体圧アクチュエータの湾曲方向外側に傾斜させて固定されているロボットハンドが開示されている。
【先行技術文献】
【特許文献】
【0003】
特開2023-131052号公報
【発明の概要】
【発明が解決しようとする課題】
【0004】
本開示は、流体圧アクチュエータを用いる移動体に関する技術の提供を目的とする。
【課題を解決するための手段】
【0005】
第一態様の移動体は、基幹部材と、長手方向の片端が前記基幹部材に取り付けられ、前記基幹部材に放射状に配置された複数の湾曲型流体圧アクチュエータとを有する駆動ユニットと、前記複数の湾曲型流体圧アクチュエータに流体を供給する供給部と、前記供給部から前記湾曲型流体圧アクチュエータに供給される流体の圧力を変化させて前記複数の湾曲型流体圧アクチュエータの形状を制御する制御部と、を備える移動体であって、前記制御部は、前記複数の湾曲型流体圧アクチュエータを変形させて、前記基幹部材の重心を進行方向に移動させる。
【0006】
この態様に係る移動体は、制御部が、基幹部材に放射状に配置された複数の湾曲型流体圧アクチュエータを変形させて、基幹部材の重心を進行方向に移動させる。これにより、この態様に係る移動体によれば、流体圧アクチュエータを用いる移動体が得られる。
【0007】
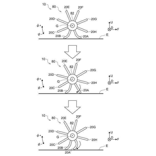
第二態様の移動体は、第一態様に記載の移動体において、前記制御部は、前記複数の前記湾曲型流体圧アクチュエータのうち、前記基幹部材に対して下側に位置するとともに前記進行方向の側にある第一の前記湾曲型流体圧アクチュエータを、前記進行方向とは反対側に向けて湾曲変形させることで前記基幹部材の重心を前記第一の前記湾曲型流体圧アクチュエータの前記片端よりも前記進行方向に移動させて、前記基幹部材を前記進行方向に向かって回転させる回転モードを実行する。
【0008】
この態様に係る移動体は、制御部が、基幹部材の重心を湾曲型流体圧アクチュエータの前記片端よりも前記進行方向に移動させて、前記基幹部材を前記進行方向に向かって回転させる回転モードを実行する。このため、この態様に係る移動体によれば、進行方向に向けて基幹部材ごと回転しながら移動する移動体が得られる。
【0009】
第三態様の移動体は、第一態様又は第二態様に記載の移動体において、前記制御部は、前記複数の前記湾曲型流体圧アクチュエータのうち、地面に接するとともに前記基幹部材の重心よりも前記進行方向の側にある第一の前記湾曲型流体圧アクチュエータ及び、地面に接するとともに前記基幹部材の重心よりも前記進行方向とは反対側にある第二の前記湾曲型流体圧アクチュエータを、前記進行方向の側から前記反対側に向けて湾曲変形させることで、前記第一の前記湾曲型流体圧アクチュエータ及び、前記第二の前記湾曲型流体圧アクチュエータを、地面から離しながら、前記基幹部材を前記進行方向に向けて移動させる跳躍モードを実行する。
【0010】
この態様に係る移動体は、制御部が、第一の湾曲型流体圧アクチュエータ及び、第二の湾曲型流体圧アクチュエータを、地面から離しながら、基幹部材を進行方向に向けて移動させる跳躍モードを実行する。このため、この態様に係る移動体によれば、進行方向に向けて地面から離れた状態で移動する移動体が得られる。
(【0011】以降は省略されています)
この特許をJ-PlatPat(特許庁公式サイト)で参照する
関連特許
個人
風力発電機
2か月前
個人
風車用回転翼
2か月前
個人
磁力スロープ
1か月前
個人
波力発電装置
2か月前
個人
折り畳み式風車
2か月前
個人
風力発電装置
1か月前
個人
閉空間推進移動装置
1か月前
東レ株式会社
風車ブレード
1か月前
個人
水力発電用水の循環活動
14日前
個人
波受け板を用いた波浪発電装置
6日前
株式会社 林物産発明研究所
発電装置
24日前
株式会社ゲットクリーンエナジー
発電機
1か月前
個人
水車発電と水の循環供給装置
1か月前
三菱電機株式会社
風力発電システム
14日前
株式会社ライトエンジ
推力発生方法
14日前
株式会社リコー
水力発電装置
2か月前
株式会社大林組
リフトアップ装置
25日前
株式会社アイシン
発電装置
1か月前
株式会社アイシン
発電装置
2か月前
株式会社大林組
リフトアップ装置
25日前
個人
波力発電ユニット及び波力発電システム
1か月前
三菱重工業株式会社
風力発電装置
10日前
日本精工株式会社
風力発電装置
3か月前
パナテックス株式会社
発電装置
1か月前
ダイキン工業株式会社
流体機械
5日前
株式会社日本海洋発電
海流発電システム
2か月前
日本精工株式会社
風力発電装置
2か月前
株式会社リアムウィンド
流体発電装置及び流体発電方法
1か月前
株式会社デンソー
熱音響装置
1か月前
華能広西清潔能源有限公司
風力発電機の角度修正方法および修正装置
10日前
個人
暴風・洪水でも折れず、風速・河川流速の増速が出来る風水車羽根装置
10日前
国立大学法人山梨大学
パルスプラズマスラスタ
3か月前
株式会社サンノハシ
風力発電装置
2か月前
大成建設株式会社
浮体式基礎の製作方法
1か月前
個人
羽の回転軌道に接点を持つと共に、羽の回転が同期する、二つの抗力型風車
1か月前
JOP株式会社
発電装置
2か月前
続きを見る
他の特許を見る