TOP
|
特許
|
意匠
|
商標
特許ウォッチ
Twitter
他の特許を見る
10個以上の画像は省略されています。
公開番号
2025064962
公報種別
公開特許公報(A)
公開日
2025-04-17
出願番号
2024157114
出願日
2024-09-11
発明の名称
冷却通路出口開口部断面積の変更によるタービンシステム構成要素冷却剤のリダイレクション
出願人
ゼネラル エレクトリック テクノロジー ゲゼルシャフト ミット ベシュレンクテル ハフツング
,
General Electric Technology GmbH
代理人
個人
,
弁理士法人NIP&SBPJ国際特許事務所
主分類
F01D
5/18 20060101AFI20250410BHJP(機械または機関一般;機関設備一般;蒸気機関)
要約
【課題】冷却通路出口開口部の断面積を標的に変更を行うことにより、タービンシステム構成要素の冷却剤の熱プロファイルに基づいた方向転換を行う。
【解決方法】冷却剤の流れを方向転換するための方法(300)が提供される。方法(300)は、タービンシステム(200)の構成要素(200)の本体(210)の外面(212)上のホットスポットを特定する特定ステップを含む。構成要素(200)の第1のパラメータは、ホットスポットにおける外面(212)の温度が閾値を超えることを示す。別の特定ステップは、外面(212)のクールスポットを特定する。構成要素(200)の第2のパラメータは、クールスポットにおける外面(212)の温度が閾値未満であることを示す。再構成ステップは、冷却剤の一部をクールスポットからホットスポットに導くように、構成要素(200)の複数の冷却通路(202)を再構成する。
【選択図】図6
特許請求の範囲
【請求項1】
タービンシステム(110)の構成要素(200)の本体(210)の外面(212)上のホットスポットを特定するステップであって、構成要素(200)の第1のパラメータが、ホットスポットにおける外面(212)の温度が第1の閾値を超えることを示す、ステップと、
外面(212)上のクールスポットを特定するステップであって、構成要素(200)の第2のパラメータが、クールスポットにおける外面(212)の温度が第2の閾値未満であることを示す、ステップと、
複数の冷却通路(202)を再構成し、冷却剤の一部(242)をクールスポットからホットスポットに導くステップと、を含む、方法(300)。
続きを表示(約 1,400 文字)
【請求項2】
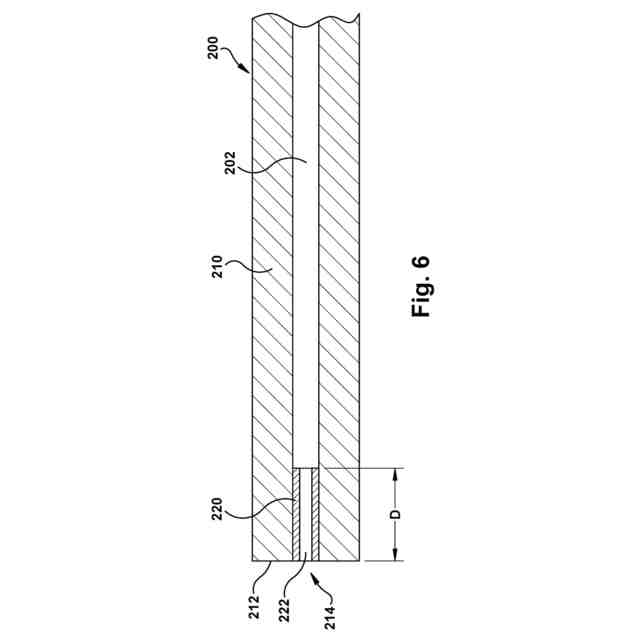
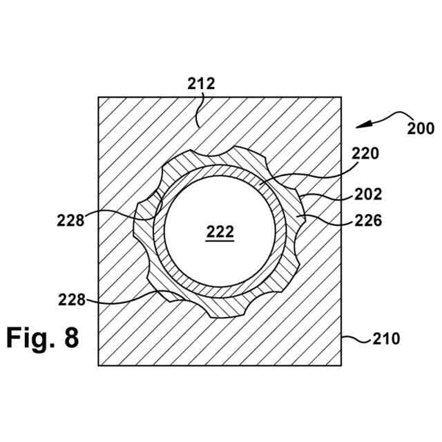
外面(212)は、そこへ延びる複数の冷却通路(202)を含み、各冷却通路(202)が第1の断面積と外面(212)における第1の出口開口(214)とを有し、冷却剤を方向転換することが、クールスポット内のクールスポット冷却通路(202)の断面積を、第1の断面積よりも小さい第2の断面積を有するように変更することを含む、請求項1に記載の方法(300)。
【請求項3】
クールスポット冷却通路(202)の断面積を変更するステップが、クールスポット冷却通路(202)に中空部材(220)を挿入するステップであって、中空部材(220)が第2の断面積を有する、ステップと、中空部材(220)をクールスポット冷却通路(202)に結合するステップとを含む、請求項2に記載の方法(300)。
【請求項4】
中空部材(220)が、外面(212)に第2の断面積を有する第2の出口開口部(222)を画定する、請求項3記載の方法(300)。
【請求項5】
クールスポット冷却通路(202)が、複数の冷却通路(202)の第1のグループを含み、クールスポット冷却通路(202)の断面積を変更するステップは、パターンに従って第1のグループの各クールスポット冷却通路(202)の断面積を変更するステップを含む、請求項2に記載の方法(300)。
【請求項6】
ホットスポットを特定するステップが、タービンシステム(110)の運転後に構成要素(200)の第1のパラメータを測定するステップを含む、請求項1に記載の方法(300)。
【請求項7】
クールスポットを特定するステップは、構成要素(200)の冷却プロファイルを使用するステップを含む、請求項1に記載の方法(300)。
【請求項8】
冷却プロファイルが、複数の冷却通路(202)を通る冷却剤の流れに少なくとも部分的に基づく、請求項7に記載の方法(300)。
【請求項9】
クールスポットを特定するステップが、過剰冷却能力を有するクールスポット冷却通路(202)を特定するステップを含む、請求項1に記載の方法(300)。
【請求項10】
タービンシステム(110)の構成要素(200)の本体(210)の外面(212)の第1の領域を特定するステップであって、第1の領域は、第1の領域が現在受けている冷却よりも多くの冷却を必要とし、第1の領域は、構成要素(200)の本体(210)内に画定され、その外面(212)まで延在する複数の冷却通路(202)のうちの第1の冷却通路(202)を含み、複数の冷却通路(202)の各冷却通路(202)は、第1の断面積と第1の出口開口部(214)とを有し、第1の冷却通路(202)は、第1の冷却通路(202)が現在受け入れているよりも多くの冷却を必要とする、ステップと、
複数の冷却通路(202)のうち、第2の冷却通路(202)が現在必要とするよりも多くの冷却を受ける第2の冷却通路(202)を含む外面(212)の第2の領域を特定するステップと、
冷却通路(202)の1つまたは複数を再構成して、冷却剤の一部を第2の冷却通路(202)から第1の冷却通路(202)に導くステップと、を含む、方法(300)。
(【請求項11】以降は省略されています)
発明の詳細な説明
【技術分野】
【0001】
本開示は、一般にタービンシステム構成要素に関し、より詳細には、過剰な冷却能力を有する構成要素の冷却通路の断面積を減少させることなどにより、構成要素の冷却プロファイルなどの熱プロファイルに基づいて冷却流の方向転換を目標とすることに関する。
続きを表示(約 1,900 文字)
【背景技術】
【0002】
タービンシステムの構成要素(Turbine system components:タービンシステム部品)は、ガスタービンや蒸気タービンのような高温環境での使用中に冷却するために、構成要素本体に冷却剤を供給する冷却通路を含むことが多い。冷却通路は、出口開口部で本体の外面から出る。
【0003】
タービンシステムの構成要素は、熱負荷の結果、あるいは構成要素の設計で使用されたパラメータ以外のパラメータで運転された結果、局所的なホットスポットやコールドスポットが発生することがある。その結果、再現可能な損傷モード(repeatable damage modes)が発生することがあり、この損傷モードは、目視で観察、測定、および/または熱/機械モデリングを使用して予測することができる。冷却システムなど構成要素に変更を加えなければ、損傷モードは再発し、追加修理が必要になることがある。このような損傷モードは、構成要素が設置されたシステムが設計パラメータから大きく外れて運転された場合(いわゆる「オーバーファイヤ:over-firing」または「ピーキング:peaking」)に悪化する可能性があり、過渡現象、サイクル、温度、その他の極端なパラメータ値が増加する可能性がある。その結果、修理コストがさらに増加し、より堅牢な修理能力が必要となったり、修理が不可能な場合は構成要素が廃棄される可能性がある(This can lead to further increased repair costs, the need for more robust repair capability, or even scrapping of components when repair is infeasible)。
【0004】
システムが設計パラメータの範囲内で運転されている場合でも、熱的・機械的解析では損傷モードが過小予測されることがあり、修理工程では新たな損傷や予想以上の損傷に対応しなければならない。このような事態に対処するために修正を導入することができるが、冷却エアフローの割り当てを変更する場合には、実行が困難になることがある。冷却空気流の配分を変更するために使用される方法の一つは、冷却通路の出口開口部のサイズを調整することである。
【0005】
冷却通路の出口開口部の大きさを調整することで、そこを通過する冷却剤の量、および冷却通路によって提供される冷却の量を変えることができる。出口開口部の大きさを変更する現在のプロセスには、冷却通路の出口開口部を完全に充填し、異なる大きさの開口部で出口開口部を再び開けることが含まれる。各出口開口部を充填し、ドリルなどで各出口開口部を個別に再開口する工程は、時間がかかり面倒であり、品質不良につながる。
【発明の概要】
【0006】
以下に述べるすべての側面、例、特徴は、技術的に可能なあらゆる方法で組み合わせることができる。
【0007】
本開示の一態様は、タービンシステムの構成要素の本体の外面上のホットスポットを特定することであって、構成要素の第1のパラメータが、ホットスポットにおける外面の温度が第1の閾値を超えることを示す、特定することと、外面上のクールスポットを特定することであって、構成要素の第2のパラメータが、クールスポットにおける外面の温度が第2の閾値を下回ることを示す、特定することと、クールスポットからホットスポットへ冷却剤の一部を導くように複数の冷却通路を再構成することと、を含む、方法を提供する。
【0008】
本開示の別の態様は、先行する態様のいずれかを含み、外面は、そこに延びる複数の冷却通路を含み、各冷却通路は、第1の断面積および外面の第1の出口開口を有し、冷却剤を方向転換することは、第1の断面積よりも小さい第2の断面積を有するように、クールスポットの冷却通路の断面積を変更することを含む。
【0009】
本開示の別の態様は、先の態様のいずれかを含み、クールスポット冷却通路の断面積を変更することは、クールスポット冷却通路に中空部材を挿入することを含み、中空部材は第2の断面積を有し、中空部材をクールスポット冷却通路に結合する。
【0010】
本開示の別の態様は、先行する態様のいずれかを含み、中空部材は、第2の断面積を有する第2の出口開口を外面に画定する。
(【0011】以降は省略されています)
この特許をJ-PlatPat(特許庁公式サイト)で参照する
関連特許
スズキ株式会社
内燃機関の制御装置
2日前
株式会社SUBARU
排気浄化装置
2日前
トヨタ自動車株式会社
計測システム
1か月前
株式会社豊田自動織機
エンジン式産業車両
1か月前
本田技研工業株式会社
排気装置
1か月前
株式会社三五
ハイブリッド車の排気システム
11日前
本田技研工業株式会社
排気装置
1か月前
本田技研工業株式会社
排気装置
1か月前
トヨタ自動車株式会社
エンジン
2日前
トヨタ自動車株式会社
エンジン
10日前
トヨタ自動車株式会社
エンジン
11日前
株式会社クボタ
多目的車両
1か月前
株式会社クボタ
多目的車両
1か月前
株式会社SUBARU
エンジン制御装置
23日前
トヨタ自動車株式会社
水素エンジン
1か月前
トヨタ自動車株式会社
排気浄化装置
11日前
トヨタ自動車株式会社
異常診断装置
1か月前
トヨタ自動車株式会社
油量判定装置
24日前
トヨタ自動車株式会社
車両装置
2日前
マレリ株式会社
消音器
1か月前
株式会社アイシン
冷却モジュール
23日前
トヨタ自動車株式会社
内燃機関の制御装置
1か月前
日産自動車株式会社
内燃機関
23日前
トヨタ自動車株式会社
内燃機関の制御装置
1か月前
本田技研工業株式会社
冷却液タンク
2日前
トヨタ自動車株式会社
オイルタンク
11日前
三菱重工業株式会社
メタン酸化触媒装置
1か月前
トヨタ自動車株式会社
車両のエンジンルーム構造
1か月前
井関農機株式会社
エンジン
10日前
株式会社豊田自動織機
排気浄化装置
1か月前
株式会社三五
排気浄化装置
10日前
トヨタ自動車株式会社
過給機冷却システム
10日前
トヨタ自動車株式会社
車両の制御装置
1か月前
三菱自動車工業株式会社
オイルパン
1か月前
いすゞ自動車株式会社
排気処理装置
10日前
トヨタ自動車株式会社
冷却システム
1か月前
続きを見る
他の特許を見る