TOP
|
特許
|
意匠
|
商標
特許ウォッチ
Twitter
他の特許を見る
公開番号
2025030550
公報種別
公開特許公報(A)
公開日
2025-03-07
出願番号
2023135939
出願日
2023-08-23
発明の名称
画像形成装置
出願人
キヤノン株式会社
代理人
個人
,
個人
主分類
G03G
15/00 20060101AFI20250228BHJP(写真;映画;光波以外の波を使用する類似技術;電子写真;ホログラフイ)
要約
【課題】画像形成動作の後工程に起因した帯電部材への外添剤などの付着による画像弊害を抑制する。
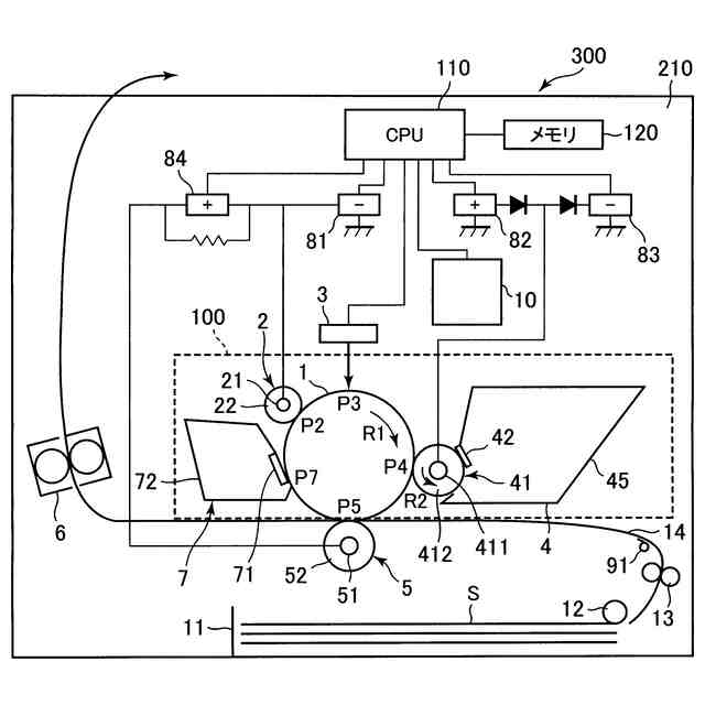
【解決手段】画像形成装置200は、制御部110が、画像形成後に感光体1の回転が停止する前に感光体1の表面を除電する除電動作を実行し、該除電動作において、露光装置3により感光体1の表面を露光して感光体1の表面に露光面を形成し、該露光面が現像部P4を通過している間に現像部材41に上記露光面の電位に対して現像剤の正規の帯電極性である所定の極性側の現像電圧を印加し、上記露光面が転写部P5を通過している間に転写部P5に上記露光面の電位との間の電位差の絶対値が放電開始電圧未満の転写電圧を印加し、上記露光面が帯電部P2を通過している間に帯電部材2に上記露光面の電位に対して上記所定の極性側の帯電電圧を印加するように制御する構成とする。
【選択図】図2
特許請求の範囲
【請求項1】
回転可能な感光体と、
前記感光体に当接して帯電部を形成し、回転している前記感光体の表面を帯電させる帯電部材と、
前記帯電部材に帯電電圧を印加する帯電電圧印加部と、
前記帯電部材により帯電された前記感光体の表面を露光して前記感光体の表面に静電潜像を形成する露光装置と、
前記感光体に当接して現像部を形成し、前記現像部において前記感光体の表面の静電潜像に所定の極性に帯電した現像剤を供給して前記感光体の表面に現像剤像を形成する現像部材と、
前記現像部材に現像電圧を印加する現像電圧印加部と、
前記感光体に当接して転写部を形成する転写部材と、
前記転写部に転写電圧を印加する転写電圧印加部と、
前記帯電電圧印加部、前記現像電圧印加部、前記転写電圧印加部及び前記露光装置を制御可能な制御部と、
を有し、
前記転写部で前記感光体から被転写体への現像剤像の転写を行う画像形成後に前記現像部材が前記感光体に当接した状態で前記感光体の回転が停止する画像形成装置において、
前記制御部は、画像形成後に前記感光体の回転が停止する前に前記感光体の表面を除電する除電動作を実行し、前記除電動作において、前記露光装置により前記感光体の表面を露光して前記感光体の表面に露光面を形成し、前記露光面が前記現像部を通過している間に前記現像部材に前記露光面の電位に対して前記所定の極性側の現像電圧を印加し、前記露光面が前記転写部を通過している間に前記転写部に前記露光面の電位との間の電位差の絶対値が放電開始電圧未満の転写電圧を印加し、前記露光面が前記帯電部を通過している間に前記帯電部材に前記露光面の電位に対して前記所定の極性側の帯電電圧を印加するように制御することを特徴とする画像形成装置。
続きを表示(約 2,800 文字)
【請求項2】
回転可能な感光体と、
前記感光体に当接して帯電部を形成し、回転している前記感光体の表面を帯電させる帯電部材と、
前記帯電部材に帯電電圧を印加する帯電電圧印加部と、
前記帯電部材により帯電された前記感光体の表面を露光して前記感光体の表面に静電潜像を形成する露光装置と、
前記感光体に当接して現像部を形成し、前記現像部において前記感光体の表面の静電潜像に所定の極性に帯電した現像剤を供給して前記感光体の表面に現像剤像を形成する現像部材と、
前記現像部材に現像電圧を印加する現像電圧印加部と、
前記感光体に当接して転写部を形成する転写部材と、
前記転写部に転写電圧を印加する転写電圧印加部と、
前記感光体に当接して配置され、前記感光体上から現像剤を除去するクリーニング部材と、
前記帯電電圧印加部、前記現像電圧印加部、前記転写電圧印加部及び前記露光装置を制御可能な制御部と、
を有し、
前記転写部で前記感光体から被転写体への現像剤像の転写を行う画像形成後に前記現像部材が前記感光体に当接した状態で前記感光体の回転が停止する画像形成装置において、
前記制御部は、画像形成後に前記感光体の回転が停止する前に前記感光体の表面を除電する除電動作を実行し、前記除電動作において、前記露光装置により前記感光体の表面を露光して前記感光体の表面に露光面を形成し、前記露光面が前記現像部を通過している間に前記現像部材に前記露光面の電位に対して前記所定の極性側の現像電圧を印加し、前記露光面が前記転写部を通過している間に前記転写部に転写電圧を印加し、前記露光面が前記帯電部を通過している間に前記帯電部材に前記露光面の電位に対して前記所定の極性側の帯電電圧を印加し、前記露光面が前記転写部を通過している間に前記転写部に印加する転写電圧を、前記露光面が前記帯電部を通過している間に前記帯電部材に印加する前記帯電電圧に対して前記所定の極性とは逆極性側とするように制御することを特徴とする画像形成装置。
【請求項3】
前記現像部材が前記感光体に当接した状態で前記感光体の回転が開始するように構成されており、
前記制御部は、前記感光体の回転が開始する前又は前記感光体の回転が開始するのと略同時に、前記現像部材に対する前記所定の極性とは逆極性の現像電圧の印加を開始するように制御することを特徴とする請求項1又は2に記載の画像形成装置。
【請求項4】
前記制御部は、画像形成時の現像電圧から前記除電動作において前記露光面が前記現像部を通過している間の現像電圧へと現像電圧を変更する際に、前記現像部における前記感光体の表面の電位と現像電圧との間の電位差を所定の範囲に維持するように、帯電電圧の絶対値及び現像電圧の絶対値をそれぞれ段階的に小さくする期間を設けるように制御することを特徴とする請求項1又は2に記載の画像形成装置。
【請求項5】
前記制御部は、前記期間に帯電電圧の絶対値を段階的に小さくした後、前記露光面が前記帯電部に到達する前に、帯電電圧の絶対値を大きくするように制御することを特徴とする請求項4に記載の画像形成装置。
【請求項6】
前記制御部は、前記除電動作が終了して前記感光体の回転が停止する前に、前記帯電部材に帯電電圧を印加しない状態で、前記露光装置により前記感光体の表面を露光して前記露光面を形成する期間を、少なくとも前記感光体の表面が前記帯電部から前記露光部まで移動するのにかかる時間分設けることを特徴とする請求項1又は2に記載の画像形成装置。
【請求項7】
回転可能な感光体と、
前記感光体に当接して帯電部を形成し、回転している前記感光体の表面を帯電させる帯電部材と、
前記帯電部材に帯電電圧を印加する帯電電圧印加部と、
前記帯電部材により帯電された前記感光体の表面を露光して前記感光体の表面に静電潜像を形成する露光装置と、
前記感光体に当接して現像部を形成し、前記現像部において前記感光体の表面の静電潜像に所定の極性に帯電した現像剤を供給して前記感光体の表面に現像剤像を形成する現像部材と、
前記現像部材を前記感光体に対して当接及び離間させる当接離間機構と、
前記感光体に当接して転写部を形成する転写部材と、
前記転写部に転写電圧を印加する転写電圧印加部と、
前記感光体に当接して配置され、前記感光体上から現像剤を除去するクリーニング部材と、
前記帯電電圧印加部、前記転写電圧印加部及び前記露光装置を制御可能な制御部と、
を有し、
前記転写部で前記感光体から被転写体への現像剤像の転写を行う画像形成後に前記当接離間機構により前記現像部材が前記感光体から離間された状態で前記感光体の回転が停止する画像形成装置において、
前記制御部は、画像形成後に前記感光体の回転が停止する前に前記感光体の表面を除電する除電動作を実行し、前記除電動作において、前記露光装置により前記感光体の表面を露光して前記感光体の表面に露光面を形成し、前記露光面が前記転写部を通過している間に前記転写部に転写電圧を印加し、前記露光面が前記帯電部を通過している間に前記帯電部材に前記露光面の電位に対して前記所定の極性側の帯電電圧を印加し、前記露光面が前記転写部を通過している間に前記転写部に印加する転写電圧を、前記露光面が前記帯電部を通過している間に前記帯電部材に印加する前記帯電電圧に対して前記所定の極性とは逆極性側とするように制御することを特徴とする画像形成装置。
【請求項8】
前記制御部は、前記除電動作において、前記露光面が前記帯電部を通過している間に前記帯電部材に前記露光面の電位に対して前記所定の極性側であり前記露光面の電位との間の電位差の絶対値が放電開始電圧以上の帯電電圧を印加するように制御することを特徴とする請求項1、2、7のいずれか1項に記載の画像形成装置。
【請求項9】
前記制御部は、前記除電動作において、前記露光面が前記転写部を通過している間に前記転写部に前記露光面の電位に対して前記所定の極性側の転写電圧を印加するように制御することを特徴とする請求項1、2、7のいずれか1項に記載の画像形成装置。
【請求項10】
前記制御部は、前記除電動作において、前記露光面が前記転写部を通過している間に前記転写部に前記露光面の電位に対して前記所定の極性とは逆極性側の転写電圧を印加するように制御することを特徴とする請求項1、2、7のいずれか1項に記載の画像形成装置。
(【請求項11】以降は省略されています)
発明の詳細な説明
【技術分野】
【0001】
本発明は、電子写真方式や静電記録方式を用いたプリンタ、複写機、ファクシミリ装置などの画像形成装置に関するものである。
続きを表示(約 1,600 文字)
【背景技術】
【0002】
従来、例えば電子写真方式を用いたプリンタなどの画像形成装置では、感光体の表面が帯電装置によって均一に帯電処理され、帯電処理された感光体の表面が露光装置によって露光されて感光体の表面に静電潜像が形成される。そして、感光体の表面に形成された静電潜像は、現像装置によって現像剤としてのトナーが供給されて現像され、感光体の表面にトナー像が形成される。
【0003】
回転可能な帯電ローラを感光ドラムに当接させ、帯電ローラの芯金に帯電バイアスを印加することで感光ドラムの表面を帯電処理する接触帯電方式のものが広く用いられている。接触帯電方式は、放電が少なく、感光ドラムの表面層(樹脂膜)の削れを抑制できるなどの利点を有する。
【0004】
また、予めトナーの表面に酸化ケイ素などの微粒子(外添剤)を添加しておくことで、トナーの流動性を向上させ、例えば現像装置内におけるトナーの循環を良化させることが広く行われている。
【0005】
しかしながら、特に、接触帯電方式において、この外添剤が帯電ローラの表面に過剰に付着した場合、帯電不良に起因する画像不良が発生することがある。これに対して、感光ドラムの表面を帯電ローラによる帯電処理の前に除電することで、感光ドラムの表面に付着したトナーが帯電ローラの表面へ付着することを抑制できることが知られている(特許文献1)。
【0006】
さらに、近年、画像形成装置の小型化が進む中、現像離間レス構成が広く採用されている。つまり、現像装置が備えた現像剤担持体としての現像ローラを感光ドラムに当接させて現像を行う接触現像方式を採用した画像形成装置において、現像ローラを感光ドラムに対して当接及び離間させる当接離間機構が設けられることがある。現像離間レス構成とは、この当接離間機構が設けられておらず、現像ローラと感光ドラムとが実質的に常に当接している構成のことをいう。そして、この現像離間レス構成において、感光ドラムの回転を開始する際に、トナーの正規の帯電極性とは逆極性の現像バイアスを現像ローラに印加することで、起動時のかぶりを軽減できることが知られている(特許文献2)。起動時のかぶりを抑制するためには、前の画像形成動作から所定の時間が経過し感光ドラムの表面電位が暗減衰する場合を想定して、適切な現像バイアスが設定される。あるいは、画像形成動作を終了する際に、感光ドラムの表面を除電してもよい(特許文献3)。これにより、前の画像形成動作からの経過時間の違いにより、起動時の感光ドラムの表面電位に大きな変化が生じることがなく、起動時に適切な現像バイアスを設定することができ、起動時のかぶりを抑制することができる。
【先行技術文献】
【特許文献】
【0007】
特開2009-192941号公報
特開2005-345915号公報
特開2020-160361号公報
【発明の概要】
【発明が解決しようとする課題】
【0008】
ところで、感光ドラムの表面を十分に除電するためには、除電動作の長さは、感光ドラムが1周回転する時間以上となるように設定することが望ましい。そして、一般には、除電した感光ドラムの表面が帯電部を通過する際に、帯電ローラには帯電バイアスは印加されない。
【0009】
しかしながら、この場合、感光ドラムの表面電位と帯電バイアスとの間の電位差が小さくなり、帯電ローラの表面への外添剤などの付着が抑制されなくなる。これにより、帯電不良に起因する画像不良が発生する場合がある。
【0010】
そこで、本発明の目的は、画像形成動作の後工程に起因した帯電部材への外添剤などの付着による画像弊害を抑制することである。
【課題を解決するための手段】
(【0011】以降は省略されています)
この特許をJ-PlatPat(特許庁公式サイト)で参照する
関連特許
キヤノン株式会社
容器
7日前
キヤノン株式会社
容器
13日前
キヤノン株式会社
トナー
16日前
キヤノン株式会社
撮像装置
13日前
キヤノン株式会社
撮像装置
7日前
キヤノン株式会社
現像装置
27日前
キヤノン株式会社
表示装置
7日前
キヤノン株式会社
測距装置
22日前
キヤノン株式会社
現像容器
27日前
キヤノン株式会社
現像装置
20日前
キヤノン株式会社
現像装置
27日前
キヤノン株式会社
測距装置
1日前
キヤノン株式会社
撮像装置
13日前
キヤノン株式会社
撮像装置
13日前
キヤノン株式会社
記録装置
13日前
キヤノン株式会社
現像容器
27日前
キヤノン株式会社
撮像装置
今日
キヤノン株式会社
液体収容体
2日前
キヤノン株式会社
液体収容体
1日前
キヤノン株式会社
画像形成装置
9日前
キヤノン株式会社
画像形成装置
7日前
キヤノン株式会社
画像形成装置
13日前
キヤノン株式会社
画像形成装置
14日前
キヤノン株式会社
電子写真装置
14日前
キヤノン株式会社
視線検出装置
1日前
キヤノン株式会社
画像形成装置
2日前
キヤノン株式会社
カートリッジ
27日前
キヤノン株式会社
画像処理装置
2日前
キヤノン株式会社
画像形成装置
23日前
キヤノン株式会社
印刷システム
15日前
キヤノン株式会社
画像形成装置
2日前
キヤノン株式会社
画像形成装置
10日前
キヤノン株式会社
画像形成装置
23日前
キヤノン株式会社
光電変換装置
10日前
キヤノン株式会社
画像形成装置
7日前
キヤノン株式会社
情報処理装置
9日前
続きを見る
他の特許を見る