TOP
|
特許
|
意匠
|
商標
特許ウォッチ
Twitter
他の特許を見る
公開番号
2025016119
公報種別
公開特許公報(A)
公開日
2025-01-31
出願番号
2023119178
出願日
2023-07-21
発明の名称
表示装置
出願人
豊田合成株式会社
代理人
個人
,
個人
主分類
G01S
7/03 20060101AFI20250124BHJP(測定;試験)
要約
【課題】表示装置が設けられる対象物の外観を向上させることができる表示装置を提供する。
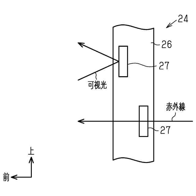
【解決手段】表示装置13は、透光パネル14と、透光パネル14の内側に配置されるとともに透光パネル14に光を照射することによって表示することを可能にした表示用光源と、表示用光源を収容するとともに透光パネル14側に開口部を有したハウジング16とを備える。透光パネル14は、透明樹脂基材21と、染料または顔料を含有する第1発色層23と、可視光を反射するとともに赤外線を透過させるコールドミラー薄膜によって構成されたフィラー27を含有する第2発色層24とを有する。第1発色層23は、特定波長の光の透過率が20%以上である。第2発色層24は、第1発色層23の染料または顔料で吸収されない波長の光の反射率が80%以下であるとともに、第1発色層23の染料または顔料で吸収される波長の光の透過率が60%以上である。
【選択図】図2
特許請求の範囲
【請求項1】
電磁波透過性を有するパネルに設けられる透光部と、前記透光部の内側に配置されるとともに前記透光部に光を照射することによって表示することを可能にした表示用光源と、前記表示用光源を収容するとともに前記透光部側に開口部を有したハウジングとを備え、
前記透光部は、透明樹脂基材と、染料または顔料を含有する第1発色層と、可視光を反射するとともに赤外線を透過させるコールドミラー薄膜によって構成されたフィラーを含有する第2発色層とを有し、
前記第1発色層は、特定波長の光の透過率が20%以上であり、
前記第2発色層は、前記第1発色層の染料または顔料で吸収されない波長の光の反射率が80%以下であるとともに、前記第1発色層の染料または顔料で吸収される波長の光の透過率が60%以上であることを特徴とする表示装置。
続きを表示(約 170 文字)
【請求項2】
前記ハウジングにおける前記透光部と対向する面には、光を反射し易くするための反射部が設けられていることを特徴とする請求項1に記載の表示装置。
【請求項3】
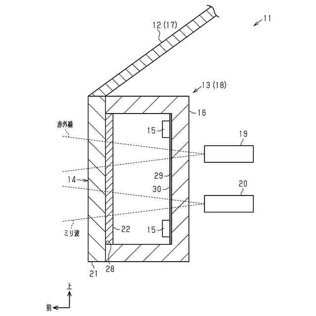
前記透光部は、赤外線の透過率が60%以上であり、且つミリ波の減衰率が3.0dB以下であることを特徴とする請求項1または請求項2に記載の表示装置。
発明の詳細な説明
【技術分野】
【0001】
本発明は、例えば車両などに搭載される表示装置に関する。
続きを表示(約 1,900 文字)
【背景技術】
【0002】
例えば車両に搭載される表示装置の一種として発光グリルが知られている(例えば、特許文献1参照)。こうした発光グリルは、透光性のアウタカバーと、アウタカバーの内側に配置された発光素子とを有している。発光グリルは、夜間に発光素子の光がアウタカバーを透過することによって発光する。
【先行技術文献】
【特許文献】
【0003】
特開2022-35593号公報
【発明の概要】
【発明が解決しようとする課題】
【0004】
ところで、発光グリルは、通常、日中に発光させることはない。発光グリルは、発光していない場合、太陽光などの外部からの光が照射されると、その光のうちの一部がアウタカバーを透過するとともに残りがアウタカバーで反射する。一方、車両において発光グリルに隣接するフードは、太陽光などの外部からの光が照射されると、その光のほとんどを反射する。このため、発光グリルの外観とフードの外観とが大きく異なってしまうので、発光グリルが設けられた車両の外観が低下するという課題がある。
【0005】
こうした課題は、車両に設けられる表示装置に限らず、例えば車両以外の移動体や建物の外壁などに設けられる表示装置においても概ね共通したものとなっている。
【課題を解決するための手段】
【0006】
以下、上記課題を解決するための表示装置の各態様を記載する。
[態様1]電磁波透過性を有するパネルに設けられる透光部と、前記透光部の内側に配置されるとともに前記透光部に光を照射することによって表示することを可能にした表示用光源と、前記表示用光源を収容するとともに前記透光部側に開口部を有したハウジングとを備え、前記透光部は、透明樹脂基材と、染料または顔料を含有する第1発色層と、可視光を反射するとともに赤外線を透過させるコールドミラー薄膜によって構成されたフィラーを含有する第2発色層とを有し、前記第1発色層は、特定波長の光の透過率が20%以上であり、前記第2発色層は、前記第1発色層の染料または顔料で吸収されない波長の光の反射率が80%以下であるとともに、前記第1発色層の染料または顔料で吸収される波長の光の透過率が60%以上であることを特徴とする表示装置。
【0007】
上記構成によれば、夜間には、表示用光源から透光部に光を照射することで、当該光が透光部を透過して外部に進むので、透光部の発光による表示を行うことができる。一方、昼間には、表示用光源から光を出さなくても、第1発色層及び第2発色層が外部からの光を適度に反射及び透過させるとともに外部から第1発色層及び第2発色層を透過した光をハウジングで反射させて透光部を通じて外部へ導くことができる。このため、透光部から外部に出て行く光の光量を増加させることができる。したがって、透光部から外部に出て行く光の光量を、例えば透光部に隣接して配置されるとともに外部からの光をほぼ100%反射する非透光部の一例としての非透光パネルから外部に放たれる光の光量に近づけることができる。この結果、透光部の外装色を非透光パネルの外装色に近づけることができるので、透光部と非透光パネルとの境界が目立ち難くなる。よって、表示装置が設けられる対象物の外観を向上させることができる。
【0008】
[態様2]前記ハウジングにおける前記透光部と対向する面には、光を反射し易くするための反射部が設けられていることを特徴とする[態様1]に記載の表示装置。
上記構成によれば、反射部により、ハウジング内に入った光を透光部に向けて効率的に反射することができる。このため、ハウジング内から透光部を透過して外部に出て行く光の光量をより一層増加させることができる。
【0009】
[態様3]前記透光部は、赤外線の透過率が60%以上であり、且つミリ波の減衰率が3.0dB以下であることを特徴とする[態様1]または[態様2]に記載の表示装置。
上記構成によれば、透光部の内側に赤外線センサやミリ波センサなどの電磁波センサを配置した場合に、透光部を赤外線センサやミリ波センサなどを覆うための電磁波透過カバーとして機能させることができる。
【発明の効果】
【0010】
本発明は、表示装置が設けられる対象物の外観を向上させることができるという効果がある。
【図面の簡単な説明】
(【0011】以降は省略されています)
この特許をJ-PlatPat(特許庁公式サイト)で参照する
関連特許
豊田合成株式会社
調光装置
8日前
豊田合成株式会社
着座装置
1か月前
豊田合成株式会社
殺菌装置
1か月前
豊田合成株式会社
半導体素子
1か月前
豊田合成株式会社
ガラスラン
27日前
豊田合成株式会社
ガラスラン
20日前
豊田合成株式会社
ガラスラン
20日前
豊田合成株式会社
車両用外装品
20日前
豊田合成株式会社
流体殺菌装置
1か月前
豊田合成株式会社
車両用内装品
22日前
豊田合成株式会社
機器制御装置
20日前
豊田合成株式会社
樹脂成形装置
28日前
豊田合成株式会社
車両用内装品
22日前
豊田合成株式会社
流体殺菌装置
1か月前
豊田合成株式会社
乗員保護装置
14日前
豊田合成株式会社
乗員保護装置
20日前
豊田合成株式会社
立体エアバッグ
1か月前
豊田合成株式会社
車両用投影装置
1日前
豊田合成株式会社
エアバッグ装置
14日前
豊田合成株式会社
空調用レジスタ
21日前
豊田合成株式会社
車両用照明装置
1日前
豊田合成株式会社
空調用レジスタ
21日前
豊田合成株式会社
電動液体ポンプ
20日前
豊田合成株式会社
電動液体ポンプ
20日前
豊田合成株式会社
電動液体ポンプ
20日前
豊田合成株式会社
電動液体ポンプ
20日前
豊田合成株式会社
電動液体ポンプ
20日前
豊田合成株式会社
立体エアバッグ
20日前
豊田合成株式会社
空調用レジスタ
21日前
豊田合成株式会社
車両の音出力装置
1日前
豊田合成株式会社
車両の音出力装置
24日前
豊田合成株式会社
把持検知システム
20日前
豊田合成株式会社
車両の前部構造体
8日前
豊田合成株式会社
把持検知システム
16日前
豊田合成株式会社
ステアリング装置
14日前
豊田合成株式会社
ステアリング装置
15日前
続きを見る
他の特許を見る