TOP
|
特許
|
意匠
|
商標
特許ウォッチ
Twitter
他の特許を見る
10個以上の画像は省略されています。
公開番号
2025085914
公報種別
公開特許公報(A)
公開日
2025-06-06
出願番号
2023199622
出願日
2023-11-27
発明の名称
ガス検出器
出願人
NISSHA株式会社
代理人
個人
,
個人
主分類
G01N
1/02 20060101AFI20250530BHJP(測定;試験)
要約
【課題】被験者以外の者が被験者に成り代って呼気を吹き込み難いガス検出器を提供する。
【解決手段】ガス検出器10は、マウスピース30を通して呼気流路12に呼気を吹き込むことにより、圧力センサー15が所定圧力以上の圧力を検出してコントローラーであるマイクロコンピューター40がガスセンサー16による検出を行える状態になり、マウスピース30を外すことによって呼気が漏れる隙間が吹込口18とデフレクター20との間に生じている状態で吹込口18に呼気を吹き込むと、圧力センサー15が所定圧力以上の圧力を検出せずにコントローラーがガスセンサー16による検出を行えない状態を維持するように構成されている。
【選択図】図3
特許請求の範囲
【請求項1】
吹込口、及び排気口を有し、被験者が吹き込む呼気の圧力で前記吹込口から前記排気口まで呼気が流れる呼気流路と、
前記呼気流路から分岐していて、前記呼気流路から呼気を採り入れる採取流路と、
前記吹込口の前に配置され、前記吹込口に向かう気流をそらせるデフレクターと、
前記呼気流路に着脱可能な特定の形状、及び装着時に前記デフレクターを内部に位置させる吹込流路を有し、前記吹込流路によって前記デフレクターを迂回させて前記吹込口に呼気を送り込む構造を有するマウスピースと、
前記採取流路に配置され、前記採取流路の空気の圧力を検出する圧力センサーと、
前記採取流路に配置され、前記採取流路に採り入れた呼気中の所定ガスの濃度を検出するガスセンサーと、
前記圧力センサー及び前記ガスセンサーに接続されているコントローラーと、
を備え、
前記マウスピースを通して前記呼気流路に呼気を吹き込むことにより、前記圧力センサーが所定圧力以上の圧力を検出して前記コントローラーが前記ガスセンサーによる検出を行える状態になり、
前記マウスピースを外すことによって呼気が漏れる隙間が前記吹込口と前記デフレクターとの間に生じている状態で前記吹込口に呼気を吹き込むと、前記圧力センサーが前記所定圧力以上の圧力を検出せずに前記コントローラーが前記ガスセンサーによる検出を行えない状態を維持するように構成されている、ガス検出器。
続きを表示(約 280 文字)
【請求項2】
前記呼気流路は、前記呼気流路の内壁に、前記吹込口から前記呼気流路の下流に向かって延びるリブを有する、
請求項1に記載のガス検出器。
【請求項3】
前記デフレクターにまで延びていて前記デフレクターを支持する支持突起を備え、
前記マウスピースは、前記支持突起が嵌るスリットを有する、
請求項1に記載のガス検出器。
【請求項4】
前記デフレクターは、前記吹込口から前記呼気流路が延びる方向に見て、前記吹込口と同じかそれよりも大きい外形を有する、
請求項1に記載のガス検出器。
発明の詳細な説明
【技術分野】
【0001】
本発明は、ガス検出器に関する。
続きを表示(約 3,400 文字)
【背景技術】
【0002】
従来から、生体情報測定装置の一種として、特許文献1に記載されているようなガス検出器が知られている。引用文献1に記載されているガス検出器は、例えば、呼気中のアルコール濃度を検出して飲酒による酩酊度を検査するといった用途に用いられる。特許文献1のガス検出器は、被験者がその吹込口に向けて呼気を吹き込むことで、吹込口を通じて導入された呼気がガスセンサーと接触して呼気に含まれるガスの濃度が検出される構造になっている。
【先行技術文献】
【特許文献】
【0003】
特開2022-22754号公報
【発明の概要】
【発明が解決しようとする課題】
【0004】
被験者が、正しく呼気をガス検出器に吹き込んで、例えば呼気中のアルコール濃度を検出することができれば、ガス検出器のデータを被験者の業務の安全管理などに役立てることができる。しかしながら、被験者以外の他者が被験者に代わってガス検出器に呼気を吹き込む行為が行われることが知られている。例えば、被験者が呼気中にアルコールを含むことを自覚している場合に、呼気中にアルコールをほとんど含まない他者が代わりに呼気をガス検出器に吹き込む、いわゆるなりすまし行為が行われることがある。
このようななりすまし行為には、被験者が咥えているストローとは異なる他のストローを他者が咥えて、他者が咥えた他のストローからガス検出器に他者の呼気を吹き込む行為の割合が多いようである。なりすまし行為が横行すると、例えば酒気を帯びたものが業務に携わるような状況が生じ、被験者が係わる業務の安全の確保が難しくなる。
【0005】
本発明の課題は、被験者以外の者が被験者に成り代って呼気を吹き込み難いガス検出器を提供することにある。
【課題を解決するための手段】
【0006】
以下に、課題を解決するための手段として複数の態様を説明する。これら態様は、必要に応じて任意に組み合せることができる。
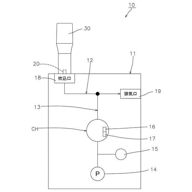
第1見地に係るガス検出器は、呼気流路と採取流路とデフレクターとマウスピースと圧力センサーとガスセンサーとコントローラーとを備える。呼気流路は、吹込口、及び排気口を有し、被験者が吹き込む呼気の圧力で吹込口から排気口まで呼気が流れる流路である。採取流路は、呼気流路から分岐していて、呼気流路から呼気を採り入れる流路である。デフレクターは、吹込口の前に配置され、吹込口に向かう気流をそらせる部材である。マウスピースは、呼気流路に着脱可能な特定の形状、及び装着時にデフレクターを内部に位置させる吹込流路を有し、吹込流路によってデフレクターを迂回させて吹込口に呼気を送り込む構造を有する。圧力センサーは、採取流路に配置され、採取流路の空気の圧力を検出するセンサーである。ガスセンサーは、採取流路に配置され、採取流路に採り入れた呼気中の所定ガスの濃度を検出するセンサーである。コントローラーは、圧力センサー及びガスセンサーに接続されている。ガス検出器は、マウスピースを通して呼気流路に呼気を吹き込むことにより、圧力センサーが所定圧力以上の圧力を検出してコントローラーがガスセンサーによる検出を行える状態になり、マウスピースを外すことによって呼気が漏れる隙間が吹込口とデフレクターとの間に生じている状態で吹込口に呼気を吹き込むと、圧力センサーが所定圧力以上の圧力を検出せずにコントローラーがガスセンサーによる検出を行えない状態を維持するように構成されている。
第1見地のガス検出器では、特定の形状を有するマウスピース以外の例えばストローなどの筒体で呼気を吹き込もうとすると、マウスピースを外すことになって呼気が漏れる隙間が吹込口とデフレクターとの間に生じている状態で吹込口に呼気を吹き込むことになる。その結果、圧力センサーが所定圧力以上の圧力を検出せずにコントローラーがガスセンサーによる検出を行えない状態になるので、被験者がマウスピースを使わずに被験者以外の者が成り代って呼気中の所定ガスの検出を受けるのが難しくなる。
【0007】
第2見地に係るガス検出器は、第1見地に係るガス検出器において、呼気流路は、呼気流路の内壁に、吹込口から呼気流路の下流に向かって延びるリブを有する、ように構成されている。このように構成された第2見地のガス検出器では、例えばストローなどの筒体を呼気流路に差し込むのをリブが邪魔するので、呼気が漏れる隙間が吹込口とデフレクターとの間に生じ易くなる。その結果、圧力センサーが所定圧力以上の圧力を検出せずにコントローラーがガスセンサーによる検出を行えない状態になり易く、被験者がマウスピースを使わずに被験者以外の者が成り代ってガスの検出を受けるのがさらに難しくなる。
第3見地に係るガス検出器は、第1見地または第2見地のガス検出器において、デフレクターにまで延びていてデフレクターを支持する支持突起を備え、マウスピースは、支持突起が嵌るスリットを有する、ように構成されている。このように構成された第3見地のガス検出器は、マウスピースのスリットの周囲を支持突起で支えることができ、マウスピースと吹込口の間に隙間ができ難く、圧力センサーが所定圧力以上の圧力を検出してコントローラーがガスセンサーによる検出を行える状態を実現し易くなる。
【0008】
第4見地に係るガス検出器は、第1見地から第3見地のいずれかのガス検出器において、デフレクターは、吹込口から呼気流路が延びる方向に見て、吹込口と同じかそれよりも大きい外形を有する。このように構成された第4見地のガス検出器では、吹込口から呼気流路が延びる方向においては、例えばストローなどの筒体を呼気流路に差し込むのをデフレクターが邪魔するので、呼気が漏れる隙間が吹込口とデフレクターとの間に生じ易くなる。その結果、圧力センサーが所定圧力以上の圧力を検出せずにコントローラーがガスセンサーによる検出を行えない状態になり易く、被験者がマウスピースを使わずに被験者以外の者が成り代ってガスの検出を受けるのがさらに難しくなる。
【発明の効果】
【0009】
本発明に係るガス検出器では、被験者以外の者が被験者に成り代って呼気を吹き込み難くなり、被験者が不正にガス検出器を使用するのを抑制することができる。
【図面の簡単な説明】
【0010】
被験者によるガス検出器の使用を説明するための図である。
第1実施形態に係るガス検出器を用いた管理に係わる機器の一例を示すブロック図である。
第1実施形態に係るガス検出器の呼気流路と採取流路を説明するための概念図である。
ガス検出器の側面図である。
図4のガス検出器のマウスピースが取り付けられた流路部品の側面図である。
図4のガス検出器のマウスピースが取り付けられた流路部品の平面図である。
マウスピースの側面図である。
マウスピースの入口の方から見たマウスピースの斜視図である。
マウスピースの出口の方から見たマウスピースの斜視図である。
図6のII-II線に沿って切断したマウスピースと流路部品の断面図である。
図5のI-I線に沿って切断したマウスピースと流路部品の断面図である。
流路部品の拡大平面図である。
図12のIII-III線に沿って切断した流路部品の断面図である。
流路部品にストローで吹き付けた呼気の気流を説明するための図である。
マウスピースで吹き込んだ呼気の気流を説明するための図である。
マウスピースを装着した流路部品の一部を拡大した拡大斜視図である。
マウスピースを取り外した流路部品の一部を拡大した拡大斜視図である。
デフレクターを取り除いた流路部品の一部を拡大した拡大斜視図である。
ガス検出器を用いる管理方法を説明するためのフローチャートである。
第2実施形態に係るガス検出器を用いた管理に係わる機器の一例を示すブロック図である。
【発明を実施するための形態】
(【0011】以降は省略されています)
この特許をJ-PlatPat(特許庁公式サイト)で参照する
関連特許
他の特許を見る