TOP
|
特許
|
意匠
|
商標
特許ウォッチ
Twitter
他の特許を見る
10個以上の画像は省略されています。
公開番号
2025179247
公報種別
公開特許公報(A)
公開日
2025-12-09
出願番号
2025157610,2024125544
出願日
2025-09-24,2020-09-23
発明の名称
高分子ゲル
出願人
シャープ株式会社
代理人
個人
,
個人
主分類
A61M
35/00 20060101AFI20251202BHJP(医学または獣医学;衛生学)
要約
【課題】外力を加えることなく、または僅かな外力の補助のみで、有効成分を身体の部位、体温、または熱、光などの刺激に応じて放出させる高分子ゲルを提供する。
【解決手段】高分子ゲルは、外部刺激の程度が第1レベル未満となる状態では疎水性を示し、前記外部刺激の程度が前記第1レベル以上となる状態では親水性を示す第1刺激応答性高分子を含む第1刺激応答性高分子ゲルと、外部刺激の程度が第2レベル未満となる状態では親水性を示し、前記外部刺激の程度が前記第2レベル以上となる状態では疎水性を示す第2刺激応答性高分子を含む第2刺激応答性高分子ゲルと、を備える。
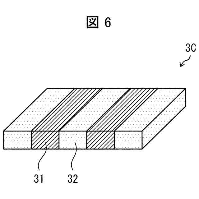
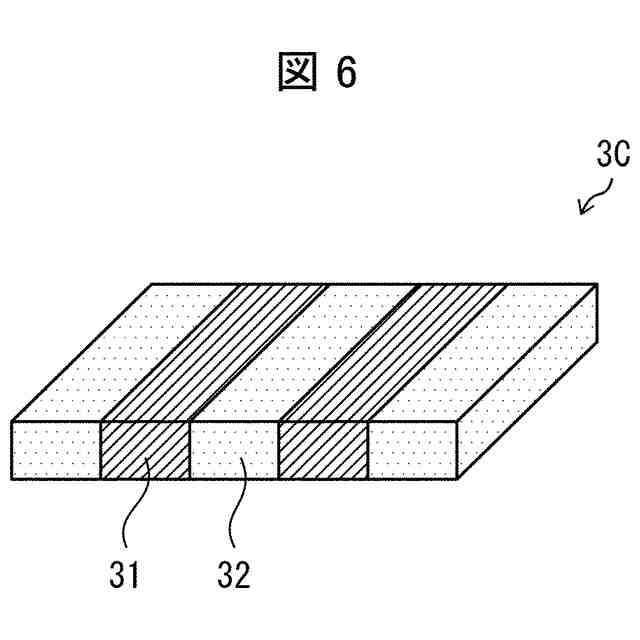
【選択図】図6
特許請求の範囲
【請求項1】
外部刺激の程度が第1レベル未満となる状態では疎水性を示し、前記外部刺激の程度が前記第1レベル以上となる状態では親水性を示す第1刺激応答性高分子を含む第1刺激応答性高分子ゲルと、
外部刺激の程度が第2レベル未満となる状態では親水性を示し、前記外部刺激の程度が前記第2レベル以上となる状態では疎水性を示す第2刺激応答性高分子を含む第2刺激応答性高分子ゲルと、を備える、
高分子ゲル。
続きを表示(約 630 文字)
【請求項2】
前記第1刺激応答性高分子ゲルは、第1親水性高分子を更に含む、
請求項1に記載の高分子ゲル。
【請求項3】
前記第1刺激応答性高分子ゲルは、有効成分を含む、
請求項1又は2に記載の高分子ゲル。
【請求項4】
前記第2刺激応答性高分子ゲルは、第2親水性高分子を更に含む、
請求項1~3のいずれか1項に記載の高分子ゲル。
【請求項5】
前記第2刺激応答性高分子ゲルは、有効成分を含む、
請求項1~4のいずれか1項に記載の高分子ゲル。
【請求項6】
前記有効成分は、皮膚に付与される、
請求項5に記載の高分子ゲル。
【請求項7】
前記第1レベルと前記第2レベルとは互いに異なる、
請求項1~6のいずれか1項に記載の高分子ゲル。
【請求項8】
前記第1レベルは、前記第2レベルよりも大きい、
請求項7に記載の高分子ゲル。
【請求項9】
前記第1刺激応答性高分子ゲル及び前記第2刺激応答性高分子ゲルは、並ぶように配置される、
請求項1~8のいずれか1項に記載の高分子ゲル。
【請求項10】
前記第1刺激応答性高分子ゲル及び前記第2刺激応答性高分子ゲルは、互いの間で水分の移動が可能となるように配置される、
請求項1~9のいずれか1項に記載の高分子ゲル。
発明の詳細な説明
【技術分野】
【0001】
本発明の一態様は、有効成分を含浸しうる塗布部材および有効成分を含浸した含浸材に関する。本願は、2019年9月27日に日本で出願された特願2019-177956号に基づき優先権を主張し、その内容をここに援用する。
続きを表示(約 1,600 文字)
【背景技術】
【0002】
従来、特許文献1に記載されているように、皮膚に化粧水などの液状成分を与えるために、スポンジなどの含浸材に液状成分を含浸させた製品が知られている。
【先行技術文献】
【特許文献】
【0003】
特開2009-292786号公報
【発明の概要】
【発明が解決しようとする課題】
【0004】
しかしながら、上述のような製品は、液状成分を含浸材から染みださせるために、含浸材を肌に押し付けたり、肌に擦りつけたりしなければならない。このため、敏感な肌に負担を与えるという問題がある。
【0005】
本発明の一態様は、外力を加えることなく、または僅かな外力の補助のみで、有効成分を身体の部位、体温、または熱、光などの刺激に応じて放出させることを目的とする。
【課題を解決するための手段】
【0006】
上記の課題を解決するために、本発明の一態様に係る高分子ゲルは、外部刺激の程度が第1レベル未満となる状態では疎水性を示し、前記外部刺激の程度が前記第1レベル以上となる状態では親水性を示す第1刺激応答性高分子を含む第1刺激応答性高分子ゲルと、外部刺激の程度が第2レベル未満となる状態では親水性を示し、前記外部刺激の程度が前記第2レベル以上となる状態では疎水性を示す第2刺激応答性高分子を含む第2刺激応答性高分子ゲルと、を備える。
【発明の効果】
【0007】
本発明の一態様によれば、外力を加えることなく、または僅かな外力の補助のみで、有効成分を身体の部位、体温、または熱、光などの刺激に応じて放出させることができる。
【図面の簡単な説明】
【0008】
本発明の実施形態1に係る含浸材の構成を示す斜視図である。
本発明の実施形態2に係る含浸材の構成を示す斜視図である。
本発明の実施形態3に係る含浸材の構成を示す斜視図である。
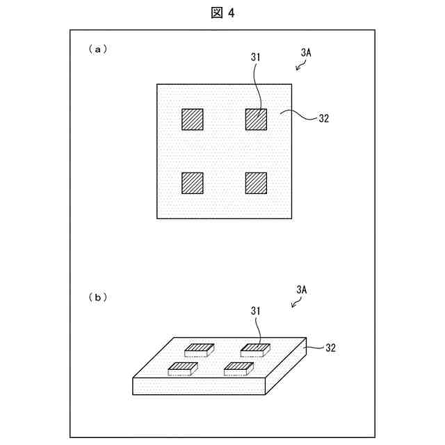
(a)は実施形態3に係る第1の変形例の含浸材の構成を示す平面図であり、(b)は当該含浸材の構成を示す斜視図である。
(a)は実施形態3に係る第2の変形例の含浸材の構成を示す平面図であり、(b)は当該含浸材の構成を示す斜視図である。
実施形態3に係る第3の変形例の含浸材の構成を示す斜視図である。
実施形態3に係る第4の変形例の含浸材の構成を示す斜視図である。
本発明の実施形態4に係る含浸材の構成を示す斜視図である。
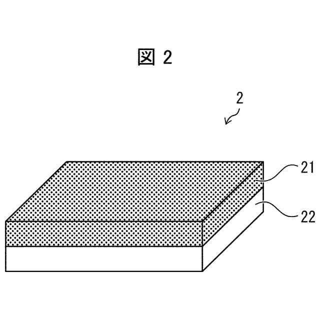
本発明の実施形態5に係る含浸材の構成を示す斜視図である。
本発明の実施形態6に係る塗布部材の構成を示す斜視図である。
【発明を実施するための形態】
【0009】
(刺激応答性高分子ゲル)
刺激応答性高分子ゲルは、外部刺激に応答して水との親和性が可逆的に変化する刺激応答性高分子と、親水性高分子とを含んでいる。刺激応答性高分子と、親水性高分子とは、相互浸入高分子網目(IPN:interpenetrating polymer network)構造またはセミ相互浸入高分子網目(セミIPN)構造あるいはランダム網目構造やブロック構造を形成している。
【0010】
ここで、相互浸入高分子網目構造とは、異なる種類の高分子が、いずれも架橋高分子であり、それぞれの高分子の架橋網目が化学的に結合することなく独立に存在する状態で相互に絡み合った構造をいう。また、セミ相互浸入高分子網目構造とは、異なる種類の高分子の一方が架橋高分子であり、他方が直鎖状高分子であり、それぞれの高分子が化学的に結合することなく、独立に存在する状態で相互に絡み合った構造をいう。
(【0011】以降は省略されています)
この特許をJ-PlatPat(特許庁公式サイト)で参照する
関連特許
シャープ株式会社
洗濯機
2日前
シャープ株式会社
冷蔵庫
今日
シャープ株式会社
照明管
6日前
シャープ株式会社
照明装置
6日前
シャープ株式会社
端末装置
1日前
シャープ株式会社
照明装置
6日前
シャープ株式会社
制御装置
6日前
シャープ株式会社
照明装置
13日前
シャープ株式会社
表示装置
今日
シャープ株式会社
加熱調理機
13日前
シャープ株式会社
捺染トナー
6日前
シャープ株式会社
リモコン装置
今日
シャープ株式会社
塵埃回収装置
8日前
シャープ株式会社
緩衝材および梱包体
8日前
シャープ株式会社
処理装置及び表示制御方法
今日
シャープ株式会社
表示装置、および表示方法
6日前
シャープ株式会社
情報処理装置及び情報処理方法
今日
シャープ株式会社
端末装置、および、基地局装置
1日前
シャープ株式会社
制御装置、及び、装置制御方法
13日前
シャープ株式会社
画像形成装置および画像形成方法
今日
シャープ株式会社
濃度検出方法および画像形成装置
6日前
シャープ株式会社
集塵ステーション及び塵埃回収装置
14日前
シャープ株式会社
表示装置の取付構造および表示装置
6日前
シャープ株式会社
通信機器および通信機器の制御方法
今日
シャープ株式会社
UE(User Equipment)
13日前
シャープ株式会社
UE(User Equipment)
13日前
シャープ株式会社
音声出力装置、端末装置及び情報処理方法
7日前
シャープ株式会社
通知制御装置、加湿装置及び通知制御方法
2日前
シャープ株式会社
端末装置、基地局装置、および、通信方法
1日前
シャープ株式会社
システム、サーバー、画像形成装置及びログイン方法
2日前
シャープ株式会社
映像データ処理装置、表示装置及び映像データ処理方法
6日前
シャープ株式会社
画像形成装置、印刷システム、画像形成方法及びプログラム
8日前
シャープ株式会社
高分子ゲル
2日前
シャープ株式会社
取り付け方法、検針システム、撮影装置、および透明弾性部材
13日前
シャープ株式会社
画像処理装置
今日
シャープ株式会社
フロー型電池セル
今日
続きを見る
他の特許を見る