TOP
|
特許
|
意匠
|
商標
特許ウォッチ
Twitter
他の特許を見る
10個以上の画像は省略されています。
公開番号
2025178798
公報種別
公開特許公報(A)
公開日
2025-12-09
出願番号
2024085612
出願日
2024-05-27
発明の名称
設計支援システム、設計支援方法およびプログラム
出願人
株式会社日立製作所
代理人
弁理士法人湘洋特許事務所
主分類
G06F
30/10 20200101AFI20251202BHJP(計算;計数)
要約
【課題】システムモデルの作成に関わるユーザの負担を軽減させ、かつ、ユーザの意図に沿った適切なシステムモデルを生成することができる。
【解決手段】 システムモデルに関するユーザの入力情報を解析する入力情報解析部と、前記入力情報の解析結果に基づき、複数種類のシステムモデルのテンプレートが登録されているシステムモデル情報から生成対象となるシステムモデルを特定するモデル候補特定部と、前記入力情報の解析結果に基づき、前記システムモデルの生成に用いる必要情報を設計に関する情報が格納されているデータベースから抽出する情報抽出部と、抽出された前記必要情報と、前記生成対象となるシステムモデルのテンプレートと、を用いて、前記入力情報に応じたシステムモデルを生成するシステムモデル生成部と、を備える。
【選択図】図1
特許請求の範囲
【請求項1】
システムモデルに関するユーザの入力情報を解析する入力情報解析部と、
前記入力情報の解析結果に基づき、複数種類のシステムモデルのテンプレートが登録されているシステムモデル情報から生成対象となるシステムモデルを特定するモデル候補特定部と、
前記入力情報の解析結果に基づき、前記システムモデルの生成に用いる必要情報を設計に関する情報が格納されているデータベースから抽出する情報抽出部と、
抽出された前記必要情報と、前記生成対象となるシステムモデルのテンプレートと、を用いて、前記入力情報に応じたシステムモデルを生成するシステムモデル生成部と、を備える
ことを特徴とする設計支援システム。
続きを表示(約 1,500 文字)
【請求項2】
請求項1に記載の設計支援システムであって、
前記システムモデル情報には、前記システムモデルを構成するサブモデル間の関係性が登録されており、
前記モデル候補特定部は、
前記生成対象のシステムモデルが複数のサブモデルから構成されている場合、前記システムモデル情報を用いて前記サブモデル間の関係性を特定し、相互に関連付けを行う
ことを特徴とする設計支援システム。
【請求項3】
請求項1に記載の設計支援システムであって、
前記システムモデル情報には、前記ユーザの属性に関する情報が登録されており、
前記入力情報解析部は、前記ユーザの属性に関する情報を含む前記入力情報を解析し、
前記モデル候補特定部は、前記入力情報の解析結果に基づき、前記ユーザの属性を考慮した前記システムモデルのテンプレートを前記システムモデル情報から特定する
ことを特徴とする設計支援システム。
【請求項4】
請求項1に記載の設計支援システムであって、
前記モデル候補特定部は、
前記システムモデル情報の登録内容と、前記入力情報の解析結果との類似度に基づき、前記システムモデル情報から生成対象となるシステムモデルを特定する
ことを特徴とする設計支援システム。
【請求項5】
請求項1に記載の設計支援システムであって、
前記入力情報解析部は、
前記ユーザの入力情報を自然言語処理により解析する
ことを特徴とする設計支援システム。
【請求項6】
請求項1に記載の設計支援システムであって、
前記システムモデル情報には、各システムモデルのイメージを示す画像情報が登録されており、
前記モデル候補特定部は、
前記生成対象となるシステムモデルの候補が複数ある場合、前記システムモデル情報を用いて、当該候補の前記システムモデルに対応する前記イメージの画像情報をユーザに提示し、ユーザが選択した前記システムモデルの候補を前記生成対象となるシステムモデルとして特定する
ことを特徴とする設計支援システム。
【請求項7】
請求項1に記載の設計支援システムであって、
前記情報抽出部は、生成AI(Artificial Intelligence)または機械学習に基づき生成された情報モデルである情報抽出モデルを用いて、前記必要情報を前記データベースから抽出する
ことを特徴とする設計支援システム。
【請求項8】
請求項7に記載の設計支援システムであって、
前記情報抽出部は、
前記入力情報の解析結果に基づいて前記情報抽出モデルに入力するプロンプトを特定し、
特定した前記プロンプトを前記情報抽出モデルに入力することで、前記必要情報を抽出する
ことを特徴とする設計支援システム。
【請求項9】
請求項1に記載の設計支援システムであって、
前記システムモデルは、MBSE(Model-Based Systems Engineering)である
ことを特徴とする設計支援システム。
【請求項10】
請求項2に記載の設計支援システムであって、
前記サブモデル間の関係性は、依存関係、集約関係、合成関係または汎化関係である
ことを特徴とする設計支援システム。
(【請求項11】以降は省略されています)
発明の詳細な説明
【技術分野】
【0001】
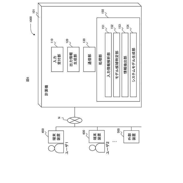
本発明は、設計支援システム、設計支援方法およびプログラムに関し、特に、製品設計に関わるシステムモデルの作成を支援する技術に関する。
続きを表示(約 1,900 文字)
【背景技術】
【0002】
近年、製品の複雑化に伴って製品設計も複雑化しており、例えば、電気回路や振動に対する強度などの複数領域の検討が必要になっている。また、製品設計は、製品の性能のみならず、環境性や信頼性あるいは安全性などの複数のKPI(Key Performance Index)を同時に満足しなければならない場合も多い。このような複雑化している製品設計の手法の一つとして、システムモデルの活用が提唱されている。
【0003】
システムモデルとは、製品に関する様々な領域を横断的に捉えてモデル化し、構造的に記述したものである。製品設計をシステムモデルで表現することにより、自然言語ゆえの表現の曖昧さや要素間の関係の曖昧さを排除することができ、より効率的な製品設計を期待できる。また、システムモデルを用いることで、例えば、設計変更が行われる際に、設計変更が既存の機能に及ぼす影響などが特定し易くなる。
【0004】
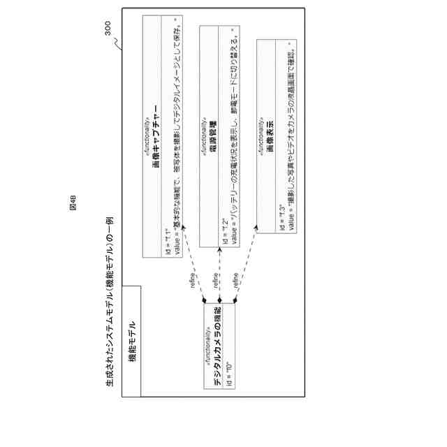
また、システムモデルの発展形としてMBSE(Model-Based Systems Engineering)がある。MBSEは、製品の部品構造、要求機能、ユースケース、設計パラメータ、内部処理のフローなど異なる領域の構成を相互に関連付け、SysML(Systems Modeling Language)などのモデリング言語で記述することによって視覚的に理解し易いイメージで表現することができる。
【0005】
一方で、MBSEモデルを含むシステムモデルの作成には、システムのモデリングに関する高度な専門知識が必要であり、多大な工数がかかるという課題がある。そのため、システムモデルの作成を支援するための技術が要望されている。
【0006】
なお、特許文献1には、システムモデルの作成に関する技術が開示されている。具体的には、特許文献1には、「モデルの作成に用いられるパラメタ、モデルの作成に用いられるツール、システムを構成する複数の部品についてのモデルテンプレート、それぞれを記憶する記憶装置を設け、ユーザから入力された指示内容に応じて、複数の部品のモデルテンプレート及びパラメタを読み出し、複数の部品のモデルテンプレートにパラメタを付与することによって各部品のモデルを作成し、ツールを読み出して実行することにより、複数の部品のモデルを組み合わせて一つのシステムのモデルを作成する」と記載されている。
【先行技術文献】
【特許文献】
【0007】
特開2006-343858号公報
【発明の概要】
【発明が解決しようとする課題】
【0008】
特許文献1の技術は、複数の部品のテンプレートモデルを用いて、各部品のテンプレートモデルにパラメータを付与することで、部品のシステムモデルを作成するものである。しかしながら、同文献の技術では、部品モデル以外のシステムモデルの作成に関しては考慮されていない。そのため、同文献の技術では、部品以外の領域(カテゴリ)に関するシステムモデルの作成や、複数領域に渡るサブモデルを関連付けたMBSEモデルの作成について、上記の課題を解決することが難しいと考えられる。
【0009】
本発明は、上記課題に鑑みてなされたものであり、システムモデルの作成に関わるユーザの負担を軽減させ、かつ、ユーザの意図に沿った適切なシステムモデルを生成することを目的とする。
【課題を解決するための手段】
【0010】
本願は、上記課題の少なくとも一部を解決する手段を複数含んでいるが、その例を挙げるならば、以下のとおりである。上記の課題を解決する本発明の一態様に係る設計支援システムは、システムモデルに関するユーザの入力情報を解析する入力情報解析部と、前記入力情報の解析結果に基づき、複数種類のシステムモデルのテンプレートが登録されているシステムモデル情報から生成対象となるシステムモデルを特定するモデル候補特定部と、前記入力情報の解析結果に基づき、前記システムモデルの生成に用いる必要情報を設計に関する情報が格納されているデータベースから抽出する情報抽出部と、抽出された前記必要情報と、前記生成対象となるシステムモデルのテンプレートと、を用いて、前記入力情報に応じたシステムモデルを生成するシステムモデル生成部と、を備える。
【発明の効果】
(【0011】以降は省略されています)
この特許をJ-PlatPat(特許庁公式サイト)で参照する
関連特許
株式会社日立製作所
冷却構造
7日前
株式会社日立製作所
演算装置
13日前
株式会社日立製作所
回転電機
13日前
株式会社日立製作所
軌条車両
7日前
株式会社日立製作所
電力変換装置
7日前
株式会社日立製作所
電力変換装置
8日前
株式会社日立製作所
工程設計装置
1日前
株式会社日立製作所
電力変換システム
21日前
株式会社日立製作所
劣化状態推定装置
今日
株式会社日立製作所
環境負荷算出装置
6日前
株式会社日立製作所
システム検証方法
1か月前
株式会社日立製作所
鉄道車両用空調装置
1か月前
株式会社日立製作所
診断装置及び診断方法
6日前
株式会社日立製作所
情報提示装置及び方法
6日前
株式会社日立製作所
分散電源管理システム
8日前
株式会社日立製作所
店舗管理装置および方法
1か月前
株式会社日立製作所
生産ライン設計システム
29日前
株式会社日立製作所
乗降床及び乗客コンベア
1か月前
株式会社日立製作所
施設管理装置および方法
21日前
株式会社日立製作所
情報処理装置および方法
今日
株式会社日立製作所
飲食店提案装置および方法
1か月前
株式会社日立製作所
検索システム及び検索方法
1か月前
株式会社日立製作所
実行ハードウエア決定方法
6日前
株式会社日立製作所
ソフトエラー率評価システム
22日前
株式会社日立製作所
生体認証装置、生体認証方法
1か月前
株式会社日立製作所
ソースコードを生成する方法
29日前
株式会社日立製作所
検証システムおよび検証方法
13日前
株式会社日立製作所
IT運用管理装置および方法
14日前
株式会社日立製作所
宇宙機、地上局及びアンテナ
21日前
株式会社日立製作所
モータ、及びロータ固定構造
13日前
株式会社日立製作所
膜分離設備設計支援システム
21日前
株式会社日立製作所
鉄道車両の排障器及び鉄道車両
8日前
株式会社日立製作所
設計支援装置及び設計支援方法
13日前
株式会社日立製作所
画像認識装置及び画像認識方法
今日
株式会社日立製作所
脆弱性分析装置、脆弱性分析方法
6日前
株式会社日立製作所
水素製造制御システムおよび方法
15日前
続きを見る
他の特許を見る