TOP
|
特許
|
意匠
|
商標
特許ウォッチ
Twitter
他の特許を見る
10個以上の画像は省略されています。
公開番号
2025177729
公報種別
公開特許公報(A)
公開日
2025-12-05
出願番号
2024084795
出願日
2024-05-24
発明の名称
現像装置、画像形成装置、現像剤収容体、及び現像剤充填方法
出願人
沖電気工業株式会社
代理人
個人
,
個人
,
個人
主分類
G03G
15/08 20060101AFI20251128BHJP(写真;映画;光波以外の波を使用する類似技術;電子写真;ホログラフイ)
要約
【課題】現像装置に収容されている初期の現像剤の量を増加させた場合であっても、媒体上に印刷された現像剤像の画像定着性を高くする。
【解決手段】現像装置(10)は、静電潜像を担持し、回転軸を中心として回転可能な像担持体(11)と、第1の現像剤(A)と第1の現像剤(A)よりも軟化点温度(T
1/2
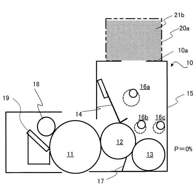
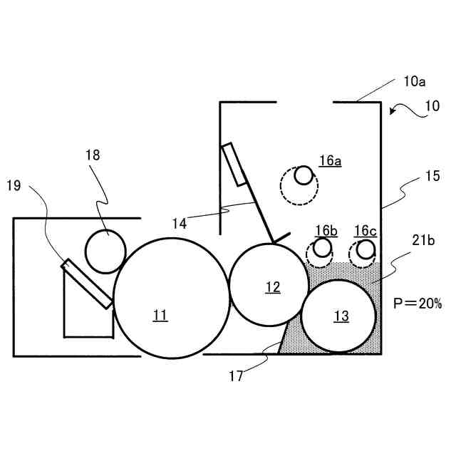
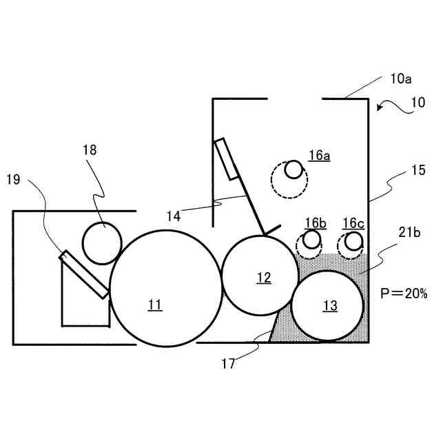
)の高い第2の現像剤(B)とが混合されている現像剤(21b)を収容している収容部(15)と、静電潜像を現像する現像剤担持体(12)と、を有し、現像剤(21b)における第1の現像剤(A)の第1の重量比率をαとし、現像剤(21b)における第2の現像剤(B)の第2の重量比率を1-αとしたときに、αは0.2以上で1未満であり、収容部(15)に収容可能な現像剤の最大重量(M)に対する収容部(15)に収容されている現像剤(21b)の重量(N)の重量百分率(P)は、20[%]以上である。
【選択図】図5
特許請求の範囲
【請求項1】
静電潜像を担持し、回転軸を中心として回転可能な像担持体と、
第1の現像剤と前記第1の現像剤よりも軟化点温度の高い第2の現像剤とが混合されている現像剤を収容している収容部と、
前記静電潜像を前記現像剤により現像する現像剤担持体と、
を有し、
前記現像剤における前記第1の現像剤の第1の重量比率をαとし、前記現像剤における前記第2の現像剤の第2の重量比率を1-αとしたときに、αは0.2以上で1未満であり、
前記収容部に収容可能な現像剤の最大重量に対する前記収容部に収容されている前記現像剤の重量の重量百分率は、20[%]以上である
ことを特徴とする現像装置。
続きを表示(約 1,000 文字)
【請求項2】
前記現像剤が収容される現像剤収容体をさらに備え、
前記現像剤収容体から前記収容部へ前記現像剤が供給される
ことを特徴とする請求項1に記載の現像装置。
【請求項3】
前記第1の重量比率αは、0.2以上で0.7以下である
ことを特徴とする請求項1又は2に記載の現像装置。
【請求項4】
前記重量百分率は、20[%]以上で70[%]以下である
ことを特徴とする請求項1又は2に記載の現像装置。
【請求項5】
前記第1の現像剤の第1のガラス転移温度は、43[℃]以上46[℃]以下であり、
前記第2の現像剤の第2のガラス転移温度は、57[℃]以上60[℃]以下である、
ことを特徴とする請求項1又は2に記載の現像装置。
【請求項6】
前記第1の現像剤の第1の軟化点温度は、123[℃]以上126[℃]以下であり、
前記第2の現像剤の第2の軟化点温度は、137[℃]以上140[℃]以下である、
ことを特徴とする請求項5に記載の現像装置。
【請求項7】
前記第2のガラス転移温度から前記第1のガラス転移温度を差し引いて得られた第1の差分は、11[℃]以上17[℃]以下である、
ことを特徴とする請求項5に記載の現像装置。
【請求項8】
前記第2の軟化点温度から前記第1の軟化点温度を差し引いて得られた第2の差分は、11[℃]以上17[℃]以下である、
ことを特徴とする請求項6に記載の現像装置。
【請求項9】
請求項1又は2に記載の現像装置を有する画像形成装置。
【請求項10】
現像剤を収容する収容部を有する現像装置に装着され、前記収容部内に供給される現像剤を収容している現像剤収容体において、
前記現像剤は、第1の現像剤と前記第1の現像剤よりも軟化点温度の高い第2の現像剤とが混合されており、
前記現像剤における前記第1の現像剤の第1の重量比率をαとし、前記現像剤における前記第2の現像剤の第2の重量比率を1-αとしたときに、αは0.2以上で1未満であり、
前記収容部に収容可能な現像剤の最大重量に対する前記収容部に収容されている前記現像剤の重量の重量百分率は、20[%]以上である
ことを特徴とする現像剤収容体。
(【請求項11】以降は省略されています)
発明の詳細な説明
【技術分野】
【0001】
本開示は、現像装置、現像装置を有する画像形成装置、現像装置に装着される現像剤収容体、及び現像装置又は現像剤収容体に現像剤を充填する現像剤充填方法に関する。
続きを表示(約 1,500 文字)
【背景技術】
【0002】
電子写真方式を用いる画像形成装置の現像装置(画像形成ユニット)には、感光体ドラムの表面に形成された静電潜像を現像するために使用される現像剤が収容されている(例えば、特許文献1を参照)。一般に、新品(例えば、購入直後)の現像装置に予め収容されている初期の現像剤は、現像装置に現像剤を補給するための現像剤収容体(トナーカートリッジ)に収容されている補給用の現像剤と特性が異なる場合がある。これは、現像装置に予め収容されている初期の現像剤には、長期間が経過した場合であっても特性が変化し難い性質が要求されるためである。
【0003】
そのため、初期の現像剤を用いて印刷された印刷物と、補給用の現像剤を用いて印刷された印刷物とでは画像定着性が異なる場合があるため、従来の現像装置では、予め収容されている初期の現像剤の量を少ない量に設定することで、初期の現像剤による印刷物と補給用の現像剤による印刷物との画像定着性の差を軽減させていた。
【先行技術文献】
【特許文献】
【0004】
特開2009-276660号公報
【発明の概要】
【発明が解決しようとする課題】
【0005】
しかしながら、現像装置に予め収容されている初期の現像剤の量を増やしたいという要求がある。初期の現像剤の量を増やした場合には、補給用の現像剤に入れ替わるまでの長い期間、画像定着性が劣る現像剤像が形成されるという課題があった。
【0006】
本開示は、初期の現像剤の高い保存性を確保しつつ、媒体上に印刷された現像剤像の画像定着性を高くすることができる現像装置、画像形成装置、現像剤収容体、及び現像剤充填方法を提供することを目的とする。
【課題を解決するための手段】
【0007】
本開示の現像装置は、静電潜像を担持し、回転軸を中心として回転可能な像担持体と、第1の現像剤と前記第1の現像剤よりも軟化点温度の高い第2の現像剤とが混合されている現像剤を収容している収容部と、前記静電潜像を前記現像剤により現像する現像剤担持体と、を有し、前記現像剤における前記第1の現像剤の第1の重量比率をαとし、前記現像剤における前記第2の現像剤の第2の重量比率を1-αとしたときに、αは0.2以上で1未満であり、前記収容部に収容可能な現像剤の最大重量に対する前記収容部に収容されている前記現像剤の重量の重量百分率は、20[%]以上であることを特徴とする。
【0008】
本開示の他の現像装置は、上記現像装置であって、前記現像剤が収容される現像剤収容体をさらに備え、前記現像剤収容体から前記収容部へ前記現像剤が供給されることを特徴とする。
【0009】
本開示の画像形成装置は、上記いずれかの現像装置を有することを特徴とする。
【0010】
本開示の現像剤収容体は、現像剤を収容する収容部を有する現像装置に装着され、前記収容部内に供給される現像剤を収容している収容体であって、前記現像剤は、第1の現像剤と前記第1の現像剤よりも軟化点温度の高い第2の現像剤とが混合されており、前記現像剤における前記第1の現像剤の第1の重量比率をαとし、前記現像剤における前記第2の現像剤の第2の重量比率を1-αとしたときに、αは0.2以上で1未満であり、前記収容部に収容可能な現像剤の最大重量に対する前記収容部に収容されている前記初期の現像剤の重量の重量百分率は、20[%]以上であることを特徴とする。
(【0011】以降は省略されています)
この特許をJ-PlatPat(特許庁公式サイト)で参照する
関連特許
沖電気工業株式会社
画像形成装置
1か月前
沖電気工業株式会社
画像形成装置
3日前
沖電気工業株式会社
処理システム
1か月前
沖電気工業株式会社
画像形成装置
1か月前
沖電気工業株式会社
画像形成装置
8日前
沖電気工業株式会社
画像形成装置
9日前
沖電気工業株式会社
媒体処理装置
3日前
沖電気工業株式会社
媒体処理装置
3日前
沖電気工業株式会社
媒体処理装置
3日前
沖電気工業株式会社
媒体処理装置
1か月前
沖電気工業株式会社
媒体処理装置
3日前
沖電気工業株式会社
定着装置及び画像形成装置
1か月前
沖電気工業株式会社
処理装置および処理システム
29日前
沖電気工業株式会社
情報処理システム及び応答制御装置
1日前
沖電気工業株式会社
画像形成装置および媒体種別報知方法
1か月前
沖電気工業株式会社
監視装置、監視プログラム及び監視方法
1日前
沖電気工業株式会社
通信装置、通信方法、及び通信プログラム
1か月前
沖電気工業株式会社
情報処理装置、情報処理方法およびプログラム
16日前
沖電気工業株式会社
画像形成装置、画像形成媒体及び画像形成方法
8日前
沖電気工業株式会社
情報処理システム、情報処理方法およびプログラム
1か月前
沖電気工業株式会社
現像剤収容体、画像形成ユニットおよび画像形成装置
1か月前
沖電気工業株式会社
情報処理装置、情報処理方法、及び情報処理システム
1か月前
沖電気工業株式会社
情報処理方法、情報処理プログラム及び情報処理システム
8日前
沖電気工業株式会社
現像装置、画像形成装置、現像剤収容体、及び現像剤充填方法
1日前
沖電気工業株式会社
画像形成装置、画像形成システム、状態提示方法、及び状態提示プログラム
1か月前
沖電気工業株式会社
情報処理装置、情報処理プログラム、情報処理方法、及び情報処理システム
29日前
沖電気工業株式会社
情報処理方法、情報処理プログラム、及び情報処理装置
29日前
個人
表示装置
1か月前
個人
雨用レンズカバー
1か月前
株式会社シグマ
絞りユニット
2か月前
日本精機株式会社
プロジェクタ
1日前
キヤノン株式会社
撮像装置
2か月前
日本精機株式会社
車両用投射装置
1か月前
キヤノン株式会社
撮像装置
2か月前
キヤノン株式会社
撮像装置
8日前
キヤノン株式会社
撮像装置
3か月前
続きを見る
他の特許を見る