TOP
|
特許
|
意匠
|
商標
特許ウォッチ
Twitter
他の特許を見る
10個以上の画像は省略されています。
公開番号
2025172881
公報種別
公開特許公報(A)
公開日
2025-11-26
出願番号
2025142434,2022530630
出願日
2025-08-28,2021-06-11
発明の名称
振動針装置及び振動針装置の作動方法
出願人
国立大学法人東北大学
代理人
個人
,
個人
,
個人
,
個人
,
個人
主分類
A61B
10/02 20060101AFI20251118BHJP(医学または獣医学;衛生学)
要約
【課題】針を容易に穿刺できる振動針装置及び針の挿入方法を提供する。
【解決手段】振動針装置1は、第1軸C1方向に延びる本体部11と、本体部11の一端に設けられ本体部11から第1軸C1方向に離間するにしたがい先細る先端部12と、を有する針10と、第1軸C1方向及び第1軸C1方向と交差する第2軸C2方向の少なくとも一方に沿って、5Hz以上15Hz以下の低周波数で針10を振動させる振動部20と、を備える振動針装置1であって、振動部20は、第1軸方向C1及び第2軸C2方向の少なくとも一方で、鋸歯状又は逆鋸歯状の振動波形となるように針10を振動させる。
【選択図】図1
特許請求の範囲
【請求項1】
第1軸方向に延びる本体部と、前記本体部の一端に設けられ前記本体部から第1軸方向に離間するにしたがい先細る先端部と、を有する針と、
前記第1軸方向及び前記第1軸方向と交差する第2軸方向の少なくとも一方に沿って、5Hz以上15Hz以下の低周波数で前記針を振動させる振動部と、
を備える振動針装置であって、
前記振動部は、前記第1軸方向及び前記第2軸方向の少なくとも一方で、鋸歯状又は逆鋸歯状の振動波形となるように前記針を振動させる振動針装置。
続きを表示(約 540 文字)
【請求項2】
前記振動部は、前記第1軸方向及び前記第2軸方向の両方で、鋸歯状又は逆鋸歯状の振動波形となるように前記針を振動させる請求項1に記載の振動針装置。
【請求項3】
前記振動部が前記針を振動させる周波数は、前記針の固有周波数と共振するように設定される請求項1又は2に記載の振動針装置。
【請求項4】
前記第2軸は、前記第1軸と直交する請求項1又は2記載の振動針装置。
【請求項5】
請求項1に記載の前記振動針装置の作動方法であって、
前記第1軸方向及び前記第2軸方向の少なくとも一方に、5Hz以上15Hz以下の低周波数で前記針を振動させる振動工程と、
前記針を振動させた状態で前記針の前記先端部を前記第1軸方向に移動させる移動工程と、
を備え、
前記振動工程では、前記第1軸方向及び前記第2軸方向の少なくとも一方で、鋸歯状又は逆鋸歯状の振動波形となるように前記針を振動させる振動針装置の作動方法。
【請求項6】
前記振動工程では、前記第1軸方向及び前記第2軸方向の両方で、鋸歯状又は逆鋸歯状の振動波形となるように前記針を振動させる請求項5に記載の振動針装置の作動方法
発明の詳細な説明
【技術分野】
【0001】
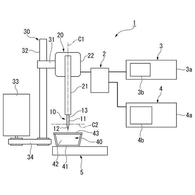
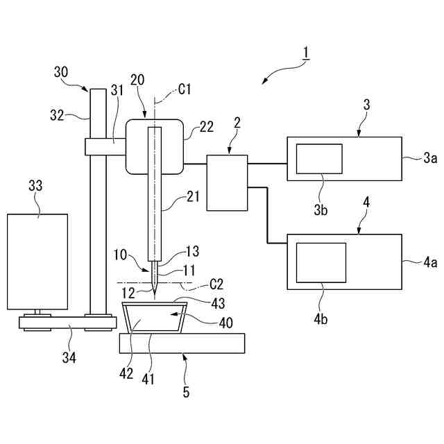
本発明は、振動針装置及び針の挿入方法に関する。本願は、2020年6月11日に出願された特願2020-101453号に対して優先権を主張し、その内容をここに援用する。
続きを表示(約 1,100 文字)
【背景技術】
【0002】
医療現場では、診療の際に経皮的針穿刺を用いることがある。
例えば下記特許文献1には、針の皮膚への穿刺時の痛みを低減できる穿刺ユニットが開示されている。
【先行技術文献】
【特許文献】
【0003】
特許第5835944号公報
【発明の概要】
【発明が解決しようとする課題】
【0004】
ところで、皮膚から体内の腫瘍へ針を挿入し、腫瘍を採集、焼灼、凍結する診療方法がある。針穿刺による診療方法は、開腹手術と比べて患者の負担を小さくできる。しかしながら、従来技術にあっては、針穿刺の対象物である臓器は体内で完全に固定されておらず、針の動きと共に移動するため、臓器等の対象物に針を正確に穿刺することは極めて困難であった。
【0005】
本発明は、針を容易に穿刺できる振動針装置及び針の挿入方法を提供することを目的とする。
【課題を解決するための手段】
【0006】
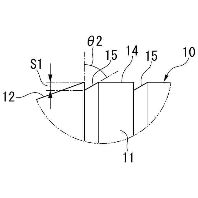
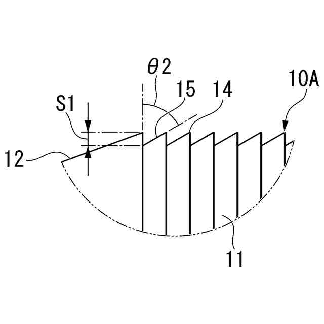
上記の課題を解決するために、本発明に係る振動針装置は、第1軸方向に延び前記第1軸周りの周方向の全周にわたって外周面に溝が形成された本体部と、前記本体部の一端に設けられ前記本体部から前記第1軸方向に離間するにしたがい先細る先端部と、を有する針と、前記第1軸方向及び前記第1軸方向と交差する第2軸方向に沿って前記針を振動させる振動部と、を備える。
【0007】
上記構成において、前記溝における前記針の基端部側の側面は、前記基端部側から前記先端部側に向かうにしたがい、前記第1軸と直交する径方向の内側に傾斜する。
【0008】
上記の課題を解決するために、本発明に係る振動針装置は、第1軸方向に延びる本体部と、前記本体部の一端に設けられ前記本体部から第1軸方向に離間するにしたがい先細る先端部と、を有する針と、前記第1軸方向及び前記第1軸方向と交差する第2軸方向の少なくとも一方に沿って、5Hz以上15Hz以下の低周波数で前記針を振動させる振動部と、を備える。
【0009】
上記構成において、前記振動部は、前記第1軸方向及び前記第2軸方向の少なくとも一方で、鋸歯状又は/及び逆鋸歯状の振動波形となるように前記針を振動させる。
【0010】
上記構成において、前記振動部は、前記第1軸方向及び前記第2軸方向の少なくとも一方で、矩形波状の振動波形となるように前記針を振動させる。
(【0011】以降は省略されています)
この特許をJ-PlatPat(特許庁公式サイト)で参照する
関連特許
国立大学法人東北大学
熱電材料
6か月前
国立大学法人東北大学
液晶装置
4か月前
国立大学法人東北大学
抗マラリア薬
29日前
国立大学法人東北大学
異物吸引装置
3か月前
国立大学法人東北大学
連携システム
5か月前
国立大学法人東北大学
認知機能改善剤
7か月前
国立大学法人東北大学
弾性表面波デバイス
21日前
国立大学法人東北大学
駆動装置及び移動体
1か月前
国立大学法人東北大学
重金属の不溶化方法
1か月前
国立大学法人東北大学
発電素子、発電装置
2か月前
国立大学法人東北大学
消化器癌の検出方法
7か月前
国立大学法人東北大学
通信回路及び変調方法
4か月前
国立大学法人東北大学
インフラマソーム阻害剤
2か月前
国立大学法人東北大学
チタン合金とその製造方法
2か月前
デンカ株式会社
模擬臓器
3か月前
国立大学法人東北大学
推定装置、及び、推定方法
1か月前
国立大学法人東北大学
推定装置、及び、推定方法
1か月前
国立大学法人東北大学
電解精製装置、電解精製方法
29日前
株式会社深松組
蓄熱システム
6か月前
大王製紙株式会社
吸収性物品
4か月前
国立大学法人東北大学
周波数選択透過性誘電体フィルタ
4か月前
リンナイ株式会社
浴室システム
5か月前
国立大学法人東北大学
熱電材料および熱電材料の製造方法
3か月前
国立大学法人東北大学
ペプチド又はその塩、ならびに核酸
7か月前
国立大学法人東北大学
脊髄梗塞治療のための多能性幹細胞
3か月前
株式会社C&A
金属部材および製品
5か月前
株式会社C&A
処理装置および方法
6か月前
住友化学株式会社
リチウム二次電池
5か月前
株式会社C&A
合金部材および製品
2か月前
株式会社C&A
金属部材および製品
5か月前
株式会社C&A
金属部材および製品
5か月前
富士産業株式会社
骨格筋分化促進剤
1か月前
株式会社タムラ製作所
遅延制御回路
5か月前
デンカ株式会社
医療用配管の保持器
3か月前
株式会社C&A
金属部材および製品
5か月前
株式会社C&A
金属部材および製品
5か月前
続きを見る
他の特許を見る