TOP
|
特許
|
意匠
|
商標
特許ウォッチ
Twitter
他の特許を見る
公開番号
2025112570
公報種別
公開特許公報(A)
公開日
2025-08-01
出願番号
2024006873
出願日
2024-01-19
発明の名称
医療用配管の保持器
出願人
デンカ株式会社
,
国立大学法人東北大学
,
広陵化学工業株式会社
代理人
園田・小林弁理士法人
主分類
A61J
1/14 20230101AFI20250725BHJP(医学または獣医学;衛生学)
要約
【課題】医療従事者の負担をより軽減する医療用配管の保持器を提供する。
【解決手段】表面と、裏面と、第1の側壁と、第2の側壁と、第3の側壁と、第4の側壁と、第1のスロット端部および第2のスロット端部を有する管スロットと、前記管スロットの前記第2のスロット端部と連通する第1の開口部と、を備えるブロックを具備する医療用配管の保持器であって、前記第2の側壁および前記第4の側壁のうち一方が雄型の嵌合部を備え、他方が前記雄型の嵌合部と嵌合自在な形状である雌型の嵌合部を備え、前記管スロットおよび前記第1の開口部が、前記表面および前記裏面を貫通し、前記第1の側壁が前記第1のスロット端部を含み、前記ブロックを前記表面に対向する側から見たときに、前記管スロットの幅が、前記第1のスロット端部から前記第2のスロット端部に向けて漸次狭くなっており、前記第1の開口部の幅が、その中心から、前記管スロットとの連通部分に向けて漸次狭くなっている、医療用配管の保持器とする。
【選択図】図1
特許請求の範囲
【請求項1】
表面と、
裏面と、
第1の側壁と、
第2の側壁と、
第3の側壁と、
第4の側壁と、
第1のスロット端部および第2のスロット端部を有する管スロットと、
前記管スロットの前記第2のスロット端部と連通する第1の開口部と、
を備えるブロックを具備する医療用配管の保持器であって、
前記第2の側壁および前記第4の側壁のうち一方が雄型の嵌合部を備え、他方が前記雄型の嵌合部と嵌合自在な形状である雌型の嵌合部を備え、
前記管スロットおよび前記第1の開口部が、前記表面および前記裏面を貫通し、
前記第1の側壁が前記第1のスロット端部を含み、
前記ブロックを前記表面に対向する側から見たときに、前記管スロットの幅が、前記第1のスロット端部から前記第2のスロット端部に向けて漸次狭くなっており、
前記第1の開口部の幅が、その中心から、前記管スロットとの連通部分に向けて漸次狭くなっている、医療用配管の保持器。
続きを表示(約 990 文字)
【請求項2】
前記ブロックが、伸縮装置接続部をさらに備え、前記伸縮装置接続部が、前記表面および前記裏面を貫通する第2の開口部、前記雄型の嵌合部または前記雌型の嵌合部である、請求項1に記載の医療用配管の保持器。
【請求項3】
前記ブロックを前記表面に対向する側から見たときに、前記第1の開口部は、前記管スロットの中心線よりも第4の側壁側に位置し、前記第1の開口部と、前記管スロットの中心線とが重なってない、請求項1または2に記載の医療用配管の保持器。
【請求項4】
前記第1の開口部の中心と前記連通部分の中点とを通る線分と、前記管スロットの中心線とのなす角度が45°~135°である、請求項1または2に記載の医療用配管の保持器。
【請求項5】
前記雄型の嵌合部または前記雌型の嵌合部を、それぞれ1つずつ備える、請求項1または2に記載の医療用配管の保持器。
【請求項6】
前記第1の開口部を1つのみ備える、請求項1または2に記載の医療用配管の保持器。
【請求項7】
コードと、前記コードの端部に設けられた係合部とを有し、前記コードが伸縮自在とされた伸縮装置をさらに具備し、前記係合部が前記ブロックに接続された、請求項1または2に記載の医療用配管の保持器。
【請求項8】
前記雄型の嵌合部が首部と突出部とを備え、
前記首部は前記第2の側壁と前記突出部を連結し、
前記首部の幅が、前記突出部の幅の50%よりも太く、
前記突出部は互いに相反する方向に向く突出端部を2つ備え、
前記突出部は前記第2の側壁とのなす角度が0°±10°に配置された、請求項1または2に記載の医療用配管の保持器。
【請求項9】
前記第1の側壁、前記第2の側壁、前記第3の側壁および前記第4の側壁と、前記表面または前記裏面とをつなぐ部分が面取りされた曲面である、請求項1または2に記載の医療用配管の保持器。
【請求項10】
前記ブロックを前記表面に対向する側から見たときに、前記第1の側壁および前記第3の側壁の各外周面が、互いに外方へ膨らむ凸型の曲面である、請求項1または2に記載の医療用配管の保持器。
(【請求項11】以降は省略されています)
発明の詳細な説明
【技術分野】
【0001】
本開示は、医療用配管の保持器に関する。
続きを表示(約 2,500 文字)
【背景技術】
【0002】
点滴管理は、医療従事者にとって大きな負担となっている。特に、多くの薬剤を用いて治療が行われる集中治療患者には複数の点滴が挿入されており、薬剤の投与経路を勤務者が明確に把握する必要があるだけでなく、日々の処置やケア、移動に伴い点滴同士が絡まり合うことで点滴を整理する必要が生じ、医療従事者にとって時間的、精神的負担が大きい。
そのため、点滴管理にかかる時間短縮とストレス軽減を図るために、簡便な点滴整理と点滴の絡まり予防を実現する医療用配管の保持器の開発が望まれており、これまでに特許文献1に記載されるような医療用配管の保持器が開発されている。
【先行技術文献】
【特許文献】
【0003】
特開2021-179249号公報
【発明の概要】
【発明が解決しようとする課題】
【0004】
しかしながら、特許文献1の保持器は、医療従事者の負担を十分に軽減するものではなかった。
【0005】
本開示は、医療従事者の負担をより軽減する医療用配管の保持器を提供することを課題とする。
【課題を解決するための手段】
【0006】
本開示は以下の態様を含む。
[1]表面と、裏面と、第1の側壁と、第2の側壁と、第3の側壁と、第4の側壁と、第1のスロット端部および第2のスロット端部を有する管スロットと、前記管スロットの前記第2のスロット端部と連通する第1の開口部と、を備えるブロックを具備する医療用配管の保持器であって、前記第2の側壁および前記第4の側壁のうち一方が雄型の嵌合部を備え、他方が前記雄型の嵌合部と嵌合自在な形状である雌型の嵌合部を備え、前記管スロットおよび前記第1の開口部が、前記表面および前記裏面を貫通し、前記第1の側壁が前記第1のスロット端部を含み、前記ブロックを前記表面に対向する側から見たときに、前記管スロットの幅が、前記第1のスロット端部から前記第2のスロット端部に向けて漸次狭くなっており、前記第1の開口部の幅が、その中心から、前記管スロットとの連通部分に向けて漸次狭くなっている、医療用配管の保持器。
【発明の効果】
【0007】
本開示によれば、医療従事者の負担をより軽減する医療用配管の保持器を提供することができる。
【図面の簡単な説明】
【0008】
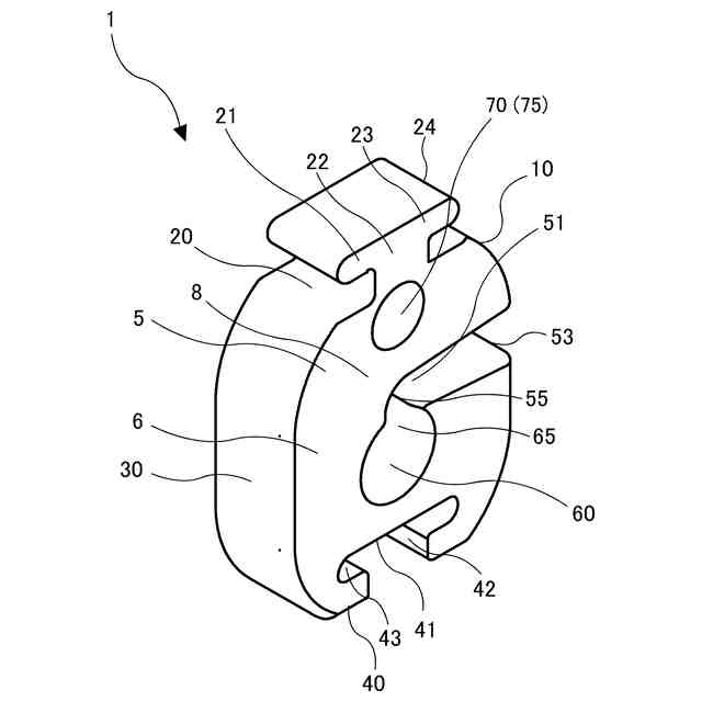
本実施形態に係る医療用配管の保持器を示す平面図である。
本実施形態に係る医療用配管の保持器を示す斜視図である。
本実施形態に係る管スロットおよび第1の開口部を示す拡大平面図である。
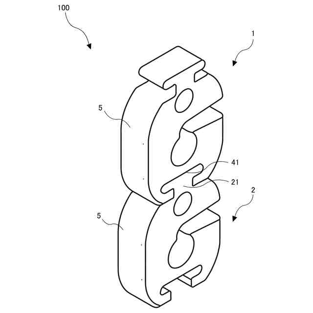
本実施形態に係る医療用配管の保持器セットを示す斜視図である。
本実施形態に係る医療用配管の保持器の使用形態を示す図である。
本実施形態に係る医療用配管の保持器の別の使用形態を示す図である。
本実施形態に係る医療用配管の保持器の別の使用形態を示す図である。
本実施形態に係る医療用配管の保持器の別の使用形態を示す図である。
【発明を実施するための形態】
【0009】
以下、本開示の一実施形態について詳細に説明するが、本開示の範囲はここで説明する一実施形態に限定されるものではなく、本開示の趣旨を逸脱しない範囲で種々の変更ができる。本明細書に開示された各々の態様は、本明細書に開示された他のいかなる特徴とも組み合わせることができる。また、特定のパラメータについて、複数の上限値および下限値が記載されている場合、これらの上限値および下限値の内、任意の上限値と下限値とを組合せて好適な数値範囲とすることができる。また、本開示に記載されている数値範囲の下限値および/または上限値は、その数値範囲内の数値であって、実施例で示されている数値に置き換えてもよい。数値範囲を示す「X~Y」との表現は、「X以上Y以下」であることを意味している。一実施形態について記載した特定の説明が他の実施形態についても当てはまる場合には、他の実施形態においてはその説明を省略している場合がある。
【0010】
図1および図2は、本開示の第一の実施形態の医療用配管の保持器1を示す図である。ここで、医療用配管3とは、点滴等の中空の医療用チューブだけでなく、医療機器の配線(電線等)等の中実の配管を含む。本実施形態において、医療用配管の保持器1は、ブロック5を具備し、ブロック5は、例えば、射出成形法により形成された、表面6と、裏面7との間に一定の厚みを有する板状のブロックであって、中壁8の周囲に第1の側壁10、第2の側壁20、第3の側壁30および第4の側壁40とを備えるものである。ブロック5を表面6に対向する側から見たときに、第1の側壁10および第3の側壁30の各外周面は、互いに外方へ膨らむ凸型の曲面に形成されている。本実施形態において、第1の側壁10、第2の側壁20、第3の側壁30および第4の側壁40と、表面6または裏面7とをつなぐ部分は、面取りされた曲面となっている。ブロック5の大きさは、5~200mm×5~250mm、10~150mm×10~200mmまたは10~100mm×10~120mmとすることができる。ブロック5の材料としては、例えば、高密度ポリエチレン(HDPE)、低密度ポリエチレン(LDPE)、ポリプロピレン(PP)、ポリ塩化ビニル(PVC)、ポリスチレン(PS)等の樹脂を挙げることができ、特に低密度ポリエチレン(LDPE)を好適に用いることができる。ブロック5は、これらの材料樹脂を少なくとも50質量%以上含むことが好ましく、70質量%以上含むことがより好ましく、90質量%以上含むことがさらに好ましい。ブロック5には、着色剤、その他添加剤などを添加することができる。着色剤としては、特に限定されないが、顔料、染料等を用いて、所望の色にすることができる。ブロック5は、通常の成形方法、例えば射出成形法、型抜き法によって製造することができる。
(【0011】以降は省略されています)
特許ウォッチbot のツイートを見る
この特許をJ-PlatPat(特許庁公式サイト)で参照する
関連特許
デンカ株式会社
容器
2か月前
デンカ株式会社
窓構造
1か月前
デンカ株式会社
蛍光体
2か月前
デンカ株式会社
モルタル材料
1か月前
デンカ株式会社
窒化ケイ素粉末
1か月前
デンカ株式会社
繊維束、及び布
1か月前
デンカ株式会社
窒化ケイ素粉末
1か月前
デンカ株式会社
窒化ケイ素粉末
1か月前
デンカ株式会社
継手及び継手付管
2か月前
デンカ株式会社
窓構造およびシート
1か月前
デンカ株式会社
重合体粒子の製造方法
1か月前
デンカ株式会社
磁性ビーズの製造方法
2か月前
デンカ株式会社
放熱部材および電子装置
1か月前
デンカ株式会社
シート及び食品包装容器
1か月前
デンカ株式会社
容器およびその製造方法
2か月前
デンカ株式会社
摩擦力可変体及び吸着具
1か月前
デンカ株式会社
放熱部材および電子装置
1か月前
デンカ株式会社
蛍光体、及びインク組成物
1か月前
デンカ株式会社
窒化ケイ素粉末の製造方法
1か月前
デンカ株式会社
窒化ホウ素粉末の製造方法
2か月前
デンカ株式会社
耐熱付与材及び樹脂組成物
1か月前
デンカ株式会社
積層シート及び食品包装容器
1か月前
デンカ株式会社
セラミックス粉末の製造方法
1か月前
デンカ株式会社
熱伝導性組成物及び電子機器
2か月前
デンカ株式会社
窒化ホウ素粉末、及び樹脂成形体
1か月前
デンカ株式会社
樹脂組成物および複合材料セット
1か月前
デンカ株式会社
樹脂組成物および複合材料セット
1か月前
デンカ株式会社
窒化ホウ素粉末、及び樹脂成形体
1か月前
デンカ株式会社
窒化ケイ素粉末、及びその製造方法
1か月前
デンカ株式会社
粉体急結材料及びコンクリート材料
2か月前
デンカ株式会社
蛍光体粉末、複合体および発光装置
2か月前
デンカ株式会社
窒化ケイ素粉末、及びその製造方法
1か月前
デンカ株式会社
容器の製造方法及び容器の製造装置
1か月前
デンカ株式会社
新規ポリロタキサン及びその製造方法
4日前
デンカ株式会社
無機粉末及びそれを用いた樹脂組成物
1か月前
デンカ株式会社
磁性ビーズおよび磁性ビーズの製造方法
2か月前
続きを見る
他の特許を見る